dahua IPC-EBW81242 Panoramic Fisheye Network Camera

Foreword
General
This manual introduces the functions, installation and operations of the camera.
Safety Instructions
The following categorized signal words with defined meaning might appear in the manual.
| Signal Words | Meaning |
| WARNING | Indicates a medium or low potential hazard which, if not avoided, could result in slight or moderate injury. |
| CAUTION | Indicates a potential risk which, if not avoided, could result in property damage, data loss, lower performance, or unpredictable result. |
| NOTE | Provides additional information as the emphasis and supplement to the text. |
Revision History
| Version | Revision Content | Release Date |
| V1.0.1 | Updated “Important Safeguards and Warnings.” | April 2021 |
| V1.0.0 | First release. | July 1, 2018 |
About the Manual
- The Manual is for reference only. If there is inconsistency between the manual and the actual product, the actual product shall prevail.
- We are not liable for any loss caused by the operations that do not comply with the manual.
- The manual would be updated according to the latest laws and regulations of related regions. For detailed information, see the paper manual, CD-ROM, QR code or our official website. If there is inconsistency between paper manual and the electronic version, the electronic version shall prevail.
- All the designs and software are subject to change without prior written notice. The product updates might cause some differences between the actual product and the manual. Please contact the customer service for the latest program and supplementary documentation.
- There still might be deviation in technical data, functions and operations description, or errors in print. If there is any doubt or dispute, please refer to our final explanation.
- Upgrade the reader software or try other mainstream reader software if the manual (in PDF format) cannot be opened.
- All trademarks, registered trademarks and the company names in the manual are the properties of their respective owners.
- Please visit our website, contact the supplier or customer service if there is any problem occurred when using the device.
- If there is any uncertainty or controversy, please refer to our final explanation.
Important Safeguards and Warnings
Electrical safety
- All installation and operation should conform to your local electrical safety codes.
- The power source shall conform to the Safety Extra Low Voltage (SELV) standard, and supply power with rated voltage which conforms to Limited Power Source requirement according to IEC60950-1. Please note that the power supply requirement is subject to the device label.
- Make sure the power supply is correct before operating the device.
- A readily accessible disconnect device shall be incorporated in the building installation wiring.
- Prevent the power cable from being trampled or pressed, especially the plug, power socket and the junction extruded from the device.
Environment
- Do not aim the device at strong light to focus, such as lamp light and sun light; otherwise it might cause over brightness or light marks, which are not the device malfunction, and affect the longevity of Complementary Metal-Oxide Semiconductor (CMOS).
- Do not place the device in a damp or dusty environment, extremely hot or cold temperatures, or the locations with strong electromagnetic radiation or unstable lighting.
- Keep the device away from any liquid to avoid damage to the internal components.
- Keep the indoor device away from rain or damp to avoid fire or lightning.
- Keep sound ventilation to avoid heat accumulation.
- Transport, use and store the device within the range of allowed humidity and temperature.
- Heavy stress, violent vibration or water splash are not allowed during transportation, storage and installation.
- Pack the device with standard factory packaging or the equivalent material when transporting the device.
- Install the device in the location where only the professional staff with relevant knowledge of safety guards and warnings can access. The accidental injury might happen to the non-professionals who enter the installation area when the device is operating normally.
Operation and Daily Maintenance
- Do not touch the heat dissipation component of the device to avoid scald.
- Carefully follow the instructions in the manual when performing any disassembly operation about the device; otherwise, it might cause water leakage or poor image quality due to unprofessional disassemble. Please make sure that the gasket ring is flat and properly installed in the groove before installing the cover. Please contact after-sale service for desiccant replacement if there is condensed fog found on the lens after unpacking or when the desiccant turns green. (Not all models are included with the desiccant).
- It is recommended to use the device together with lightning arrester to improve lightning protection effect.
- It is recommended connect the grounding hole to the ground to enhance the reliability of the device.
- Do not touch the image sensor (CMOS) directly. Dust and dirt could be removed with air blower, or you can wipe the lens gently with soft cloth that moistened with alcohol.
- Device body can be cleaned with soft dry cloth, which can also be used to remove stubborn stains when moistened with mild detergent. To avoid possible damage on device body coating which could cause performance decrease, do not use volatile solvent such as alcohol, benzene, diluent and so on to clean the device body, nor can strong, abrasive detergent be used.
- Dome cover is an optical component, do not touch or wipe the cover with your hands directly during installation or operation. For removing dust, grease or fingerprints, wipe gently with moisten oil-free cotton with diethyl or moisten soft cloth. You can also air blower to remove dust.
WARNING
- Please strengthen the protection of network, device data and personal information by adopting measures which include but not limited to using strong password, modifying password regularly, upgrading firmware to the latest version, and isolating computer network. For some device with old firmware versions, the ONVIF password will not be modified automatically along with the modification of the system password, and you need to upgrade the firmware or manually update the ONVIF password.
- Use standard components or accessories provided by manufacturer and make sure the device is installed and maintained by professional engineers.
- The surface of the image sensor should not be exposed to laser beam radiation in an environment where a laser beam device is used.
- Do not provide two or more power supply sources for the device unless otherwise specified. A failure to follow this instruction might cause damage to the device.
Introduction
Cable
Cable type might vary with different devices, and the actual product shall prevail. Please waterproof all the cable joints with insulating tape and waterproof tape to avoid short circuit and water damage. For detailed operation, see the FAQ Manual. 
For more information about cable ports, see Table 1-1.
Table 1-1 Cable information
| No. | Port Name | Description |
| 1 | 12V DC power input | Inputs 12V DC power. Please be sure to supply power as instructed in the Guide.
Device abnormity or damage could occur if power is not supplied correctly. |
| No. | Port Name | Description |
| 2 | Ethernet Port | l Connects to network with network cable. l Provides power to the device with PoE. PoE is available on select model. |
| 3 | Audio input | Connects to sound-pick-up device to receive audio signal. |
| 4 | Audio output | Connects to speaker to output audio signal. |
| 5 | Alarm I/O | Includes alarm signal input and output ports, the number of I/O ports Might vary on different devices. For detailed information, see |
Table 1-2 Alarm I/O port information
| Port name | No. | Connector name | Description |
|
I/O port | 1 | ALARM_OUT1 | Alarm output port 1 outputs alarm signal to alarm device.
When connecting to alarm device, only the ALARM_OUT 1 port and ALARM_OUT_GND 1 port with the same number can be used together. |
|
2 |
ALM_OUT_GND1 | ||
| 3 | ALARM_IN1 | Alarm input port 1 receives the switch signal of external alarm source. | |
| 4 | ALARM_IN2 | Alarm input port 2 receives the switch signal of external alarm source. | |
| 5 | ALM_IN_GND | Alarm input GND. | |
| 6 | ALARM_OUT2 | Alarm output port 2 outputs alarm signal to alarm device.
When connecting to alarm device, only the ALARM_OUT 2 port and ALARM_OUT_GND 2 port with the same number can be used together. | |
|
7 |
ALM_OUT_GND2 |
Connecting Alarm Input/output
Alarm input/output is available on select models.
- Step 1 Connect alarm input device to the alarm input end of the I/O port.
Device collects different states of alarm input port when the input signal is idling and being grounded. Device collects logic “1” when input signal connecting to 3.3V or idling; device collects logic “0” when input signal being grounded.
- Step 2 Connect alarm output device to the alarm output end of the I/O port. The alarm output is relay switch output, which can only connect to NO alarm devices.
The ALARM_OUT port and the ALM_OUT_GND port with the same number constitute a switch for alarm output, see Figure 1-3. The switch is open normally and closes when there is alarm output.
- Step 3 Log in web interface, and configure alarm input and alarm output in alarm setting.
- The alarm input in the web interface is corresponding to the alarm input end of the I/O port. There will be high level and low level alarm signal generated by the alarm input device when alarm occurs, set the input mode to NO if the signal is high level and to NC if the signal is low level.
- The alarm output in the web interface is corresponding to the alarm output end of the device, which is also the alarm output end of the I/O port.
Network Configuration
Device initialization and IP setting can be finished with the “ConfigTool” or in web interface. For more information, see the WEB Operation Manual.
- Device initialization is available on select models, and it is required at first use and after device is being reset.
- Device initialization is available only when the IP addresses of the device (192.168.1.108 by default) and the PC stays in the same network segment.
- Planning useable network segment properly to connect the device to the network.
- The following figures and interfaces are for reference only, and the actual product shall prevail.
Initializing Device
- Step 1 Double-click “ConfigTool.exe” to open the tool.
- Step 2

The Modify IP interface is displayed. See Figure 2-1.

- Step 3 Click Search setting. The Setting interface is displayed.
- Step 4 Enter the start IP and end IP of the network segment in which you want to search devices, and then click OK. All the devices found in the network segment are listed.
- Step 5 Select one or several devices whose Status is Uninitialized, and then click Initialize. The Device initialization interface is displayed
- Step 6 then click Initialize. The password setting interface is displayed. See Figure 2-2.

- Step 7 Set and confirm the password of the devices, and then enter a valid email address. Click Next. The final setting interface is displayed. Password can be modified or reset in System Settings.
- Step 8 Select the options according to your needs and then click OK. The Initialization interface is displayed after initializing is completed. Click the success icon ( ) or the failure icon ( ) for the details.
- Step 9 Click Finish. The device status in the Modify IP interface (Figure 2-1) turns to Initialized.
Modifying Device IP Address
- You can modify IP address of one or multiple devices in one time. This section is based on modifying IP addresses in batch.
- Modifying IP addresses in batch is available only when the corresponding devices have the same login password.
- Step 1 Do Step 1 to Step 4 in “2.1 Initializing Device” to search devices in your network segment. After clicking Search setting, please make sure the username and password are the same as what you set during initialization, otherwise there will be “wrong password” notice.
- Step 2 Select the devices whose IP addresses need to be modified, and then click Modify IP The Modify lIP Address interface is displayed. See Figure 2-3. Figure 2-3 Modify IP address interface

- Step 3 Select Static mode and enter start lP, subnet mask and gateway. P addresses of multiple devices will be set to the same if you select Same IP. If DHCP server is available in the network, devices will automatically obtain IP addresses from DHCP server when you select DHCP.
- Step 4 Click OK.
Logging in Web Interface
- Step 1 Open IE browser, enter the IP address of the device in the address bar and press Enter. If the setup wizard is displayed, follow the instructions to finish the settings.
- Step 2 Enter user name and password in the login box, and then click Login.
- Step 3 For first time login, click Click Here to Download Plugin and install the plugin as instructed. The main interface is displayed when the installation is finished. See Figure 2-4.
Figure 2-4 Main interface
Installation
Packing List
- The tools required for the installation including electric drill are not provided in the packing.
- The operation manual and related tool are contained in the disk or the QR code, and the actual packing shall prevail.

Dimension
Following figures are for reference only, the actual product shall prevail.

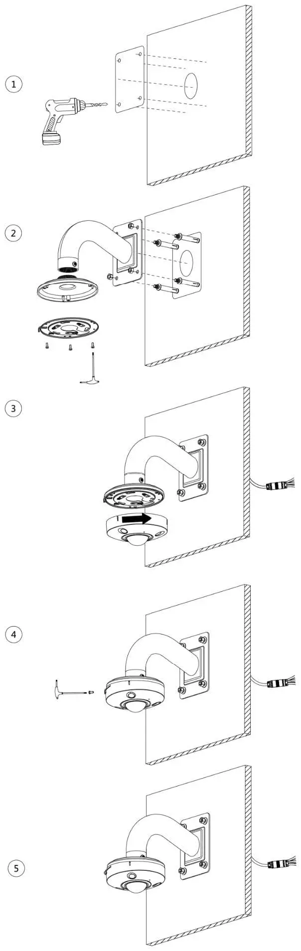
Installing Device
Installation Method
Installation Type
Covering Mode
Find the gap on the camera body; align it with the “TOP” on the corresponding quick mounting board, rotate the camera body clockwise to complete installation. 
Installing SD Card (Optional)
- SD card slot is available on select models.
- Please disconnect the power from the device before installing the SD card.

Press the reset button for 10 seconds to reset the device.
Attaching Device
- Make sure the mounting surface is strong enough to hold at least three times of the total weight of device and bracket.
- Connect the host grounding hole ( ) to ground wire, which can improve device reliability effectively. The ground hole is located next to the cable exit hole which is on the back of the bottom cover; the specification of grounding screw is M2.5.

Cable going through ceiling-mount
Cable going through wall-mount
Installing Waterproof Connector
This part is only needed when a waterproof connector comes with the device and the device is used outdoors. 



























