greenworks PC24B00 Power Cleaner

DESCRIPTION
PURPOSE
The machine is used to clean vehicles, boats, buildings, porches, decks, bicycles, and outdoor furniture. For residential use only, not for professional use, and for operation at temperatures above 32°F (0°C).
PRODUCT OVERVIEW

- 5-in-1 spray nozzle
- Spray wand
- Front handle
- Water inlet
- Battery compartment
- Trigger
- Garden hose adaptor
- Self-siphon hose
- Soap applicator
- Spray tip cleaning
- tool
PACKING LIST
- Main machine
- Detergent tank
- 5-in-I spray nozzle
- Water inlet connector
- Gun wand
- Self-siphon hose
- Spray tip cleaning tool
- Operator manual
GENERAL POWER TOOL SAFETY WARNINGS
- Read all the instructions before using the product.
- To reduce the risk of injury, close supervision is necessary when a product is used near children.
- Know how to stop the product and bleed pressure quickly. Be thoroughly familiar with the controls.
- Stay alert – watch what you are doing.
- Do not operate the product when fatigued or under the influence of alcohol or drugs.
- Keep operating area clear of all persons.
- Do not overreach or stand on unstable support. Keep good footing and balance at all times.
- Follow the maintenance instructions specified in the manual.
- Risk of Injection or Injury- DO NOT DIRECT DISCHARGE STREAM AT PERSONS
- Read all safety warnings and instructions. Failure to follow the warnings and instructions may result in electric shock, fire and/or serious injury.
- Prevent unintentional starting. Ensure the switch is in the off-position before connecting to battery pack, picking up or carrying the appliance. Carrying the appliance with your finger on the sWitch or energizing appliance that have the switch on invites accidents.
- Disconnect the battery pack from the appliance before making any adjustments, changing accessories, or storing appliance. Such preventive safety measures reduce the risk of starting the appliance accidentally.
- When battery pack is not in use, keep it away from other metal objects, like paper clips, coins, keys, nails, screws or other small metal objects, that can make a connection from one terminal to another. Shorting the battery terminals together may cause burns or a fire.
- Do not use a battery pack or appliance that is damaged or modified. Damaged or modified batteries may exhibit unpredictable behavior resulting in fire, explosion or risk of injury.
- Do not expose a battery pack or appliance to fire or excessive temperature. Exposure to fire or temperature above 265°F may cause explosion.
- Follow all charging instructions and do not charge the battery pack or appliance outside of the temperature range specified in the instructions. Charging improperly or at
- temperatures outside of the specified range may damage the battery and increase the risk of fire.
- Have servicing performed by a qualified repair person using only identical replacement parts .This will ensur that the safety of the product is maintained.
- Do not modify or attempt to repair the appliance or the battery pack (as applicable) except as indicated in the instructions for use and care.
RISK LEVELS
The following signal words and meanings are intended to explain the levels of risk associated with this product.
| SYM- BOL | SIGNAL | MEANING |
| DANGER | Indicates an imminently haz- ardous situation, which, if not avoided, will result in death or serious injury. | |
| WARNfNG | Indicates a potentially hazard- ous situation, which, if not avoided, could result in death or serious injury. |
| SYM- BOL | SIGNAL | MEANING |
| CAUTION | Indicates a potentially hazard ous situation, which, if not avoided, may result in minor or moderate inju ry. | |
| CAUTION | (Without Safety Alert Sym bol) Indicates a situation that may result in property dam age. |
RECYCLE
Separate collection. You must not discard with usual household waste. If it is necessary to replace the machine, or if it is no more use to you, do not discard it with household waste.
Separate collection of used machine and packaging let you recycle materials and use them again. Use of the recycled materialshelps prevent environmental pollution and decreases the requirements for raw materi- als.
At the end of their useful life, discard batter- ies with a precaution for our environment. The battery contains material that is danger- ous to you and the environment. You must remove and discard these materials separately at a location that accepts lithium-ion bat- teries.
INSTALLATION
UNPACK THE MACHINE
WARNING
Make sure that you correctly assemble the machine before use.
WARNING
- If parts of the machine are damaged, do not use the machine.
- If you do not have all the parts, do not operate the machine.
- If parts are damaged or missing, contact the service center.
- Open the package.
- Read the documentation provided in the bOx.
- Remove all the unassembled parts from the box.
- Remove the machine from the box.
- Discard the box and packing material in compliance with local regulations.
INSTALL THE SPRAY WAND

- Push the end of the spray wand (2) into the gun handle (1).
- Turn the spray wand (2) counter-clockwise until the tabs lock into position.
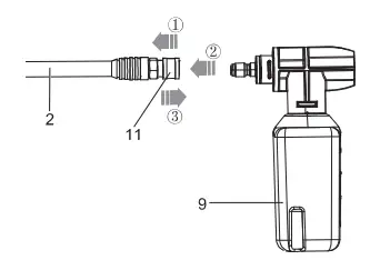
INSTALL THE NOZZLE
WARNING
Before you change the nozzle:
- Pull the spray gun trigger to release water pressure.
- Lock, the trigger safety button on the gun.
- Stop the machine.
WARNING
Do not point the spray wand (2) at your face or others.
- Pull back the quick-connect collar (11) on the spray wand (2).
- Install the nozzle (1) onto the spray wand (2).
- Release the quick-connect collar to attach the nozzle (1).
INSTALL THE BATTERY PACK
- Pull back on the hinge lock lever (12).
- Unhook the hinge (12) from the battery door (13).

- Open the battery door (13).
- Align the lift ribs on the battery pack with the grooves in the battery compartment.
- Push the battery pack into the battery compartment until the battery pack locks into place.
- When you hear a click, the battery pack is installed.
- Close the battery door (13) and lock the hinge (12).

REMOVE THE BATTERY PACK
- Push and hold the battery release button (14).
- Remove the battery pack from the machine.
USE THE SELF-SIPHON HOSE
- Add water to the bucket.

- Insert one end of the self-siphon hose (8) into the water inlet coupler (4).

- Put the other end of the self-siphon hose into the bucket (not included).

NOTE: The siphon kit can also be used in any fresh water source: Swimming Pool, Pond, Lake, or River.
USE THE GARDEN HOSE
For easy operation, please use a self-coiling garden hose (not provided).
WARNING
When you operate the self-coiling hose, make sure that the hose has no blockage.
WARNING
- The water supply must come from the water main
- Do not use hot water
WARNING
Follow the local regulations when you connect the garden hose to the water supply. Direct connection through a receiver tank or backflow preventer is usually permitted.
CAUTION
Inspect the filter in the water inlet connector before you connect the garden hose
- If the filter is damaged, do not use the machine until the filter is replaced.
- If the filter is dirty, clean the filter.
NOTE
The garden hose adaptor is used to connect the garden hose (not provided) to your machine.
- Push the garden hose adaptor (7) onto the water inlet coupler until it is tight.

- Uncoil the garden hose.
- Install and tighten the end of the garden hose to the water
- inlet connector.
- Turn the water supply off.

OPERATION
WARNING
Make sure that all the connections are tight and have no leakage before operation.
USE THE POWER CLEANER
NOTE
For safe control, keep your hands on the power cleaner at all times.
- Push the lock-out button (15) into the slot, pull and hold the trigger (6) to start the machine.
- Release the trigger (6) to stop water flow through the spray nozzle.
- Push out the lock-out button to lock the trigger.
ADJUST THE SPRAY NOZZLE
WARNING
Before you adjust the spray nozzle:
- Pull the spray gun trigger to release water pressure.
- Stop the machine.
WARNING
Do not point the spray wand at your face or others.
- Rotate the spray nozzle to adjust the spray setting (1).
5-IN-1 NOZZLE
| Mode | APPLICATION |
| I o· | Stream mode (0°) The O degree mode provides a straight line of spray. It provides the highest amount of pressure. It is best used for removing hard, stuck-on grime or dirt. |
| Mode | APPLICATION |
| ‘15′ | Narrow fan mode (15°) This mode provides high versatility with 15 degree angle. It provides ade quate pressure to remove dirt from surfaces, but is designed to not dam age many surfaces. This mode is de signed for “sweepin g” foliage or deb ris given its wide ang le . This mode is versatile due to its wide area of cleaning and strong pressure applica tion. |
| Narrow fan mode (25°) This mode provides high versatility with 25 degree angle. It provides ade quate pressure to remove dirt from surfaces, but is designed to not dam age many surfaces. This mode is de signed for “sweeping” foliage or deb ris given its wide angle. This mode is versatile due to its wide area of cleaning and strong pressure applica tion. | |
| Wide fan mode (40° ) The white 40 degree tip, referred to as the “fan ” tip creates the widest area of cleaning with relatively low pressure. This mode is best used for light or delicate cleaning applica tions. It is recommended for light cleaning on wood decks and other soft or delicate surfaces. | |
| ‘ | Watering mode The mode is used for watering appli cation. Watering is applied under low pressure high volume for optimum perfonnance. Watering cannot be ap plied under high pressure with this machine. |
INSTALL THE SOAP APPLICATOR
WARNING
Do not use household detergents, acids, alkalines, bleaches, solvents, flammable material, or industrial-grade solutions, which can do damage to the pump.
WARNING
Do the instructions on the solution bottle to prepare detergent.
NOTE
If it is necessary, use a funnel to prevent the spill of detergent. Clean and dry the spilled detergent when you fill it.
- Pour the detergent into the soap applicator.

- Install the soap applicator onto the gun wand.
- Turn clockwise the gun to tighten.
NOTE
Do not let detergent dry on the surface to prevent streaks.
MAINTENANCE
WARNING
Before repairs and maintenance, please remove the battery pack from the machine.
- Before each use, please check the machine and parts for damage. If you find any damage to the machine or parts, please stop using the machine and contact the supplier or manufacturer to replace the parts.
- Remove the filter cover first. Then remove the dirt on the filter, rinse the parts with clean water, and finally put the cover back.
STORE THE MACHINE
- Please wipe the body with a soft brush or clean cloth. Do not use water, solvents or polishing agents. Keep the machine in a safe, dry place, out of reach of children. Do not place other objects on the machine.
- When storing the machine and accessories, take care to prevent frost.
TROUBLESHOOTING
| PROBLEM | POSSIBLE CAUSE | SOLUTION |
| The machine is started, the pres- sure is insufficient. | Water pipe filter is blocked | Remove the water pipe filter and clean up debris with water |
| Bad connection between equip- ment water pipe and machine | Check and rein- stall the water pipe | |
| The pump, water pipe or other ac- cessories are fro- zen | Use after thawing | |
| The siphon hose is kinked | Straighten the si- phon hose | |
| Multi-function nozzle is leaking | The nozzle spray mode does not ro- tate in place | Make sure the nozzle mode icon and the indicator line are aligned |
| The nozzle fixing nail is loose | Tighten the nozzle | |
| The outlet pres- sure suddenly in- creased | The multi-function nozzle is blocked | Clean the nozzle or use a new noz- zle |
| Water flows out after the machine is turned off | Water remains in the pump after the machine is shut down | Drain the water completely before storing |
| The detergent tank cannot spray deter- gent | The detergent tank is blocked | Wash with water |
|
The machine doesn’t work | The battery pack is not installed prop- erly | Reinstall the bat- tery pack by push- ing the battery firmly in place. |
| The battery pack is out of power | Replace with a new battery pack or charge the bat- tery pack | |
| The battery pack is defective | Replace the bat- tery pack |
TECHNICAL DATA
| Rated Voltage | 24V; Cordless, battery powered |
| Max. Pounds Per Square Inch Pressure | 600 PSI |
| Max . Gallons Per Minute | 0.8 GPM |
| Maximum Inlet Water Temper- ature | 104 °F (40 °C) |
| Cleaning Units | 480 c.u. |
| Weight (without battery pack) | 5.63 lbs. (2.56 kg) |
| Battery Mode | BAG701 / BAG702 / BAG708/BAG709/ BAG710/BAG711/ BAG714/ BAG7 l 5/29842/2902702 and other BAG series |
| Charge Mode | 29972/2903102/CAG80II CAG817/CAG812and oth er CAG series |
LIMITED WARRANTY
Greenworks hereby warranties this product, to the original purchaser with proof of purchase, for a period of three (3) years against defects in materials, parts or workmanship. Greenworks, at its own discretion, will repair or replace any and all parts found to be defective, through normal use, free of charge to the customer. This warranty is valid only for units that have been used for personal use that have not been purchased or rented for industrial/commercial use, and that have been maintained in accordance with the instructions in the owners’ manual supplied with the product when new.
ITEMS NOT COVERED BY WARRANTY:
- Any part that has become inoperative due to misuse, commercial use, abuse, neglect, accident, improper maintenance, or alteration; or
- The unit, if it has not been operated and/or maintained in accordance with the owner’s manual; or
- Normal wear;
- Routine maintenance items such as lubricants, blade sharpening;
- Normal deterioration of the exterior finish due to use or exposure.
HELPLINE:
Warranty service is available by calling our toll-free helpline at 1-888-909-6757.
TRANSPORTATION CHARGES:
Transportation charges for the movement of any power equipment unit or attachment are the responsibility of thepurchaser. It is the purchaser’s responsibility to pay transportation charges for any part submitted for replacement under this warranty unless such return is requested in writing by Greenworks.
USA address:
Greenworks Tools
P.O. Box 1238
Mooresville, NC 28115
Canadian address:
Greenworks Tools Canada, Inc.
P.O. Box 93095, Newmarket,
Ontario
L3Y 8K3
EXPLODED VIEW

| No. | Part No. | Description | Qty. |
| Cl 107178-00 | 5-in- l spray nozzle | ||
| 2 | C1107024-00 | Spray wand assy | |
| 3 | Cl 100521-00 | Water inlet connector assy | |
| 4 | Cll07642-00 | Power Cleaner assy | |
| 5 | C1104825-00 | Self-siphon hose assy | |
| 6 | Cll04657-00 | Detergent tank | |
| 7 | 33201671 | Spray tip cleaning tool |



























