greenworks VUG403 Vacuum Cleaner

PACKING LIST

This machine is intended for vacuuming dust in domestic use.
IMPORTANT SAFETY INSTRUCTIONS
For household use.
READ ALL INSTRUCTIONS BEFORE USING
WARNING
Read and understand all instructions before using this product. Failure to follow all instructions listed below may result in electric shock, fire, and/or serious personal injury. When using an electrical appliance, basic precautions should always be followed, including the following:
The term “*appliance” in all of the warnings listed below refers to your mains-operated (corded) appliance or battery- operated (cordless) appliance.
- Do not use the appliance outdoors or on wet surtaces.
- Do not charge the appliance outdoors.
- Do not allow appliances to be used as a toy. Paying close attention is necessary when used by or near children.
- Use only as described in this manual. Use only manufacturer’s recommended attachments.
- Do not handle the battery or the appliance with wet hands.
- Do not put any object into openings. Do not use with any opening blocked; keep free of dust, lint, hair, and anything that may reduce air flow.
- Keep hair, loose clothing, fingers and all body parts away from openings and movVing parts.
- Use extra care when cleaning on stairs.
- Do not operate the appliance in an explosive atmosphere, such as in the presence of flammable liquids, gases, or dust. Appliances create sparks that may ignite the dust or fumes.
- Store indoors. Do not expose to rain or water. Avoid direct sunshine.
- Never allow children to operate the appliance. Adults should not operate the appliance without proper instruction.
- Wear heavy long pants, boots, and gloves. Avoid loose garments or jewelry that could get caught in moving parts of the machine or its motor.
- Do not force appliance. Use the correct appliance for your application. The correct appliance will do the job better and safer at the rate for which it is designed.
- Keep firm footing and balance. Do not overreach.
- Overreaching can result in loss of balance.
- Any appliance that cannot be controlled with the switch is dangerous, and must be repaired.
- Do not operate this appliance when you are tired, ill, or under the influence of alcohol, drugs, or medication.
- Do not operate in poor lighting. Do not use to pick up flammable or combustible liquids, such as gasoline, or use in areas where they may be present.
- Do not pick up anything that is burning or smoking, such as cigarettes, matches, or hot ashes.
- Do not use without collection bin, filter or tube in place (if applicable).
- Do not use with damaged cord or plug. If appliance is not working as it should, has been dropped, damaged, leit outdoors, or dropped into water, return it to a service center.
- Do not pull or carry by cord, use cord as a handle, close a door on cord, or pull cord around sharp edges or corners.
- Do not run appliance over cord. Keep cord away from heated surfaces.
- Turn off all controls before removing the battery pack.
- Do not use without proper filter in place.
- Always turm off this appliance before connecting or disconnecting either accessories.
- To reduce the risk of fire or electric shock, use appliance only with Greenworks identical parts and supply cords. If cord is damaged or lost, replace with identical replacement part.
BATTERY-OPERATED APPLIANCES
Do not use battery-operated appliance in rain. Recharge only with the charger specified by the manufacturer. A charger that is suitable for one type of battery pack may create a risk of fire when used with another battery pack.
- Use only the charger supplied by the manufacturer t recharge.
- Use appliances only with specifically designated battery packs. Use of any other battery packs may create a risk of injury and fire.
- Disconnect the battery pack from the appliance before making any adjustments, changing accessories, or storing the appliance. Such preventive safety measures reduce the risk of starting the appliance accidentally.
- When battery pack is not in use, keep it away from other metal objects like paper clips, coins, keys, nails, screws or other small metal objects that can make a connection from one terminal to another. Shorting the battery terminals together may cause burns or a fire.
- Under abusive conditions, liquid may be ejected from the battery; avoid contact. If contact accidentally occurs, flush with water. If liquid contacts eyes, immediately seek medical attention. Liquid ejected from the battery may cause iritation or burns.
- Do not incinerate the appliance even if it is severely damaged. The batteries can explode in a fire.
- Do not use a battery pack or appliance that is damaged or modified. Damaged or modified batteries may exhibit unpredictable behavior resulting in fire, explosion or risk of injury.
- Do not expose a battery pack or appliance to fire or excessive temperature. Exposure to fire or temperature above 265°F (130°C) may cause an explosion.
- Unit should only be serviced by a qualified repair technician using only Greenworks replacement parts.
- This will prolong the life of the unit and maintain product satety.
- Don’t modify or attempt to repair the appliance or the battery pack (as applicable) except as indicated in the instructions for use and care.
- Follow all charging instructions and do not charge the battery pack or appliance outside of the temperature range specified in the instructions. Charging improperly or at temperatures outside of the specified range may damage the battery and increase the risk of fire.
SYMBOLS ON THE PRODUCT
Some of the following symbols may be used on this product. Please study them and learn their meaning. Proper interpretation of these symbols will allow you to operate the product better and safer.
- Precautions that involve your safety.
- Read and understand all instructions before operating the product, and fol- low all warnings and safety instructions
- Wear eye and ear protection.
- Thrown objects can ricochet and result in personal injury or property damage.
- Wear protective clothing and boots.
- Keep all bystanders at least 15m away.
RISK LEVELS
The following signal words and meanings are intended to explain the levels of risk associated with this product.
- Indicates an imminently haz- ardous situation, which, if not avoided, will result in death or serious injury.
- Indicates a potentially hazard- ous situation, which, if not avoided, could result in death or serious injury.
- Indicates a potentially hazard- ous situation, which, if not avoided, may result in minor or moderate injury.
- Without Safety Alert Sym- bol) Indicates a situation that may result in property damage.
ENVIRONMENTALLY SAFE BATTERY DISPOSAL
The toxic and corrosive materials below are in the batteries used in this machine: Lithium-lon, a toxic material.
WARNING
Discard all toxic materials in a specified manner to prevent contamination of the environment. Before discarding damaged or worn out Li-ion battery, contact your local waste disposal agency, or the local Environmental Protection Agency for information and specific instructions. Take the batteries to a local recycling and/or disposal center, certified for lithium-ion disposal.
WARNING
- If the battery pack cracks or breaks, with or without leaks, do not recharge it and do not use. Discard it and replace with a new battery pack. DO NOT TRY TO REPAIR IT! To prevent injury and risk of fire, explosion, or electric shock, and to avoid damage to the environment:
- Cover the terminals of the battery with heavy-duty adhesive tape.
- DO NOT try to remove or destroy any of the battery pack components.
- DO NOT try to open the battery pack.
- If a leak develops, the released electrolytes are corrosive and toxic. DO NOT get the solution in the eyes or on skin, and do not swallow it.
- DO NOT put these batteries in your regular household trash.
- DO NOT incinerate.
- DO NOT put them where they will become part of any waste landfill or municipal solid waste stream.
- Take them to a certified recycling or disposal center.
SAVE THESE INSTRUCTIONS
INSTALLATION
Replace the battery pack or the charger immediately if the battery pack or charger cord is damaged. Exam that the machine is in the OFF status before you install or remove the battery pack.
UNPACK THE MACHINE
- Make sure that you correctly assemble the machine before use.
- If parts of the machine are damaged, do not use the machine.
- If you do not have all the parts, do not operate the machine.
- If parts are damaged or missing, contact the service center.
OVERVIEW
- Open the package.
- Read the documentation provided in the box
- Remove all the unassembled parts from the box.
- Remove the machine from the box.
- Discard the box and packing material in compliance with local regulations
NOTE
Depending on the model purchased, packaging will containdifferent accessories and parts. Refer to the ‘Packing List” for more details.
- Vacuum
- Latch
- Extender
- Floor Brush
- Trigger
- Collection bin release button
- Collection bin
- Release button
- Crevice Tool
- Deep Cleaning Motorized Brush
- Soft Bristle Fur Brush
- 2-in-1 Round Brush
- Hard Floor Brush
ASSEMBLE THE MACHINE
To prevent accidental starting that could cause serious personal injury, always remove the battery pack from the machine when assembling parts.
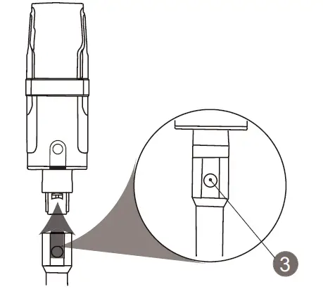
- Insert the vacuum into the extender (3). The extender is installed when you hear a “click”.

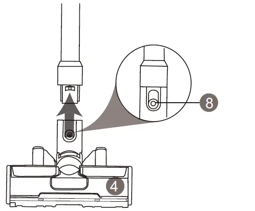
- Insert the extender into the floor brush (4). The floor brush is installed when you hear a “click”.

TIP
You can change accessories (9/10/11/12) according to your cleaning needs. Push the release button (8) to unlock the floor brush or extender, then choose your desired cleaning tool for atachment.
INSTALL THE BATTERY PACK
If the battery pack or charger is damaged, replace the battery pack or the charger.
Stop the machine and wait until the motor stops before you install or remove the battery pack.
Read, know, and follow the instructions in the battery and charger manual.
- Align the lift ribs on the battery pack with the grooves in the battery compartment.
- Push the battery pack into the battery compartment until the battery pack locks into place.
- When you hear a click, the battery pack is installed.

REMOVE THE BATTERY PACK
- Push and hold the battery release button (14).
- Remove the battery pack from the machine.
OPERATiON
Do not handle battery pack, switch, or machine with wet hands. Do not expose to rain or allow liquid to enter the motor compartment.
START THE MACHINE
Do not operate the machine without collection bin or filter.
- Press the trigger (15) to start the machine. The machine runs at normal mode.

- Press the speed button (17) on the screen to adjust the mode. This machine has three modes (20).

- The screen also shows the remaining run time and battery capacity (16).
NOTE
The LED lights on the screen appear blue under normal circumstances. If the LED lights turn to red and the machine shutdown automatically, please refer chapter ‘troubleshooting’ to solve the problems.
STOP THE MACHINE
- Press trigger (15) again to stop the machine.
EMPTY THE COLLECTION BIN
- Press the button on the extender or accessories to remove them from the vacuum head.
- Push the bin release button (7).

- Press the latch (2) to open the collection bin.

- Dump debris from the bin into the waste basket.

ATTACH THE RACK
Charger Accessory Rack
Different models have different accessory racks to store the accessories or hang the machine. Follow the corresponding method to attach your rack.
- Align the ribs of the charger accessory rack (23) to the ribs of the charger (21) then push the rack lock into place.
When you here a click, the rack is installed. - Insert the accessories to the rack.

- To remove the accessory rack, press the release button (22) and pull the rack out.
Accessory Rack
- Clip the accessory rack (24) to the extender or the stand charger rack.
- Insert the accessories to the rack (24).

MAINTENANCE
CAUTION
Do not let brake fluids, gasoline, petroleum-based materials touch the plastic parts. Chemicals can cause damage to the plastic, and make the plastic unserviceable.
CAUTION
Do not use strong solvents or detergents on the plastie housing or components.
WARNING
Remove the battery pack from the machine before maintenance.
CLEAN THE FILTER
TIP
Clean the vac filter often to maintain optimal performance.
Cleaning should be done outdoors and not in the living quarters.
You can use a small brush to clean the dust and debris.
- Press the button on the extender or accessories to remove them from the vacuum head.

- Push the bin release button (7).

- Press the latch (2) to open the collection bin.
- Dump debris from the bin into the waste basket.

- Tum the filter assembly (6) counter-clockwise and take it off the vacuum

- Keep the collection bin door open, pull the filter (25) out of the collection bin.

- Turn the strainer (26) counter-clockwise and remove it.

- Shake the filter and let the debris out of the it.
- Run water through the filter from a hose or spigot.

- Allow the filter to dry before you store or picking up debris.
WARNING
Do not operate the machine without collection bin or filter.
CLEAN THE BRUSH ROLL
Turn off the machine before maintenance or troubleshooting to reduce the risk of electric shock or injury.
- Press the release button (8) to disconnect the floor brush from the vacuum.

- Push the brush roll release button (27) so the side plate will release.
- Lift the side plate (28).

- Take the brush roll (29) out.

- Clean up the debris and hairs.
- Run water through the brush roll from a hose or spigot.
- If your brush roll chamber is dirty, use the rag or towel to clean it.
- Allow the brush roll and chamber to dry before you storing or picking up debris.

CLEAN THE PIPE
Turn off the machine before maintenance or troubleshooting to reduce the risk of electric shock or injury.
- Press the release button (8) to disconnect the extender and floor brush.

- Empty the collection bin.
- Remove the brush roll.
- Check the pipes of the vac, brush and extender.
- Pump the debris out or use the wire to clean the pipes is pipes are blocked

STORE THE MACHINE
Clean the machine before storage.
- Remove the battery pack.
- Let the motor cool.
- Check that there are no loose or damaged components. If it is necessary, replace the damaged components, tighten screws and bolts, or speak to a person of an approved service center.
- Store the machine in a cool and dry location.
TROUBLESHOOTING


TECHNICAL DATA

The recommended ambient temperature range:
LIMITED WARRANTY
Greenworks hereby warranties this product, to the original purchaser with proof of purchase, for a period of three (3) years against defects in materials, parts or workmanship. Greenworks, at its own discretion, will repair or replace any and all parts found to be defective, through normal use, free of charge to the customer. This warranty is valid only for units which have been used for personal use that have not been purchased or rented for industrial/commercial use, and that have been maintained in accordance with the instructions in the owners’ manual supplied with the product when new.
ITEMS NOT COVERED BY WARRANTY:
- Any part that has become inoperative due to misuse, commercial use, abuse, neglect, accident, improper maintenance, or alteration; or
- he unit, if it has not been operated and/or maintained in accordance with the owner’s manual; or
- Normal wear
- Routine maintenance items such as lubricants, blade sharpening:
- Normal deterioration of the exterior finish due to use or exposure.
HELPLINE
Warranty service is available by calling our toll-free helpline at 1-888-909-6757.
TRANSPORTATION CHARGES:
Transportation charges for the movement of any power equipment unit or attachment are the responsibility of the purchaser. It is the purchaser’s responsibility to pay transportation charges for any part submitted for replacement under this warranty unless such return is requested in writing by Greenworks.
USA address:
Greenworks Tools P.O. Box 1238 Mooresville, NC 28115
Canadian address:
Greenworks Tools Canada, Inc. PO. BOx 93095, Newmarket, Ontario L3Y SK3




















































