BRFB1322SSL 11.4 cu ft Bottom Stainless Steel Refrigerator
User Manual
BRFB1312SS
BRFB1322SS
Please read this manual before using the product!
Dear Customer,
We’d like you to make the best use of our product, which has been manufactured in modern facilities with care and meticulous quality controls.
Thus, we advice you to read the entire user manual before you use the product. In case the product changes hands, do not forget to hand the guide to its new owner along with the product.
This guide will help you use the product quickly and safely.
- Please read the user guide carefully before installing and operating the product.
- Always observe the applicable safety instructions.
- Keep the user guide within easy reach for future use.
- Please read any other documents provided with the product.
Keep in mind that this user guide may apply to several product models. The guide clearly indicates any variations of different models.
| Important information and useful tips. | |
| Risk of life and property. | |
| Risk of electric shock. | |
| The product’s packaging is made of recyclable materials, in accordance with the National Environment Legislation. |
Important instructions for safety and environment
This section contains safety instructions that will help protect from risk of personal injury or property damage. Failure to follow these instructions shall void any warranty.
General safety
- This product can be used by children at and above 8 years old and by persons whose physical, sensory or mental capabilities were not fully developed or who lack experience and knowledge provided that they are supervised or trained on the safe usage of the product and the risks it brings out. Children must not play with the product. Cleaning and maintenance works should not be performed by children unless they are supervised by someone.
- Unplug the product if a failure occurs while it is in use.
- If the product has a failure, it should not be operated unless it is repaired by the Authorised Service Agent. There is the risk of electric shock!
- Connect the product to a grounded outlet protected by a fuse complying with the values in the rating plate. Have the grounding installation made by a qualified electrician. Our company shall not be liable for any damages that will arise when the product is used without grounding in accordance with the local regulations.
- Unplug the product when not in use.
- Never wash the product by spreading or pouring water onto it! There is the risk of electric shock!
- Never touch the plug with wet hands!
Never unplug by pulling on the cable, always pull out by grabbing the plug. - It is recommended to clean the tip of the plug regularly with a dry cloth.

- Do not plug the refrigerator if the wall outlet is loose.
- Never connect your refrigerator to electricity-saving systems. Such systems are harmful for the product.
- Unplug the product during installation, maintenance, cleaning and repairing procedures.
- Always have the installation and repairing procedures carried out by the Authorised Service Agent. Manufacturer shall not be held liable for damages that may arise from procedures carried out by unauthorised persons.
- Do not eat cone ice cream and ice cubes immediately after you take them out of the freezer compartment! This may cause frostbite in your mouth!
- Do not touch frozen food by hand! They may stick to your hand!
- Do not put bottled and canned liquid beverages in the freezer compartment.
They may burst! - Never use steam and steam assisted cleaning materials to clean or defrost the refrigerator. Steam will cause short circuit or electric shock since it would get into contact with the electrical parts in the refrigerator!
- Do not use mechanical devices or other methods to accelerate the defrosting process, other than those recommended by the manufacturer.
- Never use the parts on your refrigerator such as the door and drawer as a means of support or step. This will cause the product to tip over or parts of it get damaged.
- Do not damage the cooling circuit, where the refrigerant is circulating, with drilling or cutting tools. The refrigerant that might blow out when the gas channels of the evaporator, pipe extensions or surface coatings are punctured may cause skin irritations and eye injuries.
- Do not cover or block the ventilation holes on the refrigerator with any material.
- Place the beverage with higher proofs tightly closed and vertically.
- Do not use gaseous sprays near the product since there is the risk of fire or explosion!
- Flammable items or products that contain flammable gases (e.g. spray) as well as the explosive materials should never be kept in the appliance.
- Do not place containers filled with liquid on top of the product. Spilling water on an electrical component may cause electric shocks or risk of fire.
- Do not store products (vaccines, heat-sensitive medicines, scientific materials and etc.) that require a precise temperature control in the refrigerator.
- If you will not operate the product for a long period of time, unplug and unload the food in it.
- If the product is equipped with blue light, do not look at the blue light with optical tools.
- Exposing the product to rain, snow, sun and wind is dangerous with respect to electrical safety.
- In products with mechanical control (thermostat), wait for minimum 5 minutes to plug in the product again after unplugging it.
- Do not overload the product. It may fall when the door is opened, and cause injury or damage. Similar problems may occur in case of putting things on top of the product.
- If the product’s door is equipped with a handle, do not pull by the handle when changing the place of the product. Handle may get loose.
- Pay attention not to have your hand or any part of your body get caught by the moving parts inside the product.
HC warning
- If your product’s cooling system contains R600a:
This gas is flammable. Therefore, pay attention to not damaging the cooling system and piping during usage and transportation. In the event of damage, keep your product away from potential fire sources that can cause the product catch a fire and ventilate the room in which the unit is placed.
Ignore this warning if your product’s cooling system contains R134a.
Type of gas used in the product is stated in the type plate which is on the left wall inside the refrigerator.
Never throw the product in fire for disposal.
| If the product is equipped with a cooling system containing R134a gas, ignore this warning. | |
| You can learn the gas used in production of your product on the rating plate located on the left inner part of it. | |
| WARNING: Never dispose the product in fire. |
For products with a water dispenser
- Pressure for cold water inlet shall be maximum 90 psi (6.2 bar). If your water pressure exceeds 80 psi (5.5 bar), use a pressure limiting valve in your mains system. If you do not know how to check your water pressure, ask for the help of a professional plumber.
- If there is risk of water hammer effect n your installation, always use a water hammer prevention equipment in your installation. Consult Professional plumbers is you are not sure that there is no water hammer effect in your installation.
- Do not install on the hot water inlet. Take precautions against of the risk of freezing of the hoses. Water temperature operating interval shall be 33°F (0.6°C) minimum and 100°F (38°C) maximum.
- Use only potable water.
Intended use
- This product has been designed for domestic use. It is not suitable for commercial use and it must not be used out of its intended use.
- Product must be used only for storing food.
- The manufacturer waives any responsibility arisen from incorrect usage or transportation.
- The service life of your product is 10 years. During this period, original spare parts will be available to operate the appliance properly.
Children’s safety
- If the door has a lock, the key should be kept away from reach of children.
- Children must be supervised to prevent them from tampering with the product.
| DANGER: Risk of child entrapment. Before you throw away your old refrigerator or freezer: • Take off the doors. • Leave the shelves in place so that children may not easily climb inside. |
Compliance with WEEE Directive and Disposing of the Waste Product:
This product complies with EU WEEE Directive (2012/19/EU). This product bears a classification symbol for waste electrical and electronic equipment (WEEE).This product has been manufactured with high quality parts and materials which can be reused and are suitable for recycling. Do not dispose of the waste product with normal domestic and other wastes at the end of its service life. Take it to the collection center for the recycling of electrical and electronic equipment. Please consult your local authorities to learn about these collection centers.
Compliance with RoHS Directive:
- The product you have purchased complies with EU RoHS Directive (2011/65/EU). It does not contain harmful and prohibited materials specified in the Directive.
Package information
- Packaging materials of the product are manufactured from recyclable materials in accordance with our National Environment Regulations. Do not dispose of the packaging materials together with the domestic or other wastes. Take them to the packaging material collection points designated by the local authorities.
| DANGER: Risk Of Fire or Explosion. Flammable Refrigerant Used. Do Not Use Mechanical Devices To Defrost Refrigerator. Do Not Puncture Refrigerant Tubing”. | |
| DANGER: Risk Of Fire Or Explosion. Flammable Refrigerant Used. To Be Repaired Only By Trained Service Personnel. Do Not Puncture Refrigerant Tubing”. | |
| CAUTION: Risk Of Fire Or Explosion. Flammable Refrigerant Used. Consult Repair Manual/ Owner’s Guide Before Attempting To Service This Product. All Safety Precautions Must be Followed. | |
| CAUTION: Risk Of Fire Or Explosion. Dispose Of Properlty In Accordance With Federal Or Local Regulations. Flammable Refrigerant Used. | |
| CAUTION: Risk Of Fire Or Explosion Due To Puncture Of Refrigerant Tubing; Follow Handling Instructions Carefully. Flammable Refrigerant Used”. |
Your Refrigerator

| 1. Cooler compartment door shelf | 10. Ice cube tray & Ice bank |
| 2. Water dispenser filling tank | 11. Vegetable bin |
| 3. Egg section | 12. Zero degree compartment |
| 4. Water dispenser reservoir | 13. Interior light |
| 5. Bottle shelf | 14. Cooler compartment glass shelf |
| 6. Sliding storage box | 15. Temperature adjustment button |
| 7. Adjustable legs | 16. Cooler compartment |
| 8. Deep freezer compartment | 17. Freezer compartment |
| 9. Quick freeze compartment |
Pictures given in this manual are given as example figures and they may not be exactly the same as your product. If your product does not comprise the relevant parts, the information pertains to other models.
Installation
Right place for installation
Contact the Authorized Service for the product’s installation. To ready the product for installation, see the information in the user guide and make sure the electric and water utilities are as required. If not, call an electrician and plumber to arrange the utilities as necessary.
| WARNING: The manufacturer assumes no responsibility for any damage caused by the work carried out by unauthorized persons. | |
| WARNING: The product’s power cable must be unplugged during installation. Failure to do so may result in death or serious injuries! | |
| WARNING: If the door span is too narrow for the product to pass, remove the door and turn the product sideways; if this does not work, contact the authorized service. |
- Place the product on a flat surface to avoid vibration.
- Place the product at least 30 cm away from the heater, stove and similar sources of heat and at least 5 cm away from electric ovens.
- Do not expose the product to direct sunlight or keep in damp environments.
- The product requires adequate air circulation to function efficiently.
- If the product will be placed in an alcove, remember to leave at least 5 cm distance between the product and the ceiling and the walls.
- Do not install the product in environments with temperatures below -5°C.
Attaching the plastic wedges
Use the plastic wedges in the provided with the product to provide sufficient space for air circulation between the product and the wall.
- To attach the wedges, remove the screws on the product and use the screws provided with the wedges.
- Attach 2 plastic wedges on the ventilation cover as shown in the figure.

Adjusting the stands
If the product is not in balanced position, adjust the front adjustable stands by rotating right or left.
Power connection
| WARNING: Do not use extension or multi sockets in power connection. | |
| WARNING: Damaged power cable must be replaced by Authorized Service. | |
| When placing two coolers in adjacent position, leave at least 4 cm distance between the two units. |
- Our firm will not assume responsibility for any damages due to usage without earthing and power connection in compliance with national regulations.
- The power cable plug must be easily accessible after installation.
- Connect the refrigerator to an earthed socket with 110V/6 0 Hz voltage. The plug must comprise a 10-16A fuse.
- Do not use multi-group plug with or without extension cable between the wall socket and the refrigerator.
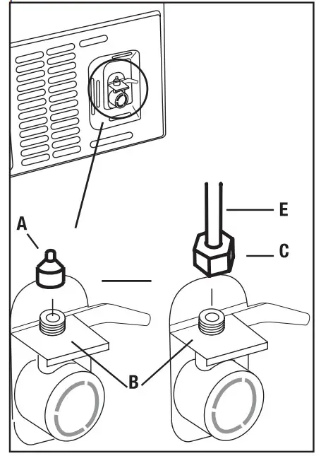
Connecting the water hose to the refrigerator
- Slip the union (b) onto the water hose (a).
- Push the water hose downwards firmly to slip it onto the water inlet valve (c).
- Tighten the union (c) by hand to secure it onto the water inlet valve.
Normally, you are not required to tighten the union with a tool.
However, you can use a spanner or pliers to tighten the union if there is a leakage
Connecting the water line to the water supply
Connect the water line to a water supply valve. If a valve is not present or you are not sure, consult a qualified plumber.
Reversing the doors
Proceed in numerical order.
Reversing the doors
Proceed in numerical order.

| Unpacked Height (cm- inch): | 1843,5 mm – 72,5″ |
| Unpacked Width (cm- inch): | 607,5 mm – 23,91″ |
| Unpacked Depth (cm- inch): | 714,8 mm – 28,14″ |
Preparation
What to do for energy saving
Connecting the product to electronic energy-saving systems is harmful, as it may damage the product.
- Do not keep the refrigerator doors open for long periods.
- Do not place hot food or beverages into the refrigerator.
- Do not overfill the refrigerator; blocking the internal air flow will reduce cooling capacity.
- In order to store the maximum amount of food into the cooler compartment of your refrigerator, you should take out the upper drawers and place it onto the glass rack.
The declared energy consumption of your refrigerator was determined by taking out the cooler, ice tray and upper drawers in a way that will enable maximum storage. Using the below drawer when storing is strongly recommended. Energy saving function should be activated for best energy consumption. - You should not block the airflow by putting food in front of the cooler fan. A space of minimum 3cm must be left in front of the protective fan wire when placing food.
- Depending on the product’s features; defrosting frozen foods in the cooler compartment will ensure energy saving and preserve food quality.
- Food should be stored using the drawers in the cooler compartment in order to ensure energy saving and protect food in better conditions.
- Food packages should not be in direct contact with the heat sensor located in the cooler compartment. If they are in contact with the sensor, energy consumption of the appliance might increase.
- Make sure the foods are not in contact with the cooler compartment temperature sensor described below.

First Use
Before using your refrigerator, make sure the necessary preparations are made in line with the instructions in “Safety and environment instructions” and “Installation” sections.
- Keep the product running with no food inside for 6 and do not open the door, unless absolutely necessary.
| A sound will be heard when the compressor is engaged. It is normal to hear sound even when the compressor is inactive, due to the compressed liquids and gasses in the cooling system. | |
| Front edges of the product might heat up. This is normal. These areas are designed to warm up in order to prevent condensation. | |
| In some models indicator panel turns off automatically 5 minutes after the door closes. It will be reactivated when the door is open or any button is pressed. |
Operating the product
Indicator panel
Indicator panels may vary according to the product model.
Audio – visual functions on the indicator panel help you in using your product. 
| 1. Automatic Ice Machine Off/On indicator | 6. Temperature Setting Button |
| 2. Fridge Compartment Indicator | 7. Ice Cancel Button |
| 3. Error Status Indicator | 8. Compartment Selection Button |
| 4. Temperature Indicator | 9. Freezer Compartment Indicator |
| 5. Vacation Button | 10. Economy Mode Indicator |
| *Optional: The figures in this user guide are intended as drafts and may not perfectly match your product. If your product does not comprise the relevant parts, the information pertains to other models. |
- Automatic Ice Machine Off/On indicator
This symbol appears on the display when Ice Off function is activated. - Fridge Compartment Indicator Fridge compartment light illuminates when adjusting the fridge compartment temperature.
- Error Status Indicator If your refrigerator does not cool adequately or if there is a sensor failure, this indicator will be activated. When this indicator is active, Freezer Compartment Temperature indicator will display “e” and Fridge Compartment Temperature Indicator will display numbers such as “1,2,3…”. These numbers on the indicator provide information about the error to the service personnel.
- Temperature Indicator Indicates the temperatures of fridge, freezer compartment.
- Vacation Button Press and hold this button for 3 sec. to activate the Vacation function. Press this button again to deactivate the selected function.
- Temperature Setting Button Changes the temperature of the relevant ompartment between -5°F/ 21°C and +46 °F/8 °C.
- Ice Cancel Button Refrigerator stops ice production when you press selection button for 3 seconds.
- Refrigerator Compartment Selection Button Press Refrigerator Compartment Selection Button to switch between fridge and freezer compartments.
- Freezer Compartment Indicator Freezer compartment light illuminates when adjusting the freezer compartment temperature.
- Economy Mode Indicator This indicates that the refrigerator is running in energy-efficient mode.
This indicator will be active if the Freezer Compartment temperature is set to +5°F/-15 °C.
Ice bucket
*optional
- Take the ice bucket from the freezer compartment.
- Fill the ice bucket with water.
- Place the ice bucket into the freezer compartment.
- The ice will be ready after approximately two hours. Take the ice bucket from the freezer compartment and bend in sightly over the holder that you are going to serve. Ice will easily pour into the serving holder.
Eggholder
You can put the eggholder on the door or body rack of your choice. If you decide to put it on the body rack, it is recommended to prefer the shelves below as they are colder.
Do not put the eggholder into the freezer compartment.
Vegetable bin *optional
Product’s vegetable bin is designed to keep vegetables fresh by preserving humidity. For this purpose, the overall cold air circulation is intensified in the vegetable bin.
Zero degree compartment
*optional
Use this compartment to keep delicatessen at lower temperatures or meat products for immediate consumption.
Zero degree compartment is the coolest place where foods such as dairy products, meat, fish and chicken can be stored in ideal storage conditions.
Vegetables and/or fruits should not be stored in this compartment.
Fan
Fan was designed to distribute circu-late the cold air inside your refrigerator homogeneously. Operating time of the fan might vary depending the features of your product.
While in some products fan only operates with compressor, in others control system determines the operating time based on the need for cooling.
Automatic ice machine
*optional
Automatic ice machine enables you to easily make ice in your refrigerator. In order to obtain ice from the ice machine, take out the water tank in the cooler compartment, fill it with water and fix it back.
First ice will be ready in about 2 hours in the ice machine drawer in the cooler compartment.
After placing the full water tank, you can obtain about 60-70 cubes of ice until it is fully empty.
If the water in the tank has waited for 2-3 weeks, it should be changed.
| In products with automatic ice machine, you might hear a sound when pouring the ice. This sound is normal and is not a sign of failure. |
Freezing fresh food
- To preserve food quality, the food items placed in the freezer compartment must be frozen as quickly as possible, use the rapid freezing for this.
- Freezing the food items when fresh will extend the storage time in the freezer compartment.
- Pack the food items in air-tight packs and seal tightly.
- Make sure the food items are packed before putting in the freezer. Use freezer holders, tinfoil and damp-proof paper, plastic bag or similar packaging materials instead of traditional packaging paper.

Ice in the freezing compartment thaws automatically. - Mark each food pack by writing the date on the package before freezing. This will allow you to determine the freshness of each pack every time the freezer is opened. Keep the earlier food items in the front to ensure they are used first.
- Frozen food items must be used immediately after defrosting and should not be frozen again.
- Do not free large quantities of food at once.
Recommendations for storing frozen foods
The compartment must be set to at least -18°C.
- Place the food items in the freezer as quickly as possible to avoid defrosting.
- Before freezing, check the “Expiry Date” on the package to make sure it is not expired.
- Make sure the food’s packaging is not damaged.
Deep freezer details
Food items can only be preserved for extended periods at or below temperature of -18°C .
You can keep the foods fresh for months (in deep freezer at or below temperatures of 18°C ).
The food items to be frozen must not contact the already-frozen food inside to avoid partial defrosting.
Boil the vegetables and filter the water to extend the frozen storage time. Place the food in air-tight packages after filtering and place in the freezer. Bananas, tomatoes, lettuce, celery, boiled eggs, potatoes and similar food items should not be frozen. In case this food rots, only nutritional values and eating qualities will be negatively affected. A rotting threatening human health is not in question.
Placing the food
| Freezer compartment shelves | Various frozen goods including meat, fish, ice cream, vegetables etc. |
| Cooler compartment shelves | Food items inside pots, capped plate and capped cases, eggs (in capped case) |
| Cooler compartment door shelves | Small and packed food or beverages |
| Vegetable bin | Fruits and vegetables |
| Fresh food compartment | Delicatessen (breakfast food, meat products to be consumed in short notice) |
Door open alert (Optional)
An audible alert will be heard if the product’s door remains open for at least 1 minute. The audible alert will stop when the door is closed or any button on the display (if available) is pressed.
Door open alert is indicated to the user both audibly and visually. Interior lighting will turn of if the warning continues for 10 min.
Changing the opening direction of the door
You can change the direction of opening of your refrigerator depending on the location where you use it. When you need this, consult the closest Authorized Service.
The explanation above is a general statement. You should check the warning tag located inside the product package about the changeability of direction of the door.
Interior light
Interior light uses a LED type lamp. Contact the authorized service for any problems with this lamp.
Lamp(s) used in this appliance cannot be used for house lighting. Intended use of this lamp is to help the user place food into the refrigerator /freezer safely and comfortably.
Maintenance and cleaning
Service life of the product is increase if it is regularly cleaned
| WARNING: First unplug the product before cleaning your refrigerator. |
- Never use any sharp and abrasive tools, soap, household cleaners, detergent and wax polish for cleaning.
- Dissolve one teaspoon of carbonate in half liter of water. Soak a cloth with the solution and wrung it thoroughly. Wipe the interior of the appliance with this cloth and the dry thoroughly.
- Make sure that no water enters the lamp housing and other electrical items.
- Clean the door with a damp cloth. To remove door and body shelves, remove all of its contents. Remove door shelves by moving them upwards. After cleaning, slide them from top to bottom to install.
- Never use cleaning agents or water that contain chlorine to clean the outer surfaces and chromium coated parts of the product. Chlorine causes corrosion on such metal surfaces.
- Do not use sharp, abrasive tools, soap, household cleaning agents, detergents, kerosene, fuel oil, varnish etc. to prevent removal and deformation of the prints on the plastic part. Use lukewarm water and a soft cloth for cleaning and then wipe it dry.
Avoiding bad odors
Materials that may cause odor are not used in the production of our appliances. However, due to inappropriate food preserving conditions and not cleaning the inner surface of the appliance as required can bring forth the problem of odor.
Therefore, clean the refrigerator with carbonate dissolved in water every 15 days.
- Keep the food in closed containers.
Microorganisms spreading out from uncovered containers can cause unpleasant odours. - Never keep the food that have expired best before dates and spoiled in the refrigerator.
Protecting the plastic surfaces
Clean with arm water immediately as the oil may cause damage on the surface when it is poured on plastic surfaces.
Door Glasses
Remove the protective foil on the glasses.
There is a coating on the surface of the glasses.This coating minimizes the stain build-up and helps to remove the possible stains and dirt easily.Glasses that are not protected with such a coating may be subject to persistent binding of air or water based organic or inorganic dirt such as limescale, mineral salts, unburned hydrocarbons, metal oxides and silicones that can easily and quickly cause stains or material damage. Keeping the glass clean becomes too difficult despite the regular cleaning. Consequently, the appearance and the transparency of the glass deteriorates. Harsh and corrosive cleaning methods and compounds will intensify these defects and speed up the deterioration process.
Water-based cleaning products that are not alkaline and corrosive must be used for regular cleaning purposes.
Non-alkaline and non-corrosive materials must be used for cleaning so that the service life of this coating lasts for a long time.
These glasses are tempered to increase their durability against impacts and breaking.
A safety film is also applied to their rear surfaces as an extra safety measure in order to prevent them from causing damage to their surrounding in case of a breakage.
*Alkali is a base that forms hydroxide ions (OH¯) when it is dissolved in water.
Li (Lithium), Na (Sodium), K (Potassium) Rb (Rubidium), Cs (Cesium) and artificial and radioactive Fr (Fan-sium) metals are called ALKALI METALS.
Troubleshooting
Check this list before contacting the service. Doing so will save you time and money.
This list includes frequent complaints that are not related to faulty workmanship or materials. Certain features mentioned herein may not apply to your product.
The refrigerator is not working.
- The power plug is not fully settled. >>> Plug it in to settle completely into the socket.
- The fuse connected to the socket powering the product or the main fuse is blown. >>> Check the fuses.
Condensation on the side wall of the cooler compartment (MULTI ZONE, COOL, CONTROL and FLEXI ZONE).
- The environment is too cold. >>> Do not install the product in environments with temperatures below -5°C.
- The door is opened too frequently >>> Take care not to open the product’s door too frequently.
- The environment is too humid. >>> Do not install the product in humid environments.
- Foods containing liquids are kept in unsealed holders. >>> Keep the foods containing liquids in sealed holders.
- The product’s door is left open. >>> Do not keep the product’s door open for long periods.
- The thermostat is set to too low temperature. >>> Set the thermostat to appropriate temperature.
Compressor is not working.
- In case of sudden power failure or pulling the power plug off and putting back on, the gas pressure in the product’s cooling system is not balanced, which triggers the compressor thermic safeguard.
The product will restart after approximately 6 minutes. If the product does not restart after this period, contact the service. - Defrosting is active. >>> This is normal for a fully-automatic defrosting product. The defrosting is carried out periodically.
- The product is not plugged in. >>> Make sure the power cord is plugged in.
- The temperature setting is incorrect. >>> Select the appropriate temperature setting.
- The power is out. >>> The product will continue to operate normally once the power is restored.
The refrigerator’s operating noise is increasing while in use.
- The product’s operating performance may vary depending on the ambient temperature variations.
This is normal and not a malfunction.
The refrigerator runs too often or for too long.
- The new product may be larger than the previous one. Larger products will run for longer periods.
- The room temperature may be high. >>> The product will normally run for long periods in higher room temperature.
- The product may have been recently plugged in or a new food item is placed inside. >>> The product will take longer to reach the set temperature when recently plugged in or a new food item is placed inside. This is normal.
- Large quantities of hot food may have been recently placed into the product. >>> Do not place hot food into the product.
- The doors were opened frequently or kept open for long periods. >>> The warm air moving inside will cause the product to run longer. Do not open the doors too frequently.
- The freezer or cooler door may be ajar. >>> Check that the doors are fully closed.
- The product may be set to temperature too low. >>> Set the temperature to a higher degree and wait for the product to reach the adjusted temperature.
- The cooler or freezer door washer may be dirty, worn out, broken or not properly settled. >>> Clean or replace the washer. Damaged / torn door washer will cause the product to run for longer periods to preserve the current temperature.
Troubleshooting
The freezer temperature is very low, but the cooler temperature is adequate.
- The freezer compartment temperature is set to a very low degree. >>> Set the freezer compartment temperature to a higher degree and check again.
The cooler temperature is very low, but the freezer temperature is adequate.
- The cooler compartment temperature is set to a very low degree. >>> Set the freezer compartment temperature to a higher degree and check again.
The food items kept in cooler compartment drawers are frozen.
- The cooler compartment temperature is set to a very low degree. >>> Set the freezer compartment temperature to a higher degree and check again.
The temperature in the cooler or the freezer is too high.
- The cooler compartment temperature is set to a very high degree. >>> Temperature setting of the cooler compartment has an effect on the temperature in the freezer compartment. Wait until the temperature of relevant parts reach the sufficient level by changing the temperature of cooler or freezer compartments.
- The doors were opened frequently or kept open for long periods. >>> Do not open the doors too frequently.
- The door may be ajar. >>> Fully close the door.
- The product may have been recently plugged in or a new food item is placed inside. >>> This is normal. The product will take longer to reach the set temperature when recently plugged in or a new food item is placed inside.
- Large quantities of hot food may have been recently placed into the product. >>> Do not place hot food into the product.
Shaking or noise.
- The ground is not level or durable. >>> If the product is shaking when moved slowly, adjust the stands to balance the product. Also make sure the ground is sufficiently durable to bear the product.
- Any items placed on the product may cause noise. >>> Remove any items placed on the product.
The product is making noise of liquid flowing, spraying etc.
- The product’s operating principles involve liquid and gas flows. >>> This is normal and not a malfunction.
There is sound of wind blowing coming from the product.
- The product uses a fan for the cooling process. This is normal and not a malfunction.
There is condensation on the product’s internal walls.
- Hot or humid weather will increase icing and condensation. This is normal and not a malfunction.
- The doors were opened frequently or kept open for long periods. >>> Do not open the doors too frequently; if open, close the door.
- The door may be ajar. >>> Fully close the door.
There is condensation on the product’s exterior or between the doors.
- The ambient weather may be humid, this is quite normal in humid weather. >>> The condensation will dissipate when the humidity is reduced.





















