
Refrigerator
User manual


BRFB1045*/ BRFB1532*
BRFB1542*
BRFB1045, BRFB1532, BRFB1542 Refrigerator
Please read this user manual first!
Dear Customer,
We hope that your product, which has been produced in modern plants and checked under the most meticulous quality control procedures, will provide you an effective service. Therefore, read this entire user manual carefully before using the product and keep it as a reference. If you handover the product to someone else, give the user manual as well.
The user manual will help you use the product in a fast and safe way.
- Read the manual before installing and operating the product
- Make sure you read the safety instructions.
- Keep the manual in an easily accessible place as you may need it later.
- Read the other documents given with the product. Remember that this user manual is also applicable for several other models. Differences between models will be identified in the manual.
Explanation of symbols
Throughout this user manual the following symbols are used:
Important information or useful tips.
Warning against dangerous conditions for life and property.
Warning against electric voltage.
Warning : risk of fire /flammable materials
Your Refrigerator

| 1. Door shelf 2. Egg section 3. Bottle shelf 4. Adjustable feet 5. Fridge crisper 6. Chiller compartment 7. Glass Shelf 8. Fan | 9. Temperature setting button 10. Ion Guard 11. Freezer Crisper 12. Moveing door shelf 13. Ice box / Ice-making 14. Air Filter 15. Freezer compartment 16. Fridge compartment *optional |
Figures that take place in this instruction manual are schematic and may not correspond exactly with your product.
If the subject parts are not included in the product you have purchased, then it is valid for other models.
Important Safety Warnings
Please review the following information. Failure to observe this information may cause injuries or material damage.Otherwise, all warranty and reliability commitments will become invalid. The service life of your product is 10 years.During this period,original spare parts will be available to operate the product properly.
Intended use
This appliance is intended to be used in household and similar applications such as
- staff kitchen areas in shops, offices and other working environments;
- farm houses and by clients in hotels, motels and other residential type environments;
- bed and breakfast type environments;
- catering and similar non-retail applications
General safety
- When you want to dispose/scrap the product, we recommend you to consult the authorized service in order to learn the required information and authorized bodies.
- Consult your authorized service for all your questions and problems related to the refrigerator.Do not intervene or let someone intervene to the refrigerator without notifying the authorized services.
- For products with a freezer compartment; Do not eat ice cream and ice cubes immediately after you take them out of the freezer compartment!(This may cause frostbite in your mouth.)
- For products with a freezer compartment; Do not put bottled and canned liquid beverages in the freezer compartment.Otherwise, these may burst.
- Do not touch frozen food by hand; they may sick to your hand.
- Unplug your refrigerator before cleaning or defrosting.
- Vapor and vaporized cleaning materials should never be used in cleaning and defrosting processes of your refrigerator. In such cases, the vapor may get in contact with
the electrical parts and cause short circuit or electric shock. - Never use the parts on your refrigerator such as the door as a means of support or step.
- Do not use electrical devices inside the refrigerator.
- Do not damage the parts, where the refrigerant is circulating, with drilling or cutting that might blow out when the gas channels of the evaporator, pipe extensions or surface causes skin irritations and eye injuries.
- Electrical devices must be repaired by only authorized authorized persons. Repairs performed by in c omp etent persons create a risk for the user.
- In case of any failure or during a maintenance or repair work, disconnect your refrigerator’s mains supply by either turning off the relevant fuse or unplugging your appliance.
- Do not pull by the cable when pulling off the plug.
- Ensure highly alcoholic beverages are stored securely with the lid fastened and placed upright.
- Do not store explosive substances such as aerosol cans
- Do not use mechanical devices or other means to accelerate the defrosting process, other than those recommended by the manufacture
- This appliance is not intended for use by persons (including children) with reduced physical, sensory or mental capabilities, or lack of experience and knowledge, unless they have been given supervision or instruction concerning use of the appliance by a person responsible for their safety. with a flammable propellant in this appliance.
- Do not operate a damaged refrigerator.Consult with the service agent if you have any concerns.
- Electrical safety of your refrigerator shall be guaranteed only if the earth system in your house complies with standards.
- Exposing the product to rain, snow, sun and wind is dangerous with respect to electrical safety.
- If the SUPPLY CORD is damaged, it must be replaced by the manufacturer, its service agent or similarly qualified person in order to avoid a hazard.
- Never plug the refrigerator into the wall outlet during installation.Otherwise, risk of death or serious injury may arise.
- Th is refrigerator is intended for only storing food items. It must not be used for any other purpose.
- Label of technical specifications is located on the left wall inside the refrigerator.
- Never connect your refrigerator to electricity saving systems; they may damage the refrigerator.
- If there is a blue light on the refrigerator, do not look at the blue light with optical tools.
- For manually controlled refrigerators, wait for at least 5 minutes to start the refrigerator afterpower failure.
- Th is operation manual should be handed in to the new owner of the product when it is given to others.
- Avoid causing damage on power cable when transporting the refrigerator. Bending cable may cause fire.Never place heavy objects on power cable.
- Do not touch the plug with wet hands when plugging the product.
- Do not plug the refrigerator if the wall outlet is loose.
- Water should not be sprayed on inner or outer parts of the product for safety purposes.
- Do not spray substances containing inflammable gases such as propane gas near the refrigerator to avoid fire and explosion risk
- Never place containers filled with water on top of the refrigerator; in the event of spillages, this may cause electric shock or fire.
- Do not overload the refrigerator with food. If overloaded, the food items may fall down and hurt you and damage refrigerator when you open the door
- Never place objects on top of the refrigerator;otherwise, these objects may fall down when you open or close the refrigerator’s door
- As they require a precise temperature, vaccines, heat-sensitive medicine and scientific materials and etc. should not be kept in the refrigerator.
- If not to be used for a long time, refrigerator should be unplugged.A possible problem in power cable may cause fire.
- The plug’s tip should be cleaned regularly with a dry cloth; otherwise, it may cause fire.
- Refrigerator may move if adjustable legs are not properly secured on the floor. Properly securing adjustable legs on the floor can prevent the refrigerator to move.
- When carrying the refrigerator, do not hold it from door handle. Otherwise, it may be snapped.
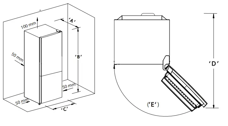
- When you have to place your product next to another refrigerator or freezer, the distance between devices should be at least 8 cm.Otherwise, adjacent side walls may be humidified.
![]() | WARNING: Keep ventilation openings, in the appliance enclosure or in the built-in structure, clear of obstruction. |
![]() | WARNING: Do not use mechanical devices or other means to accelerate the defrosting process, other than those recommended by the manufacturer. |
![]() | WARNING: Do not use electrical appliances inside the food storage compartments of the appliance, unlessthey are of the type recommen ded by the manufacturer. |
![]() | WARNING: Do not damage the refrigerant circuit. |
The product shall never be used while the compartment which is located at the top or back of your product and . in which electronic boards are available (electronic board
box cover) (1) is open.

For products with a water dispenser
- Pressure for cold water inlet shall be maximum 90 psi (6.2 bar). If your water pressure exceeds 80 psi (5.5 bar), use a pressure limiting valve in your mains system. If you do not know how to check your water pressure ask for the help of a professional plumber.
- If there is risk of water hammer effect in your installation, always use a water hammer prevention equipment in your installation.Consult Professional plumbers is you are not sure that there is no water hammer effect in your installation.
- Do not install on the hot water inlet. Take precautions against of the risk of freezing of the hoses. Water temperature operating interval shall be 33°F (0.6°C) minimum and 100°F (38°C) maximum.
- Use only potable water.
Child safety
- If the door has a lock, the key should be kept away from reach of children.
- Children should be supervised to ensure that they do not play with the appliance.
DANGER: Risk of child entrapment.
Before you throw away your old refrigerator or freezer:
- Take off the doors.
- Leave the shelves in place so that children may not easily climb inside.
Compliance with WEEE Directive and Disposing of the Waste Product:
This product complies with EU WEEE Directive (2012/19/EU). This product bears a classification symbol for waste electrical and electronic equipment (WEEE). This product has been manufactured with high quality parts and materials which can be reused and are suitable for recycling. Therefore, do not dispose the product with normal domestic waste at the end of its service life. Take it to a collection point for the recycling of electrical and electronic equipment. Please consult your local authorities to learn the nearest collection point. Help protect the environment and natural resources by recycling used products. For children’s safety, cut the power cable and break the locking mechanism of the door, if any, so that it will be non-functional before disposing of the product.
Package information
Packaging materials of the product are manufactured from recyclable materials in accordance with our National Environment Regulations.Do not dispose of the packaging materials together with the domestic or other wastes.Take them to the packaging material collection points designated by the local authorities.
Do not forget :
Any recycled substance is an indispensable matter for nature and our national asset wealth. If you want to contribute to re-evaluation of the packaging materials you can consult to your environmentalist organizations or the municipalities where you are located.
HC warning
If your product’s cooling system contains 11500a:
This gas is flammable. Therefore, pay attention to not damaging the cooling system and piping during usage and transportation. In the event of damage,usage and
transportation. In the event of damage,keep your product away from potential fire sources that can cause the product catch a fire and ventilate the room in which the unit is placed.
Ignore this warning if your product’s cooling system contains R1 34a.
Type of gas used in the product is stated in the type label which is on the left wall inside the refrigerator. Never throw the product in fire fordisposal.
Recommendations for the fresh food compartment *optional
Do not allow the food to touch the temperature sensor in fresh food compartment. To allow the fresh food compartment keep its ideal storage temperature sensor must not be hindered by food. Do not place hot foods in the product.
Things to be done for energy saving
- Do not leave the doors of your refrigerator open fora long time.
- Do not put hot food or drinks in your refrigerator.
- Do not overload your refrigerator so that the air circulation inside of it is not prevented.
- Do not install your refrigerator under direct sunlight or near heat emitting appliances such as ovens, dishwashers or radiators. Keep your refrigerator at least 30cm away from heat emitting sources and at least 5cm from electrical ovens.
- Pay attention to keep your food in closed containers.
- For products with a freezer compartment You can store maximum amount of food items in the freezer when you remove the shelf or drawer of the freezer. Energy consumption value stated for yourrefrigerator has been determined has been determined by removing freezer shelf or drawer and under maximum load. There is no harm to use a shelf or drawer according to the shapes and size of food to be frozen.
- Thawing frozen food in fridge compartment will both provide energysaving and preserve the food quality.
Installation
In case the information which are given in the user manual are not taken into account, manufacturer will not assume any liability for this.
Points to be paid attention to when the relocation of the refrigerator
- Your refrigerator should be unplugged.Before transportation of your refrigerator, it should be emptied and cleaned.
- Before it is re-packaged,shelves, accessories, crisper, etc. inside your refrigerator should befixed with adhesive tape and secured against impacts. Package should be bound with a thick tape or sound ropes and the transportation rules on the package should be strictly observed.
- Original packaging and foammaterials should be kept for future transportations or moving.
Before you start the refrigerator, Check the following before you start to use your refrigerator:
- Clean the interior of the refrigerator as recommended in the “Maintenance and cleaning” section.
- Connect the plug of the refrigerator to the wall socket.When the fridge door is opened, fridge internal lamp will turn on.
- When the compressor starts to operate, a sound will be heard. The liquid and gases sealed with in the refrigeration system may also give rise to noise, even the compressor is not running and this is quite normal.
- Front edges and both sides of the refrigerator may feel warm. This is normal. These areas are designed to be warm to avoid condensation.
Important:
The connection must be in compliance with national regulations.
- The power plug must be easily accessible after installation.
- Electrical safety of your refrigerator shall be guaranteed only if the earth system in your house complies with standards.
- The voltage stated on the label located at left inner side of your product should be equal to your network voltage.
- Extension cables and multi plugs must not be used for connection.
A damaged power cable must be replaced by a qualified electrician.
Product must not be operated beforei t is repaired! There is the risk of electric shock!
Disposing of the packaging
The packing materials may be dangerous for children. Keep the packing materials out of the reach of children or dispose of them by classifying them in accordance with the waste instructions stated by your local authorities. Do not throw away with regular house waste, throw away on packaging pick up spots designated by the local authorities The packing of your refrigerator is produced from recyclable materials.
Disposing of your old refrigerator
Dispose of your old refrigerator without giving any harm to the environment.
• You may consult your authorized dealer or waste collection center of your municipality about the disposalof your refrigerator.
Before disposing of your refrigerator, cut out the electric plug and, if there are any locks on the door, make them inoperable in order to protect children against any danger. Placing and Installation
If the entrance door of the room where the refrigerator will be installed isnot wide enough for the refrigerator to pass through, then call the authorized service to have them remove the doors of your refrigerator and pass it sideways through the door.
- Install your refrigerator to a place that allows ease of use.
- Keep your refrigerator away from heat sources, humid places and direct sunlight.
- There must be appropriate air ventilation around your refrigerator in order to achieve an efficient operation. If the refrigerator is to be placed in a recess in the wall, there must be at least 5 cm distance with the ceiling and at least 5 cm with the wall. Do notplace your product on the materials such as rug or carpet.
- Place your refrigerator on an even floor surface to prevent jolts.
Door Open Warning (Ns feature Is optional)
An audio warning signal will be given when the door of your product is left open for at least 1 minute. This warning will be muted when the dooris closed or any of the display buttons (if any) are pressed.

| Model | “A” (mm) | “B” (mm) | “B” (mm) | “B” (mm) | “B” (mm) |
| K60340 | 670 | 1716 | 595 | 1054 | 135° |
| K70415 | 670 | 1720 | 700 | 1126 | 135° |
| K60340N | K70415N | |
| Height (cm/inch) unpacked | 172 / 67.8 “ | 172 / 67.8 “ |
| Width (cm/inch) unpacked | 60 / 23.6 “ | 70 / 27.5 “ |
| Depth (cm/inch) unpacked | 67 / 26.4 “ | 67 / 26.4 “ |
| Height (cm/inch) packed | 181 / 71.3 “ | 181 / 71.3 “ |
| Width (cm/inch) packed | 65 / 25.7 “ | 76 / 29.9 “ |
| Depth (cm/inch) packed | 73 / 28.7 “ | 73 / 28.7 “ |
| Gross Weight (Kg)/Ibs | 70 / 154 | 79 / 174 |
| Net Weight (Kg)/Ibs | 66 / 145 | 72 / 158 |
Appropriate location for installation Contact an Authorized Service for the installation of the product. In order to prepare the product for use, refer to the information in the user manual and ensure that electrical installation andwater installation are appropriate. If not,call a qualified electrician and technicianto have any necessary arrangements carried out.
![]() | WARNING: Manufacturer shall not be held liable for damages that may arise from procedures carried out by unauthorized persons. |
![]() | WARNING: Product must not be Pluged in during installation. Otherwise, there is the risk of death or serious injury ! |
![]() | WARNING: If the door clearance of the room where the product will be placed is so tight as to prevent passing of the pro duct, remove the door of the room and pass the product through the door by turning it to its side; if this does not work,contact the authorized service. |
![]() | WARNING:If the door of the room Where the product will be placed is too small for the product to pass, then the product’s doors must be removed and the product must be turned aside to pass it through. |
- Install the product where it will not be exposed to temperatures below freezing or exposed to outdoor weather conditions.
- Do place the product near a grounded electrical outlet
- Do not place the product on matterrials such as rugs or carpets.
Adjusting the legs
If your refrigerator is unbalanced;You can balance your refrigerator by turning its front legs as illustrated in the figure. The corner where the leg exists is lowered when you turn in the direction of black arrow and raised when you turn in the opposite direction.Taking help from someone to slightly lift the refrigerator will facilitate this process.

Compliance with RoHS Directive :
- The product you have purchased complies with EU RoHS Directive(2011/65/EU). It does not contain harmful and proibited materials specified in the Directive.
Package information
- Packing materials of The product are manufactured from recyclable materials in accordance with our National Environment Regulations.Do not dispose of the packaging
materials together with the domestic or other wastes. Take them to the packaging material collection points designated by the local authorities.
Connecting the water line to the water supply
- Connect the water line to a water supply valve. If a valve is not present or you are not sure, consult a qualified plumber.
Connecting the water hose to the refrigerator
- Slip the union (B) on to the water hose (A)
- Push the water hose downwards firmly to slip it onto the water inlet valve (C}.
- Tighten the union (C) by hand to ecure it onto the water inlet valve.Normally, you are not required to tighten the union with a tool. However, you can use a wrench or pliers to tighten the union if there is a leakage.

![]() | WARNING: Connect to potable water supply only. |
![]() | WARNING: Fill With Potable Water Only. |
![]() | DANGER: Risk of fire or explosion Flammable refrigerant used. do not use mechanical devices to defrost refrigerator. Do not puncture refrigerant tubing. |
![]() | CAUTION : Risk of fire or explosion. Flammable refrigerant used. Consult repair manual/owner’s guide before attempting to service this product. All safety precautions must be followed. |
![]() | CAUTION : Risk of fire or explosion. Dispose of properly in accordance with federal or local regulations. Flammable refrigerant used. |
![]() | CAUTION : Risk of fire or explosion due to puncture of refrigerant tubing; Follow handling instructions carefully. Flammable refrigerant used. |
Changing the illumination lamp
To change the Bulb/LED used for illumination of your refrigerator, call your Authorized Service. The lamp(s) used in this appliance is not suitable for house hold room illumination.
The intended purpose ofthis lamp is to assist the user to place food stuffs in the refrigerator food stuffs in the refrigerator/freezer in a safe and comfortable way.The lamps
used in this appliance have to withstand extreme physical conditions such as temperatures below -20 °C. (only chest and upright freezer)
Electrical connection
![]() | WARNING: Do not make conection via extension cable or multi-plus. |
![]() | WARNING: Damaged power cable must be replaced by the Authorized Service Agent. |
![]() | If two coolers are to be installed side by side there should be at 1.5 inches distance between them. |
- Our company shall not be liable for any damages that will arise when the pro duct is used eith out grounding and electrical connection in accorddance with the national
regulations. - Power cable plug must be with in easy reach after installation.
- Do not extension cords or cordless multi outlet between your product and the wall outlet.
Hot Surface Warning 1 Side wall of your product is equipped with refrigerant pipes to improve the cooling system. Refrigerant with high temperature may flow though these areas, resualting in hot surfaces on the side wall this is normal and does not need any servicing.Plase pay attention while touching these area.
Preparation
- Your cooler/freezer should be installed at least 30 cm away from heat sources such as hobs, ovens, central heater and stoves and at least 5 cm away from electrical ovens and should not be located under direct sunlight.
- Please make sure that the interior of your cooler/freezer is cleaned thoroughly.
- If two coolers are to be installed side by side, there should be at least 2 cm distance between them.
- When you operate your cooler/freezer for the first time, please observe the following instructions during the initial six hours.
- Its door should not be opened frequently.
- It must be operated empty without placing any food in it.
- Do not unplug your cooler/freezer. If a power failure occurs out of your control, please see the warnings in the “Recommended solutions for the problems” section.
- The baskets/drawers that are provided with the chill compartment must always be in use for low energy consumption and for better storage conditions.
- Food contact with the temperature sensor in the freezer compartment may increase energy consumption of appliance. Thus any contact with the sensor(s) must be avoided.
- This product has been designed to function at ambient temperatures up to 43°C (90 SOgr F). Even if the ambient temperature falls to -15 °C, frozen food in the freezer does not thaw thanks to its Advanced Electronic Temperature Control System. For the first installation, the product should NOT be placed underlow ambient temperatures. This is because the freezer cannot go down to standard operation temperature. When reaching continuous operation, the product can be moved to another place. Thus, later you can place your product in the garage or an unheated room without the concern of causing frozen food to get rotten. However, it is likely that above mentioned low temperatures may cause the freezing of the food in the fridge compartment; thus, please consume the food items in the fridge in a controlled way as needed. When ambient temperature goes back to normal, you may change button setting according to your need.
- If the ambient temperature is below 0°C, the food in fridge compartment will freeze. Therefore, we recommend not using the fridge compartment in such low ambient temperatures. You may continue to use the freezer compartment as usual.
- In some models, the instrument panel automatically turns off 5 minutes after the door has closed. It will be reactivated when the door has opened or pressed on any key.
- Due to temperature change as a result of opening/closing the product door during operation, condensationon the door/body shelves and the glass containers is normal.
Using your refrigerator
Indicator panel (Internal Display) *Optional
Indicator panels may vary according to the product model.
Audio – visual functions on the indicator panel helps you in using your product.

*optional
Figures that take place in this instruction manual are schematic and may not correspond exactly with your product. If the subject parts are not included in the product you have purchased, then it is valid for other models.
- Freezer compartment indicator
Fridge compartment light is illuminated while the freezer compartment temperature is set. - Error status indicator
If your refrigerator does not perform enough cooling or in case of a sensor fault, this indicator is activated.When this indicator is activated, “E” is displayed on the freezer compartment temperature indicator, and numbers such as “1,2,3…” are displayed on the fridge compartment temperature indicator. These numbers on the indicator inform service personnel about the error. - Temperature indicator
Indicates freezer, fridge compartment temperature. - Vacation function button
Press on Vacation Button for 3 seconds to activate this function.When the vacation function is activated, “- -” is displayed on the fridge compartment temperature indicator and no active cooling is performed on the fridge compartment. It is not suitable to keep the food in the fridge compartment when this function is activated. Other compartments shall be continued to be cooled as per theirset temperature.To cancel this function press Vacation button again. - Temperature setting button
Changes the temperature of the relevant compartment between -24°C… -18°C and 8°C…1°C. - Compartment selection button
Selection button: Press compartment selection button to switch between fridge and freezer compartments. - Fridge compartment indicator
Fridge compartment light is illuminated while the fridge compartment temperature is set. - Economy mode indicator
Indicates that the refrigerator operates in energy saving model.This display shall be activated if the freezer compartment temperature is set to -18°C. - Vacation function indicator
Indicates that vacation is activated. - Icematic function (optional)
Indicates whether the icematic is on or off.(
)If On, then the icematic is not operating.To operate the icematic again press and hold the On-Off button for 3 seconds.
*Sabbath Mode: (Optional)
To activate sabbath mode. Press Temperature setting button and Compartment selection button for 3 seconds at the same time. The display will show PS “0”. Press Compartment selection button (9 time) untill display show PS “9”. After that press Temperature setting button ,The sabbath mode is active. ( Display show “SA” icon )
When Sabbath Mode is activated, the display, alarm, door opening or light buttons will not function. “SA” will appear in the display. The cooling algorithm is set according to the sabbath fashion. If the user does not deactivate the Sabbath mode, the refrigerator will automatically cancel it in 76 hours. Remark : To cancel sabbath mode : Press Temperature setting button and Compartment selection button at the same time untill display reset
Freezing fresh food
- It must be preferred to wrap or cover the food before placing them in the refrigerator.
- Hot food must cool down to the room temperature before putting them in the refrigerator.
- The food stuff that you want freeze must be fresh and in good quality
- Food stuff must be divided into portions according to the family’s daily or meal based consumption needs.
- The food stuff must be packaged in an airtight manner to prevent them from drying even if they are going tof rom drying even if they are going to be kept for a short time.
- Materials to be used for packaging must be tear-proof and resistant to cold, humidity, odor, oils and acids and they must also be airtight. Moreover, they must be well closed and they must be made from easy to use materials that are suitable for deep freeze usage.
- Frozen food must be used immediately after they are thawed and they should never be re-frozen.
- Please observe the following instructions to obtain the best results.
1 .Do not freeze too large quantities of food at one time. The quality of the food is best preserved when it is frozen right through to the core as quickly as possible. 2.Placing warm food into the freezer compartment causes the cooling system to operate continuously until the food is frozen solid. 3.Take special care not to mix already frozen food and fresh food. - Maximum frozen food storage volume is achieved without using the drawers and the upper shelf cover provided in the freezer compartment. Energy consumption of your appliance is declared while the freezer compartment is fully loaded on shelves without the use of the drawers and upper shelf cover.
- If there is a power failure do not open the freezer door. Even if the power failure lasts up to the “Temperature Increasing Time” indicated in the “Technical specifications of your refrigerator section, frozen food will not be affected. In case the failure lasts longer, the food must be checked and when necessary, must be consumed immediately or must be frozen after cooked.
- Please pay attention to the expiry date, maximum allowed storage period and recommended storage temperature of food stuffs when purchased. If expiry date is passed, do not consume
| Freezer Compartment Setting | Fridge Compartment Setting | Remark |
| -18° C/4° F | 4° C/40° F | This is the normal recommended setting. |
| -20/-4°F-22/- 6°F or -24°C/- 11°F | 4° C/40° F | These setting are reccommended when the ambienttemperature exeeds 30 °C/86°F |
| Quick Freeze | 4° C/40° F | Use w henyou w ish to freeze your foodin a short time. Your product w ill return to its previous mode w hen the process |
| -18° C/4° F or colder | 2° C/37° F | Use these setting if you think that yourf ridge compartment is noy cold enough because of hotambient conditions or frequent opening and closing of the door |
Recommendations for preservation of frozen food
- Prepacked commercially frozen food should be stored in accordance with the frozen food manufacturer’s instructions for a ( 4 star) frozen food storage compartment.
- To ensure that the high quality achieved by the frozen food manufacturer and the food retailer is maintained, the following should be remembered:
- Put packages in the freezer as quickly as possible after purchase.
- Ensure that contents are labeled and dated.
- Do not exceed “Use By”, “Best Before” dates on the packaging.
Defrosting
The freezer compartment defrosts automatically.
Placing the food
| Freezer compartment shelves | Various frozen food such as meat,fish, ice cream, vegetables and etc. |
| Egg tray | Egg |
| Fridge compartment shelves | Food in pans, covered plates andclosed containers |
| Fridge compartment door shelves | Small and packaged food or drinks (such as milk, fruit juice and beer) |
| Crisper | Vegetables and fruits |
| Freshzone compartment | Delicatessen products (cheese,butter, salami and etc.) |
Deep-freeze information
Food must be frozen as rapidly as possible when they are put in a refrigerator in order to keep them in good quality.
It is possible to keep the food for a long time only at -18°C or lower temperatures.
You can keep the freshness of food for many months (at -18°C or lower temperatures in the deep freeze).
WARNING!
- Food stuffmust be divided into portions according to the family’s daily or meal based consumption needs.
- Foodstuff must be packaged in an airtight manner to prevent them from drying even if they are going to be kept for a short time.
- Materials necessary for packaging:
- Cold resistant adhesive tape
- Self adhesive label
- Rubber rings
- Pen
Materials to be used for packaging the foodstuff must be tear-proof andresistant to cold, humidity, odor, oils and acids. Foodstuff to be frozen should not be allowed to come
in contact with thepreviously frozen items to prevent their partial thawing.
Frozen food must be used immediatelyafter they are thawed and they should never be re-frozen.
Fan
Fan is designed to ensure homogeneous distribution and circulation of the cold air inside your refrigerator. Operation time of the fan may vary depending on the properties of your product.
While the fan works only with the compressor in some products, the control system determines its operation time in some products in accordance with the cooling requirement.
Description and cleaning of odor filter:
optional * Odour filter prevents unpleasant odor build-up in your refrigerator. Pull the cover into which the odour filter is installed downwards from the front section and remove as illustrated. Leave the filter under sunlight for one day. Filter will be cleaned during this time. Install the filter back to its place. Odour filter must be cleaned once in a year.
Chiller compartment (This feature is optional)
Use this compartment to store delicatessen that shall be stored in a lower temperature or meat products that you will consume in a short time. Chiller compartment is the coolest place in your refrigerator where you can keep dairy products, meat, fish and poultry under ideal storage conditions.Fruits and vegetables should not be stored in this compartment.
Crisper
Crisper of the product is designed specially to keep the vegetables fresh without loosing their humidity. For this purpose, cool air circulationis intensified around the crisper in general.
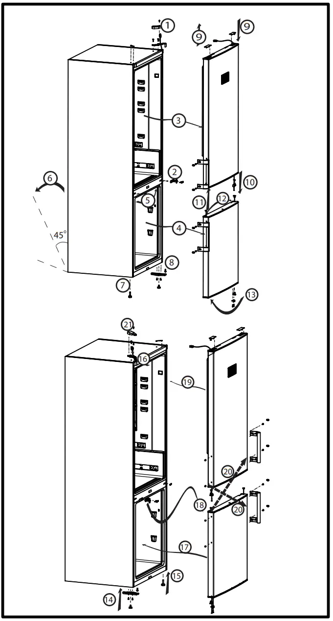
Reversing the doors (This feature is optional) Proceed in numerical order .

Maintenance and cleaning
Never use gasoline, benzene or similar substances for cleaning purposes.
We recommend that you unplug the appliance before cleaning.
Never use any sharp abrasive instrument, soap, householcleaner, detergent and wax polish for cleaning.
Use lukewarm water to clean the cabinet of your refrigerator and wipe it dry.
Use a damp cloth wrung out in a solution of one teaspoonof bicarbonate of soda to one pint of water to clean the interior and wipe it dry.
Make sure that no water enters the lamp housing and otherelectrical items.
If your refrigerator is not going to be used for a long period of time, unplug the power cable, remove all foodclean it and leave the door ajar.
Check door seals regularly to ensure they are clean and free from food particles.
To remove door racks, remove all the contents and then simply push the door rack upwards from the base.
Never use cleaning agents or water that contain chlorine to clean the outer surfaces and chromium coatedparts of the product. Chlorine causes corrosion
on such metal surfaces.
Do not use sharp, abrasive tools,soap, household cleaning agents,detergents, kerosene, fuel oil, varnish etc. to prevent removal and deformation
of the prints on the plastic part. Use lukewarm water and a soft cloth for cleaning and then wipe it dry.
Avoiding bad odours Materials that may cause odour are not used in the production of our refrigerators. However, due to inappropriate food preserving conditions and not cleaning the inner surface of the refrigerator as required can bring forth the problem of odour. Pay attention to following to avoid this problem:
- Keeping the refrigerator clean is important. Food residuals, stains, etc. can cause odour. Therefore, clean the refrigerator with carbonate dissolved in water every 15 days.
- Keep the food in closed containers. Microorganisms spreading out from uncovered containers can cause unpleasant odours.
- Never keep the food that have expired best before dates and spoiled in the refrigerator
Protection of plastic surfaces
Do not put the liquid oils or oil-cooked meals in your refrigerator in unsealed containers as they damage the plastic surfaces of your refrigerator. In case of spilling or smearing oil on the plastic surfaces, clean and rinse the relevant part of the surface at once with warm water.
Troubleshooting
Please review this list before calling for service. It will save your time and money. This list includes frequent complaints that are not arising from defective workmanship or material usage. Some of the features described here may not exist in your product.
The refrigerator does not operate.
- The plug is not inserted into the socket correctly. >>>Insert the plug into the socket securely.
- The fuse of the socket which your refrigerator is connected to or the main fuse have blown out.>>Check the fuse.
Condensation on the side wall of the fridge compartment (MULTIZONE, COOL CONTROL and FLEXI ZONE).
- Door has been opened frequently. >>>Do not open and close the door of refrigerator frequently.
- Ambient is very humid. >>>Do not install your refrigerator into highly humid places.
- Food containing liquid is stored in open containers. >>>Do not store food with liquid content in open containers.
- Door of the refrigerator is left ajar. >>>Close the door of the refrigerator.
- Thermostat is set to a very cold level. >>>Set the thermostat to a suitable level.
Compressor is not running
- Protective thermic of the compressor will blow out during sudden power failures or plug-out plug-ins as the refrigerant pressure in the cooling system of the refrigerator has not been balanced yet. The refrigerator will start running approximately after 6 minutes. Please call the service if the refrigerator does not startup at the end of this period.
- The fridge is in defrost cycle. >>>This is normal for a full-automatically defrosting refrigerator. Defrosting cycle occurs periodically.
- The refrigerator is not plugged into the socket. >>>Make sure that the plug is fit into the socket.
- Temperature settings are not made correctly. >>>Select the suitable temperature value.
- There is a power outage. >>>Refrigerator returns to normal operation when the power restores.
The operation noise increases when the refrigerator is running.
- The operating performance of the refrigerator may change due to the changes in the ambient temperature. It is normal and not a fault.
The refrigerator is running frequently or for a long time.
- New product may be wider than the previous one. Larger refrigerators operate for a longer period of time.
- The room temperature may be high. >>>It is normal that the product operates for longer periods in hot ambient.
- The refrigerator might be plugged in recently or might be loaded with food. >>>When the refrigerator is plugged in or loaded with food recently, it will take longer for it to attain the set temperature. This is normal.
- Large amounts of hot food might be put in the refrigerator recently. >>>Do not put hot food into the refrigerator.
- Doors might be opened frequently or left ajar for a long time. >>>The warm air that has entered into the refrigerator causes the refrigerator to run for longer periods. Do not open the doors frequently.
- Freezer or fridge compartment door might be left ajar. >>>Check if the doors are closed completely.
- The refrigerator is adjusted to a very low temperature. >>>Adjust the refrigerator temperature to a warmer degree and wait until the temperature is achieved.
- Door seal of the fridge or freezer may be soiled, worn out, broken or not properly seated. >>>Clean or replace the seal. Damaged/broken seal causes the refrigerator to run for a longer period of time in order to maintain the current temperature.
Freezer temperature is very low while the fridge temperature is sufficient.
- The freezer temperature is adjusted to a very low value. >>>Adjust the freezer temperature to a warmer degree and check.
Fridge temperature is very low while the freezer temperature is sufficient.
- The fridge temperature is adjusted to a very low value. >>>Adjust the fridge temperature to a warmer degree and check.
Food kept in the fridge compartment drawers is frozen.
- The fridge temperature is adjusted to a very high value. >>>Adjust the fridge temperature to a lower value and check.
The refrigerator is running frequently or for a long time.
- The fridge temperature is adjusted to a very high value. >>>Fridge compartment temperature setting has an effect on the temperature of the freezer. Change the temperatures of the fridge or freezer and wait until the relevant compartments attain a sufficient temperature.
- Doors are opened frequently or left ajar for a long time. >>>Do not open the doors frequently.
- Door is ajar >>>Close the door completely.
- The refrigerator is plugged in or loaded with food recently. >>>This is normal.When the refrigerator is plugged in or loaded with food recently, it will take longer for it to attain the set temperature.
- Large amounts of hot food might be put in the refrigerator recently. >>>Do not put hot food into the refrigerator.
Vibrations or noise.
- The floor is not level or stable. >» If the refrigerator rocks when moved slowly, balance it by adjusting its feet. Also make sure that the floor is strong enough to carry the refrigerator, and level.
- The items put onto the refrigerator may cause noise. >>>Remove the items on top of the refrigerator.
There are noises coming from the refrigerator like liquid flowing, spraying, etc.
- Liquid and gas flows occur in accordance with the operating principles of your refrigerator. It is normal and not a fault.
Whistle comes from the refrigerator.
• Fans are used in order to cool the refrigerator. It is normal and not a fault.
Condensation on the inner walls of refrigerator.
- Hot and humid weather increases icing and condensation. It is normal and not a fault
- Doors are opened frequently or left ajar for a long time. Do not open the doors frequently. Close them if they are open.
- Door is ajar >>>Close the door completely.
Humidity occurs on the outside of the refrigerator or between the doors.
- There might be humidity in the air; this is quite normal in humid weather. When the humidity is less, condensation will disappear.
Bad odour inside the refrigerator.
- No regular cleaning is performed. >>>Clean the inside of the refrigerator regularly with a sponge, lukewarm water or carbonate dissolved in water.
- Some containers or package materials may cause the smell. >>>Use a different container or different brand packaging material.
- Food is put into the refrigerator in uncovered containers. >>>Keep the food in closed containers. Microorganisms spreading out from uncovered containers can cause unpleasant odours.
- Remove the foods that have expired best before dates and spoiled from the refrigerator
The door is not closing.
- Food packages are preventing the door from closing. >>>Replace the packages that are obstructing the door
- The refrigerator is not completely even on the floor. >>>Adjust the feet to balance the refrigerator.
- The floor is not level or strong. >>>Make sure that the floor is level and capable to carry the refrigerator.
Crispers are stuck.
- The food is touching the ceiling of the drawer. >>>Rearrange food in the drawer.
WARNING: This product can expose you to chemicals including Nickel (Metallic) which is known to the State of California to cause cancer.
- For more information go to www.P65Warnings.ca.gov
- Note : Nickel is a component in all stainless steel and some other metal components.
WARRANTY STATEMENT FOR THE BLOMBERG REFRIGERATORS
The warranties provided by Blomberg in these statements only apply to Blomberg refrigerators sold to the original purchaser or homeowner in the US and Canada. The warranty is not transferable. To obtain warranty service, please contact our nearest dealer or distributor as listed by state and province. You will need your refrigerator model number, serial number, retailer name and address where purchased and purchase date / installation date. This warranty gives you specific legal rights, and you may also have other rights which vary from state to state. Also, please make sure you register your product for warranty at www.blombergappliances.com.
1 year (*) full warranty from date of first installation
Blomberg will repair or replace at no cost to the consumer any defective parts of the refrigerator if used under normal household conditions (warranty is void if the product is used commercially e.g., bed + breakfast, nursing home etc.). Service must also be performed by an authorized Blomberg service agency. (Cosmetic defects must be reported within 10 business days from installation). 1 year warranty on the accessories is for the parts only and does no include labor.
2 year*++ limited warranty from date of first installation (Parts only) Blomberg will repair or replace any parts at no cost to the consumer if material defects or workmanship have caused the damage or failure of these components. Again the refrigerator must have been used under normal household conditions and not commercially as stated above (Labor charges are the responsibility of the consumer).
2-5 year (“, **) limited warranty from date of first installation
(parts only 2-5 years) Blomberg will repair or replace any compressors, evaporators, condensers and dryers at no cost to the consumer if material defects or workmanship have caused the damage or failure of these components. The refrigerator must have been used under normal household conditions and not commercially (Labor charges are the responsibility of the consumer)
Disclaimers of warranties and exclusions:
Warranty does not cover service costs by an authorized service agent to correct installation, electrical problems or educational instruction on the use of the refrigerator. The warranty also does not cover defects or damage caused by an act of God (such as storms, floods, fires, mudslides, etc.), damage cause by use of the refrigerator for purposes other than those for which it was designed, misuse, abuse, accident, alteration, improper installation, maintenance, travel fees, service calls outside normal service hours, pick up and delivery, any food loss due to product failure, unauthorized service work or work.
This product is fully tested and went through official quality assurance inspections before leaving the original manufacturing site. Warranty terms for this Blomberg household appliance is not valid if the product is altered, tampered, modifed, additional parts assembled, fixed and re-packed by an authorized distributor, servicer, a third party retailer, reseller or by any other unauthorized person(s).
TO THE EXTENT PERMITTED BY LAW, THIS WARRANTY IS IN LIEU OF ALL OTHER EXPRESSED AND IMPLIED WARRANTIES, INCLUDING THE IMPLIED WARRANTIES OF MERCHANTABILITY AND FITNESS FOR A PARTICULAR PURPOSE. BLOMBERG UNDERTAKES NO RESPONSIBILITY FOR THE QUALITY OF THIS PRODUCT EXCEPT AS OTHERWISE PROVIDED IN THIS WARRANTY STATEMENT. BLOMBERG ASSUMES NO RESPONSIBILITY THAT THE PRODUCT WILL BE FIT FOR ANY PARTICULAR PURPOSE FOR WHICH YOU MAY BE BUYING THIS PRODUCT, EXCEPT AS OTHERWISE PROVIDED IN THIS WARRANTY STATEMENT.
Blomberg does not assume any responsibility for incidential or consequential damages. Such damages include, but are not limited to, loss of profits, loss of savings or revenue, loss of use of the refrigerator or any associated equipment, cost of capital, cost of any substitute equipment, facilities or services, downtime, the claims of third parties, and injury to property. Some states do not allow the exclusion or limitation of incidental or consequential damages, so the above limitations or exclusion may not apply to you.
(*) Installation date shall refer to either purchase date or 5 business days after delivery of the product to the home, whichever is later. (**) Parts replaced will assume the identity of the original parts + their original warranty.
No Other Warranties. This Warranty Statement is the complete and exclusive warranty from the manufacturer. No employee of Blomberg or any other party is authorized to make any warranty statements in addition to those made in this Warranty Statement.
Please keep this warranty card, user manual and your sales slip for future reference.
HOW TO GET SERVICE
Please contact the Dealer or Distributor for your State or Province as listed on the website Where To Buy, or call our Toll Free Number as 1 800 459 9848 for direction to an Authorized Blomberg Service Agent.



















