Tempo4C Fitness Tracker
User Guide
What’s Included
![]()
Actxa Tempo 4C Fitness Tracker
The Actxa Tempo 4C is an all-day fitness tracker with steps, heart rate, blood oxygen (SpO2), and sleep* tracking features.
![]()
* Sleep tracking function is available only to eligible National Steps Challenge™ participants. For more info, visit Stepschallenge.gov.sg.
Set-up/Restore Your Healthy 365 Account
![]()
Download or update to the latest version of the Healthy 365 app*. Create your profile, or restore your profile if you already have one.
| https://go.gov.sg/h365appstoretrackerbox | https://go.gov.sg/h365playstoretrackerbox |
* The latest version of the Healthy 365 app requires your device to be running on at least Android 6 or iOS10.
Switching On The Tempo 4C Fitness Tracker
The Tempo 4C fitness tracker has been set to hibernation mode during manufacturing to preserve battery health. To begin, press and hold the touch button for at least 8 seconds.
It is recommended to fully charge your fitness tracker before you begin to use it. Refer to the section on “Charging The Battery” for more info.
![]()
Join National Steps Challenge™
On the Healthy 365 app, find “National Steps Challenge™ Season 6” and tap on “Join Now”. Agree to the Terms and Conditions and complete your Health Declaration.
![]()
Pairing The Fitness Tracker via Bluetooth ®
On the “Home” tab of the Healthy 365 app, tap on “Pair your fitness tracker or app” and select “HPB Trackers”.
Turn on Bluetooth ® on your smartphone. Place your fitness tracker within 30cm of your smartphone.
![]()
Pairing The Fitness Tracker via Bluetooth®
Tap on “Pair via Bluetooth” and select Tempo 4C.
You will be prompted to key in a 4-digit code. Check your fitness tracker for your 4-digit code. Key in the code and tap “Submit”.
![]()
Syncing Of Data
On the “Home” tab, tap on “Sync now” to sync your fitness tracker.
![]()
Using The Tempo 4C Fitness Tracker
To toggle the display, simply tap on the touch button. Tap continuously to view different features of the fitness tracker and the Bluetooth® Friendly Name (BFN).
![]()
Track Your Heart Rate With The Workout Mode
The fitness tracker will automatically record your heart rate throughout the day as long as it is turned on, has a sufficient battery, and is worn correctly on the wrist. There is no need to activate heart rate tracking. However, if you would like to observe changes in your heart rate in real-time on the fitness tracker, you can trigger the “Workout Mode”.
Tap the touch button until you see the workout screen. Press and hold to view the list of workout modes available.
Tap to toggle between 4 different workout modes: walking, running, cycling and others. Press and hold to start the workout of your choice.
![]()
Heart-Rate Range
Track your heart-rate range to identify which tier your workout falls under.
| Heart-Rate Range | ||
| LIGHT 57% – 63% of Maximum Heart-Rate | MODERATE 64% – 75% of Maximum Heart-Rate | VIGOROUS 76% – 95% of Maximum Heart-Rate |
Moderate-to-Vigorous Physical Activity (MVPA) is attained when you reach at least 64% of your maximum heart rate. To find out your estimated maximum heart rate, deduct your current age from 220. E.g. A 30-year-old will have an estimated maximum heart rate of 220 – 30 = 190.
Note: If you have a medical or heart condition, consult your doctor before using this product.
Ending Workout Mode
To stop the “Workout Mode”, press and hold again. Tap to confirm the end of your workout session.
Your workout summary will be shown. To exit, press and hold again.
![]()
You will be able to see the duration of your higher intensity physical activities when you sync your fitness data on the Healthy 365 app.
Note: Exiting the “Workout Mode” does not mean the fitness tracker will stop tracking your heart rate. The fitness tracker will always be tracking your heart
rate and steps as long as it is turned on, has a sufficient battery, and is worn correctly on the wrist. Do also note that staying on the “Workout Mode” for extended periods of time will drain the battery.
Measuring Blood Oxygen (SpO2)
Tap the touch button on the fitness tracker until you see the “Blood Oxygen” screen. Press and hold to start the blood oxygen measurement.
When measuring your SpO2 level, it is recommended that you remain seated and still. Ensure that the fitness tracker is worn correctly on the wrist, with the screen facing upwards.
Your blood oxygen reading should show within 1-2 minutes. To exit the blood oxygen measurement page, press and hold.
If the fitness tracker fails to detect your blood oxygen level, repeat the steps above to try again.
![]()
Sleep Tracking (For Eligible Participants)
The fitness tracker will automatically track your sleep duration as long as it is turned on, has a sufficient battery, and is worn correctly on the wrist when you go to sleep. There is no need to activate sleep tracking. You will be able to see your sleep duration when you sync your fitness tracker on the Healthy 365 app. You will not be able to view the sleep data on your fitness tracker.
![]()
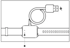
Charging The Battery
The battery indicator is displayed on the home screen of the fitness tracker. Charge the fitness tracker when the battery indicator is low. The whole charging process takes about 3 hours.
Important Note: Do not overcharge the battery as this may cause the battery performance to deteriorate over time.
When charging, ensure that the charging contact points on the fitness tracker and the magnetic cradle are aligned.
Water-Resistant
The fitness tracker is water-resistant. It is not suitable for underwater activities.
It is recommended that you remove the fitness tracker when you are swimming, engaging in watersports, entering a steam/sauna room, or showering.
![]()
Technical Specifications
Battery Capacity: 200mAh
Battery Life: Approx. 7 days of usage (Depending on usage intensity )
Charging input: 5V—0.2A
Weight: 30g
Operating Temperatures: 0°C – 45°C
Connection Type: Bluetooth 5.0 BLE
OS Requirements: Android 6, iOS 10 or above
Note: All specifications are subject to actual performance. Actxa reserves the right of final interpretation of terms.
Support
For inquiries about the Healthy 365 app and National Steps Challenge™, please call the Health Promotion Board hotline at: 1800 567 2020
or email: [email protected]
For more information about Tempo 4C Fitness Tracker, please visit: actxa.com/Tempo4
Limited Product Warranty
The Tempo 4C heart rate fitness tracker (The ‘Product’) is guaranteed against manufacturer’s defects for a period of 1 year from date of purchase or otherwise indicated by HPB. This warranty only covers defects in materials and workmanship. If the fitness tracker is found to be faulty due to defects in materials and workmanship, the authorized service provider will replace it with another fitness tracker.
The warranty does not cover normal wear and tear, excessive abuse or misuse and damage arising from failure to follow instructions relating to the Product’s use. This Limited Warranty does not cover the services provided by Actxa or any 3rd party service provider. All warranty claims must be accompanied by a sales receipt.
Model No: 1963C



















