VITEK VTC-TNB5RFEA-2 Transcendent Series 5 MegaPixel Fixed IP WDR Bullet Camera
![]()
Product Information
The Transcendent Series 5 MegaPixel Fixed IP WDR Bullet Camera, model number VTC-TNB5RFEA-2, is a high-quality security camera designed for indoor and outdoor use. It features advanced WDR (Wide Dynamic Range) technology that enables it to capture clear images even in challenging lighting conditions. The camera also includes a built-in microphone for audio surveillance (please research local,
state, and federal laws regarding the implementation of audio surveillance before use). The camera comes with a locking ring, mounting base, network connector, audio input, power connector, MicroSD card slot, reset button, and mic. It can be connected to a network using an Ethernet cable and can be powered either by PoE (Power over Ethernet) or an approved 12VDC power supply.
Product Usage Instructions
Components and Accessories
- Camera Quick Guide
- Screws
- Drill Template
- Plastic Plugs
- Network Coupler
Cable Connections
To connect the camera to a network, first connect the weather-resistant cap to an Ethernet patch cable and then connect the camera’s Ethernet adapter. If not powering the camera with PoE, also connect the power cable to an approved 12VDC power supply.
Installation
Before beginning installation, make sure that the wall or ceiling is strong enough to withstand three times the weight of the camera. Follow these steps for installation:
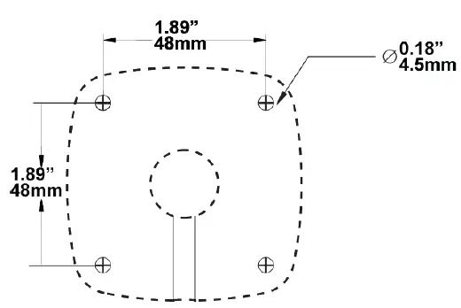
- Attach the drill template to the place where you want to install the camera, then drill three screw holes and one cable hole (if you want to route the cables through the mounting base) according to the drill template.
- Route the cables and connect the power and video cables, use the rubber plug to fill the gap of the mounting base, then secure the mounting base to the ceiling or wall with screws.
- Loosen the locking ring to adjust the Pan and Tilt of the camera, then tighten the locking ring to secure the viewing angle adjustment.
LAN Configuration
The camera can be accessed on the local network either using the IP-Tool or directly in a web browser. Follow these steps to access the camera using the IP-Tool:
- Make sure the camera and PC are connected to the LAN.
- Locate the IP-Tool installer at www.vitekcctv.com/Downloads/Software/Transcendent-IPTool_v2.0.2.zip, then install it on the PC. Open the installed application.
- Modify the IP address. The default IP address is 192.168.226.201. Click the information of the camera listed in the above table to show the network information on the right side. Modify the IP address and gateway of the camera and make sure its network address is in the same local network segment as the computer’s. Please modify the IP address of your device according to the practical situation. For example, if the IP address of your computer is 192.168.13.4, change the IP address of the camera to 192.168.13.X. After modification, input the password of the administrator and click Modify button to modify the setting. Default admin password: 123456.
- Double-click the IP address and then the system will pop up the web browser to connect IP-CAM. The IE browser will download the Active X control. After downloading, a login window will pop up.
FEATURES
- 1/2.7” 5.0 Megapixel CMOS Image Sensor
- Up to 20fps@5MP (2880 × 1620), Up to 30fps@4MP (2560 × 1440), 3MP (2304 × 1296), 1080P (1920 × 1080), 720P (1280 × 720), D1, 480× 240, CIF
- 2.8mm Fixed Iris Lens
- Matrix IR (up to 100’ IR Range)
- True Wide Dynamic Range (120dB)
- True Mechanical Day/Night function by ICR
- XD-DNR (3D & 2D-DNR) Noise Reduction
- Region Intrusion Detection, Object Abandoned / Missing, Scene Change Detection, Line Crossing, Video Blur, Video Color Cast Detection
- H.265+ / H.265 / H.264+ / H.264 / MJPEG
- MicroSD Card Slot for Local Recording (Up to 256GB)
- 1 Ch. Audio In + Built-in Mic*
- Remote Viewing via CMS, IE (plug-in required)/Google Chrome/Edge/Firefox/Safari, and iOS & Android Apps
- ONVIF Compliant
- IP67 Weather Resistance
- Wall Mount Included & Optional Junction Box (VT-TJB08) Available See Additional Mounting Options on Pg. 9
- 12VDC & PoE (Power over Ethernet) Operation
- 3-Year Warranty
- Please research local, state and federal laws regarding the implementation of audio surveillance.
2 Components and Accessories
| Camera | Drill Template | |
| Quick Guide | Plastic Plugs | |
| Screws | Network Coupler |
Overview
![]()
- Locking Ring
- Mounting Base
- Network Connector
- Audio Input
- Power Connector
- MicroSD Card Slot
- Reset
- Mic
Cable Connections
First connect the weather resistant cap to an ethernet patch cable, then connect the cameras ethernet adaptor. If not powering the camera with PoE, also connect the power cable to an approved 12VDC power supply.![]()
Weather Resistant Network Coupler![]()
- Loosen the nut from the Weather Resistant Network Coupler,
- Run ethernet cable through coupler, then attach a RJ-45 connector.
- Tighten the nut and coupler for a weather resistant seal.
Installation
Before beginning installation, make sure that the wall or ceiling is strong enough to withstand 3 times the weight of the camera. The mounting steps are as follows:
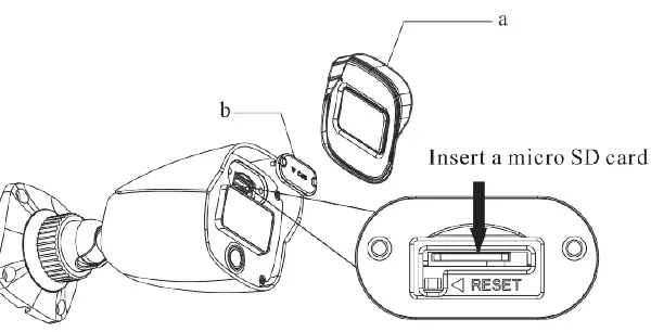
MicroSD Card Installation: Remove the plastic cover (a) from the camera, then loosen the two screws on (b). Remove (b) and insert card before re-installing (b) and (a).![]()
- Attach the drill template to the place where you want to install the camera, then drill 3 screw holes and 1 cable hole (if you want to route the cables through the mounting base) according to the drill template

- Route the cables and connect the power & video cables, use the rubber plug to fill the gap of the mounting base. then secure the mounting base to the ceiling or wall with screws.

- Loosen the locking ring to adjust the Pan and Tilt of the camera, then tighten the locking ring to secure the viewing angle adjust-

LAN Configuration
![]()
The camera can be accessed on the local network either using the IP-Tool or directly in a web browser.
Accessing the Camera Using the IP-Tool
- Make sure the camera and PC are connected to the LAN.
- Locate the IP-Tool installer at www.vitekcctv.com/Downloads/Software/Transcendent-IPTool_v2.0.2.zip, then install on the PC. Open the installed application.

- Modify the IP address. The default IP address is 192.168.226.201. Click the information of the camera listed in the above table to show the network information on the right side. Modify the IP address and gateway of the camera and make sure its network address is in the same local network segment as the computer’s. Please modify the IP address of your device according to the practical situation.
For example, the IP address of your computer is 192.168.13.4. So the IP address of the camera shall be changed to 192.168.13.X. After modification, please input the password of the administrator and click “Modify” button to modify the setting.
- Default admin password: “123456″.
- Double-click the IP address and then the system will pop up the web browser to connect IP-CAM . IE browser will download the Active X control. After downloading, a login window will pop up as shown below:
Input the user name and password to log in.
- Default user name: admin / Default password: 123456.
Directly Access Through a Web Browser
- The default network settings are as shown below:
- IP address: 192.168.226.201 HTTP: 80
- Subnet Mask: 255.255.255.0 Data Port: 9008
- Gateway: 192.168.226.1
You may use the above default settings when you log in the camera for the first time.
- Manually set the IP address of the PC. The network segment should be the same as the default settings of IP-CAM. Open the network and share center. Click “Local Area Connection” to pop up the
following window.
Select “Properties” and then select Internet protocol according to the actual situation (for example: IPV4). Next, click “Properties” button to set the network of the PC.

- Open the IE Browser and input the default address of IP-CAM and confirm. The IE browser will download Active X control.
- After downloading Active X control, the login dialog box will pop up.
- Input the default username and password and then enter to view.
WAN Configuration
Access the camera by the router or virtual server for example.
- Make sure the camera is connected to the LAN; Then log into the camera via LAN and go to System Congfig→Network Config→Port menu to set up the port number.
- Enter System Config→Network Config→IP Address menu to modify the IP address.

- Go to the router’s management interface through IE browser to forward the IP address and port of IP-CAM in the “Virtual Server”.

- Open the web browser and input its WAN IP and HTTP port to access the IP-CAM.
- For additional setup, features and functions, please scan the QR code on the front page of this quick guide and download the complete manual.
![]()
![]()
![]()
- Please research local, state and federal laws regarding the implementation of audio surveillance.
- VT-TJB08
Optional Junction Box - VT-TPLMT
Transcendent Universal Pole Mount – Ivory, reqs. VT-TJB08 - VT-TCNMT
Transcendent Universal Corner Mount – Ivory, reqs. VT-TJB08
![]()
A Standalone Solution with Analytic Support and NDAA Compliance!
- 8MP (4K) HDMI Output
- H.265S / H.265+ / H.265 / H.264 Video Compression
- Analytic Support Including Basic Face Detection, License Plate Recognition, and More!
- Available in 4, 8, and 16 Channels
- Up to 24TB Depending on Model (12TB per HDD)
- PoE Support on ALL Models

- Also Consider Vitek NDAA Compliant Wireless Access Points to Reduce Costly Cable Installation!
- VT-WAP1150 and VT-WAP2150 High Speed 5.8GHz DIP AP / CPE Wireless Bridge w/ 8MB Storage, 64MB RAM, 150MBps transmission, and Point-to-Multi-Point (P2MP) Topology

With high speed transmission of 150Mbps and a wireless range of 3000ft. (VT-WAP1150) and 1.25 miles (VT-WAP2150) these products eliminate the need for expensive and troublesome long-distance
cables in areas where CCTV monitoring and rigorous surveillance take place. These small, lightweight and durable units are easy to install and easy to use with an innovative and straightforward 10-button plug-and-play dip switch that facilitates the creation of a robust wireless network without a computer. Set-up can be simply configured for point-to-point or point-to-multipoint topology depending on the application, with up to 128 IP group configurations!![]()
LIMITED PRODUCT WARRANTY
- VITEK products carry a three (3) year limited warranty. VITEK warrants to the purchaser that products manufactured by VITEK are free of any rightful claim of infringement or the like, and when used in the manner intended, will be free of defects in materials and workmanship for a period of three (3) years, or as otherwise stated above, from the date of purchase by the end user. This warranty is nontransferable and extends only to the original buyer or end user customer of a VITEK Authorized Reseller.
- The product must have been used only for its intended purpose, and not been subjected to damage by misuse, willful or accidental damage, caused by excessive voltage or lightning.
- The product must not have been tampered with in any way or the guarantee will be considered null and void.
- This guarantee does not affect your statutory rights.
- Contact your local VITEK Reseller should servicing become necessary.
- VITEK makes no warranty or guarantee whatsoever with respect to products sold or purchased through unauthorized sales channels. Warranty support is available only if product is purchased through a VITEK Authorized Reseller.
PLEASE NOTE
Complete User Guide, Software, Tools, and Updates are available online. Scan the QR Code or visit: http://www.vitekcctv.com/Downloads
28492 CONSTELLATION ROAD VALENCIA, CA 91355 WWW.VITEKCCTV.COM


















