LEICKE EP18222 Bluetooth Speaker DJ Roxxx Round Clip
PACKAGE CONTENTS
Before attempting to use this device, please check the packaging and make sure the following items are contained in the package:
| Number of Pieces | Name | Note |
| 1 | Bluetooth speaker | integrated battery |
| 1 | USB-C charging cable | – |
| 1 | carabiner | – |
| 1 | user’s manual | – |
TECHNICAL DETAILS
| TECHNICAL DETAILS | ||
| Frequency | 100Hz-20KHz | |
| Output | 5 Watt | |
| Supported audio format | MP3 | |
| SD / TF card | up to 32GB | |
| Sensitivity | 83dB +-2dB | |
| Bluetooth version | 5.0+EDR | |
| Bluetooth transmission range | ≤ 10m | |
| Bluetooth usage current | < 30mA | |
| Bluetooth stand-by current | < 15mA | |
| Bluetooth transmission frequency | 2.4GHz-2.480GHz | |
| Bluetooth frequency band | UHF | |
| Bluetooth transmission rate | 24Mbp | |
| Max. playtime | Up to 8 h | |
| Max. transmission | 2.51 mW | |
| Stand-by usage | Up to 50 hours | |
| Charging voltage | DC 5V / 500mA | |
| Battery capacity | 800 mAh | |
| Working temperature | -10~60°C | |
| FM | 87,5-108MHz | |
| Size, Weight | 115mm*115mm*39mm, 190g | |
Note:
- Please charge the battery before using the speaker the first time for about ten hours to ensure a maximum life span.
- Just use the right charging cables.
COMPATIBILTY
Compatible with iPhones, tablets, smartphones, PCs, game consoles etc., which have Bluetooth or AUX output.
BLUETOOTH PAIRING
- Step 1: Switch on the speaker. NO memory card must be inserted to use Bluetooth function. Either use NFC or proceed with step 2.
- Step 2: Go to your telephone’s settings and open and activate the Bluetooth option. In the list of found devices you should now find „LEICKE EP18222“. Connect your device and if a code is needed just enter „0000“.
- Step 3: The speaker is now connected. The pairing will be saved for future usage.
- Step 4: Choose the music via the source device. Adjusting the volume and switching between songs can be done at the speaker (see Controls and Operation).
SD CARD MODE (MP3 PLAYER)
The MP3 function will be started by inserting a memory card. Short pressing the power button to change mode. Also see Controls and Operation.
RADIO
Before switching the speaker on and using the radio function please insert the charging cable whereas the other end of the cable has to be free. It works as antenna. After switching on, press the on/off button shortly to switch to radio mode. Search channels with the multi-functional button. Long press + or – to change between channels. Also see Controls and Operation.
AUX MODE
If you insert an audio cable the speaker will output the audio signal of the connected source device. Music will then be controlled via the source device only and not through the speaker.
HANDS-FREE CALL
Take an incoming call via the multi-functional button. If you end the call with said button, the music will resume playing. To reject a call long press the multi-functional button. Pressing the button shortly two times recalls the last number.
VOICE ASSISTANT
Short press the voice assistant button to activate Siri or Google assistant.
True Wireless Stereo Function (TWS)
Switch on both speakers and then press the voice assistant button twice on both. You will hear two beeps. Both speakers are now successfully connected.
To disconnect the speakers. Turn on any speaker and press the voice assistant button twice again. If you were successful, you will hear a voice.
CHARGING
Connect the device with the charging cable to a USB port. While charging the LED will glow. It stops glowing when charging is completed. Switch the speaker off when not using it to ensure maximum battery life span.
Note: Switch the speaker off during charging to ensure maximum charging results.
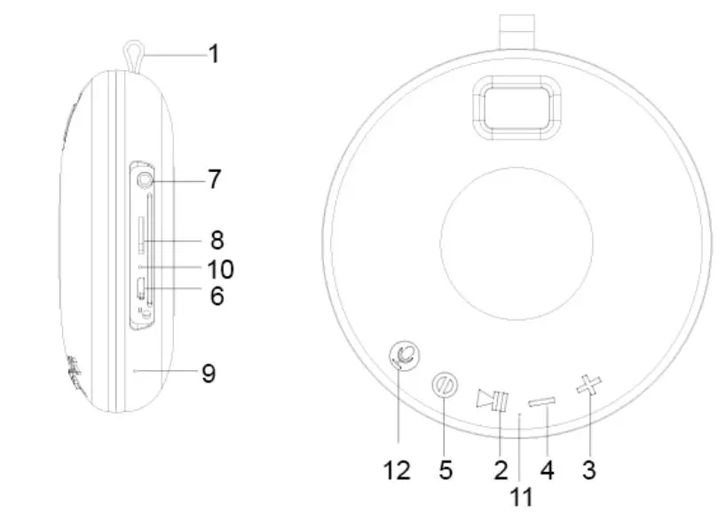
CONTROLS AND OPERATION


TROUBLE SHOOTING
First check if the speaker is charged and switched on.
| Problem | Possible Cause/Possible Solution |
| Playing via Bluetooth not possible | • Is pairing with your device successfully completed? • Try to connect again by switching off and on again. • Check if speaker is in radio mode. • Check if speaker is in range of your device. • Is volume high enough. |
| No playback from Micro SD / TF card | • Are there music files saved on the card. • Try going to the next song by long pressing the forward button. • Is the memory card intact? |
| No playback from radio | • Is the reception disturbed? Try switching the channel with backward or forward. |
| Is the device charged? Restarting the speaker may also help with all troubles. | |
Our customer support will be glad to help you at [email protected].
SAFETY NOTES
- For your own safety and for long enjoyment of our product, please follow the following safety instructions:
- Please use device as described in the manual.
- To protect your hearing and widen the life span of the speaker, maximum volume should not be adjusted over a longer period of time.
- Use 5V /1A power supplies only. The connection of power supplies with higher voltage leads to irreparable damage.
- The speaker is dust and splash resistant, keep it away from deep water.
- Keep away from damp, high temperature, dusty, erosive and oxidative environment.
- Keep safe from being hit or falling down.
- Turn off power when device is not in use for a longer time.
- Do not open cover and do not touch inner parts.
FCC INTERFERENCE STATEMENT
This equipment has been tested and found to comply with the limits for a Class B digital device, pursuant to Part 15 of the FCC Rules.
These limits are designed to provide reasonable protection against harmful interference in a residential installation. This equipment generates, uses and can radiate radio frequency energy and, if not installed and used in accordance with the instructions, may cause harmful interference to radio communications. However, there is no guarantee that interference will not occur in a particular installation. If this equipment does cause harmful interference to radio or television reception, which can be determined by turning the equipment off and on, the user is encouraged to try to correct the interference by one of the following measures: – Reorient or relocate the receiving antenna. – Increase the separation between the equipment and receiver. – Connect the equipment into an outlet on a circuit different from that to which the receiver is connected. – Consult the dealer or an experienced radio/TV technician for help.
This device complies with Part 15 of the FCC Rules. Operation is subject to the following conditions:
- This device may not cause harmful interference, and
- this device must accept any interference received, including interference that may cause undesired operation.
FCC Caution: Any changes or modifications not expressly approved by the party responsible for compliance could void the user’s authority to operate this equipment.
IMPORTANT NOTE:
Radiation Exposure Statement:
This equipment complies with FCC radiation exposure limits set forth for an uncontrolled environment. End users should follow the specific instructions in the user’s manual to comply with the FCC rules.
This transmitter must not be co-located or operating in conjunction with any other antenna or transmitter.
DISPOSAL
This device contains materials that must not be disposed of as household waste. Please check local laws concerning the applicable disposal regulations. Protect the environment by participating in recycling programs.
DECLARATION OF CONFORMITY 
LEICKE GmbH here with declares that the device EP18222 complies with the RED 2014/53/EU and Rohs 2011/65/EU & 2015/863 & 2017/2102 regulations. The declaration of conformity can be found at www.leicke.com. Go to the product you bought and look at downloads.
CONTACT
If you have any questions, please feel free to contact us.
PRODUCTION & WHOLESALE LEICKE GmbH
Stöhrerstraße 17
04347 Leipzig
Germany
Web: www.leicke.com
Mail: [email protected]





![JBL Clip3 [Bluetooth Clip-on Speaker] Manual JBL Clip3 [Bluetooth Clip-on Speaker] Manual](https://manualsee.com/img/471/4442/2019/05/JBL-Clip3.jpg)













