Overview of the appliance and equipment
Note
Shelves, drawers, and baskets are arranged for optimum energy efficiency on delivery.
- Operating controls
- VarioSpace
- Drawer
- Type plate
- Adjustable feet
- NoFrost device
- Freezer pack*
Appliance range of use
Intended use
The appliance is only suitable for cooling food products in a domestic or household-like environment. This includes, for example, the use:
- in staff kitchens, bed and breakfast establishments, by guests in country houses, hotels, motels, and other accommodation,
- for catering and similar services in the whole-sale trade.
All other types of use are not permitted. Foreseeable misuse
The following applications are expressly forbidden:
- Storing and refrigerating medicines, blood plasma, laboratory preparations, or similar substances and products based on the Medical Device Directive 2007/47/EC
- Use in areas at risk of explosions
Misusing the appliance may lead to damage to the goods stored or they may spoil.
Climate classifications
Depending on the climate classification the appliance is designed to operate in restricted ambient temperatures. The climate classification applying to your appliance is printed on the rating plate.
Note
keep to the specified ambient temperatures in order to guarantee that the appliance works properly.
| Climate classification | for ambient temperatures |
| SN, N | to 32 °C |
| ST | to 38 °C |
| T | to 43 °C |
The appliance will work properly down to a lower ambient temperature of 0 °C.
ConformitY
The refrigerant circuit has been tested for leaks. This appliance complies with the applicable safety stipulations and with directives 2014/35/EU, 2014/30/EU, 2009/125/EG, 2011/65/EU, and 2010/30/EU.
EPREL database
Details about energy labeling and ecodesign requirements will be available on the European product database (EPREL) from 1st March 2021. You can access the product database at the following link: https://eprel.ec.europa.EU/ You will be asked to enter the model ID. You can find the model ID on the nameplate.
Installation dimensions
| Modell | h | a | g | e | e’ | d | c | c’ |
| GN 10.. | 851 | 602 | 611x | 628x | 657x | 1176x | 613 | 640 |
| GNP 10.. | 851 | 602 | 611x | 628x | 657x | 1176x | 613 | 640 |
x For appliances supplied with wall spacers, the measurement increases by 35 mm (see 4.2 Installing the appliance) .
Saving energy
- Pay attention to good ventilation. Do not cover ventilation holes or grids.
- Do not install the appliance in direct sunlight, next to an oven, radiator or similar.
- Energy consumption depends on the installation conditions, e. g. the ambient temperature (see 1.2 Appliance range of use) . A warmer ambient temperature can increase the energy consumption.
- Open the appliance for as short a time as possible.
- The lower the temperature is set the higher the energy – Energy consumption depends on the installation conditions, e. g. the ambient temperature (see 1.2 Appliance range of use). A warmer ambient temperature can increase energy consumption.
- Open the appliance for as short a time as possible.
- The lower the temperature is set the higher the energy – Energy consumption depends on the installation conditions, e. g. the ambient temperature (see 1.2 Appliance range of use). A warmer ambient temperature can increase energy consumption.
- Open the appliance for as short a time as possible.
- The lower the temperature is set the higher the energy consumption.
- Keep all food properly packed and covered. This prevents frost from forming.
- Inserting warm food: allow to cool down to room temperature first.
Dust deposits increase energy consumption
- For refrigerators with heat exchangers dust the metal grid on the back of the appliance once a year.
General safety information
The danger for the user
- This device can be used by children and people with impaired physical, sensory or mental abilities or with a lack of experience and knowledge provided that they are supervised or have received instruction in the safe use of this device, and about the resulting hazards. Children must not play with this appliance. Cleaning and user maintenance work must not be carried out by children without adult supervision. Children aged between 3 and 8 are allowed to load and unload the appliance. Children below the age of 3 must be kept away from the appliance unless they are under continuous adult supervision.
- When disconnecting the appliance from the supply, always take hold of the plug. Do not pull the cable.
- In the event of a fault pull out the mains plug or deactivate the fuse.
- Do not damage the mains’ power cable. Do not operate the appliance with a defective main power cable.
- Repairs, interventions on the appliance, and the replacement of the main connection line may only be carried out by After-Sales Service or other suitably trained specialist personnel.
- Only assemble, connect and dispose of the appliance according to the instructions.
- Please keep these instructions in a safe place and pass them on to any subsequent owners.
Fire hazard
- The coolant used (information on the model plate) is eco-friendly but also flammable. Any leaking coolant may ignite.
- Do not damage the refrigerant circuit pipes.
- Do not handle ignition sources inside the appliance.
Controls and displays
- Do not use electrical appliances inside the appliance (e.g. steam cleaners, heaters, ice cream makers, etc.).
- If the refrigerant leaks: remove any naked flames or ignition sources from the vicinity of the leakage point. Properly air the room. Inform customer services.
- Do not store explosives or sprays using combustible propellants such as butane, propane, pentane, etc. in the appliance. To identify these spray cans, look for the list of contents printed on the can, or a flame symbol. Gases possibly escaping may ignite due to electrical components.
- Keep burning candles, lamps, and other items with naked flames away from the appliance so that they do not set the appliance on fire. Please be sure to store alcoholic drinks or other packaging containing alcohol in tightly closed containers. Any alcohol that leaks out may be ignited by electrical components.
Danger of tipping and falling
- Do not misuse the plinth, drawers, doors, etc. as a step or for support. This applies particularly to children.
- The danger of tipping if the door is open if the appliance has not yet been installed properly.
The danger of food poisoning
Do not consume food that has been stored too long.
The danger of frostbite, numbness, and pain
Avoid prolonged skin contact with cold surfaces or refrigerated/frozen goods or take protective measures, e.g wear use gloves.
Danger of injury and damage
- Hot steam can lead to injury. Do not use electrical heating or steam cleaning equipment, open flames or defrosting sprays to defrost.
- Do not use sharp implements to remove the ice.
The danger of crushing
Do not hold the hinge when opening and closing the door. Fingers may get caught.
Symbols on the appliance
The symbol can be located on the compressor. It refers to the oil in the compressor and indicates the following danger: Swallowing or inhaling can be fatal. This is only relevant for recycling. There is no danger in normal operation.
This symbol is found on the compressor and indicates the danger of flammable materials. Do not remove the sticker.
A sticker to this effect may be applied to the rear of the appliance. It refers to the foam-padded panels in the door and/or the housing. This is only relevant for recycling. Do not remove the sticker.
Please observe the specific information in the other sections
![]() | DANGER | identifies a situation involving direct danger that, if not obviated, may result in death or severe bodily injury. |
![]() | WARNING | identifies a dangerous situation that, if not obviated, may result in death or severe bodily injury. |
![]() | CAUTION | identifies a dangerous situation that, if not obviated, may result in minor or medium bodily injury. |
| NOTICE | identifies a dangerous situation that, if not obviated, may result in damage to property. | |
| Note | It contains useful instructions and tips. |
Controls and displays
Operating controls
- On/Off button
- Adjustment button
- temperature display
- SuperFrost button
- SuperFrost symbol
- Alarm symbol
- Menu symbol
- Child lock symbol
- Alarm button
- Power failure symbol
Temperature display
During normal operation, the display shows:
- the highest freezing temperature The temperature display flashes if/when:
- You change the temperature setting
- The appliance is not cold enough after switching on
- The temperature rises by several degrees Stripes flash in the display if/when:
- The freezer temperature exceeds 0 °C.
The following displays indicate a fault. Possible causes and solutions: (see 7 Malfunctions) .
- F0 to F5
- The power failure symbol
flashes.
Putting into operation
Transporting the appliance
- Transport the appliance only in suitable packaging.
- Transport the appliance upright.
- Do not transport the appliance on your own.
Installing the appliance
WARNING
Fire hazard due to dampness!
If live parts or the mains lead become damp this may cause short circuits.
- The appliance is designed for use in enclosed areas. Do not operate the appliance outdoors or in areas where it is exposed to splash water or damp conditions.
WARNING
Risk of fire due to short circuit!
If the mains cable/connector of the appliance or of another appliance touches the rear of the appliance, the mains cable/connector may be damaged by the appliance vibrations, leading to a short circuit.
- Stand the appliance so that it is not touched by connectors or main cables.
- Do not plug the appliance or any others into sockets located near the rear of the appliance.
WARNING
Fire hazard due to refrigerant!
The coolant used is eco-friendly but also flammable. Any leaking coolant may ignite.
Do not damage the piping of the refrigeration circuit.
WARNING
Fire hazard and danger of damage!
Do not place appliances emitting heat e.g. microwaves, toasters, etc. on the appliance!
WARNING
Blocked ventilation openings pose a risk of fire and damage!
NOTICE
Risk of damage due to condensate!
Do not install the appliance directly alongside a further refrigerator/freezer.
- Before you connect the appliance, report any damage immediately to the delivery company.
- The floor of the installation site must be horizontal and even.
- Do not install the appliance in direct sunlight, next to an oven, radiator, or similar.
- The best place for installation is a dry and well-ventilated room.
- Install the appliance with the rear panel up against the wall and always use the supplied wall spacers (see below).
- Only ever move the appliance when it is empty.
- The surface supporting the appliance must be at the same level as the surrounding floor.
- Do not install the appliance on your own.
- The more coolant there is in the appliance, the larger the room in which the appliance is installed must be. If the room is too small, any leak may create a flammable mixture of gas and air. For each 8 g of coolant, the installation space must be at least 1 m3. Information on the coolant is on the model plate inside the appliance.
- Detach the connecting cable from the rear of the appliance, removing the cable holder at the same time because otherwise there will be vibratory noise!
- Remove all transit supports.
The spacers supplied with some appliances must be used to achieve the stated energy consumption. These will extend the depth of the appliance by approx. 35 mm. The appliance is fully functional if the spacers are not used, but does have a slightly higher energy consumption. - In the case of an appliance with enclosed wall spacers, mount the wall spacers on the back of the appliance at the top left and right.

- Dispose of packaging material (see 4.5 Disposing of packaging).
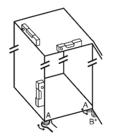
- Align the appliance so that it stands firmly and on a level by applying the accompanying spanner to the adjustable-height feet (A) and using a spirit level.

Note
- Clean the appliance (see 6.2 Cleaning the appliance) .
If the appliance is installed in a very damp environment, condensate may form on the outside of the appliance. - Always see to good ventilation at the installation site.
Changing over the door hinges
You can change over the door hinges if necessary. Make sure that the following tools are at hand:
- Torx® 25
- Torx® 15
- Supplied open-ended wrench
- If necessary, a second person to assist with the installation
CAUTION
Risk of injury if the door tips!
- Take good hold of the door.
- Set down the door carefully.

- Follow the sequence of the item numbers in the diagram.
WARNING
Risk of injury due to the door dropping out!
If the bearing parts are not screwed into place firmly enough, the door may drop out. This may lead to severe injuries. What is more, the door may not close and therefore the appliance may fail to cool properly.
- Screw on the bearing brackets/bearing pins tightly (4 Nm).
- Check all of the screws and retighten if necessary.
Insertion into a row of kitchen units
- Stack cabinet
- Appliance
- Kitchen cabinet
- Wall
x For appliances supplied with wall spacers, the measurement increases by 35 mm (see 4.2 Installing the appliance) .
The appliance can be built into kitchen units. A top cupboard Fig. 5 (2) can be added above the appliance in order to bring the appliance Fig. 5 (1) up to the height of the fitted kitchen units. When installing with kitchen units (max. depth 580 mm), the appliance can be positioned directly next to the kitchen cabinet Fig. 5 (3) . The appliance will project by 34 mm x at the sides and 50 mm x in the centre of the appliance in relation to the kitchen cabinet front.
NOTICE
The danger of overheating due to insufficient air ventilation!
The compressor may be damaged if there is insufficient air ventilation.
- Take care to ensure adequate air ventilation.
- Observe the ventilation requirements.
Ventilation requirements
- At the back of the stack cabinet, there has to be a ventilation duct of at least 50 mm depth throughout the width of the stack cabinet.
- The cross-section of the ventilation gap below the ceiling must be at least 300 cm2.
- the larger the ventilation space, the more energy-saving the appliance is in operation.
If the appliance is installed with the hinges next to a wall Fig. 5 (4) , the distance between the appliance and the wall has to be at least 40 mm. This corresponds to the projection of the handle when the door is open.
Disposing of packaging
WARNING
The danger of suffocation due to the packing material and plastic film!
Do not allow children to play with packing material.
The packaging is made of recyclable materials:
- corrugated board/cardboard
- expanded polystyrene parts
- polythene bags and sheets
- polypropylene straps
- nailed wooden frame with polyethylene panel*
Take the packaging material to an official collecting point.
Connecting the appliance
NOTICE
Failure to connect properly Damage to the electronics.
- Do not use a standalone inverter.
- Do not use an energy-saving plug.
WARNING
Failure to connect properly Fire hazard.
- Do not use an extension cable.
- Do not use distributor blocks.
The type of current (alternating current) and voltage at the installation site have to conform with the data on the type plate (see 1 Appliance at a glance) .
The socket must be properly earthed and fused. The tripping current for the fuse must be between 10 A and 16 A.
The socket must be easily accessible so that the appliance can be quickly disconnected from the supply in an emergency. It must be outside the area of the rear of the appliance.
- Check the electrical connection.
- Plug in the power plug.
Switching on the appliance
Press the On/Off button Fig. 3 (1) .
- The appliance is switched on. The temperature display and Alarm symbol Fig. 3 (6) flash until the temperature is cold enough.
- If “DEMO” is displayed, demo mode is activated. Please contact the after sales service.
Control
Brightness of the temperature display
You can adjust the brightness of the temperature display to the light conditions of the room in which the appliance is installed.
Setting the brightness
The brightness is adjustable between h 0 (minimum brightness) and h 5 (maximum brightness).
- Activate setting mode by pressing the SuperFrost button, Fig. 3 (4) , for approx. 5 sec.
- The Menu symbol is shown on the display, Fig. 3 (7) .
- c flashes on the display.
- Use the adjustment button, Fig. 3 (2) , to select h.
- Briefly confirm with the SuperFrost button, Fig. 3 (4) .
- The display shows the last set brightness value.

- Use the adjustment button, Fig. 3 (2) , to set the desired value from h 0 to h 5.
- Briefly confirm the newly set brightness value with the SuperFrost button Fig. 3 (4) .
- flashes on the display.
- The brightness is set.
- After making the change, deactivate the setting mode: Press the On/Off button Fig. 3 (1) once.
- The temperature display shows the temperature again. If setting mode is already activated but you would like to keep the old brightness value setting:
- Press the On/Off button Fig. 3 (1) twice to deactivate the setting mode.
- The temperature display shows the temperature again.
Childproofing
The child-proofing function enables you to make sure that the appliance is not inadvertently switched off by playing with children.
Setting the child lock![]()
To switch on the function:
- Activate setting mode: press the SuperFrost button Fig. 3 (4) for approx. 5 seconds.
- The Menu symbol Fig. 3 (7) is shown on the display.
- c flashes on the display.
- Briefly confirm with the SuperFrost button, Fig. 3 (4) .
- c1 appears in the display.
- Briefly confirm with the SuperFrost button, Fig. 3 (4) .
- the child lock symbol Fig. 3 (8) , lights up on the display.
- c flashes on the display.
- The child lock function is switched on.
If setting mode is to be terminated: - Briefly press the On/Off button Fig. 3 (1).
-or- - Wait for 5 minutes.
- The temperature display shows the temperature again.
To switch off the function
- Activate setting mode: press the SuperFrost button Fig. 3 (4) for approx. 5 seconds.
- The Menu symbol Fig. 3 (7) is shown on the display.
- c flashes on the display.
- Briefly confirm with the SuperFrost button, Fig. 3 (4) .
- c0 appears in the display.
- Briefly confirm with the SuperFrost button, Fig. 3 (4) .
- Briefly press the On/Off button Fig. 3 (1) .
- -or-
wait for 5 minutes. - The child lock symbol Fig. 3 (8) goes out.
- c flashes on the display.
- The child lock function is switched off. If setting mode is to be terminated:
- The temperature display shows the temperature again.
Door alarm
An audible warning sounds if the door is open for longer than 60 seconds.
The audible warning stops automatically when the door is closed.
Muting the door alarm
The audible alarm can be muted when the door is open. The sound switch-off function is active as long as the door is left open.
- Press alarm button Fig. 3 (9) .
- The door alarm is silenced.
Temperature alarm
The audible alarm sounds if the freezer temperature is not cold enough.
The temperature display and the alarm symbol Fig. 3 (6) flash at the same time.
The cause of the temperature being too high may be:
- warm fresh food was placed inside
- too much warm ambient air flowed in when rearranging and removing food
- Prolonged power outage
- the appliance is faulty
The audible alarm is automatically silenced, the alarm symbol Fig. 3 (6) goes out and the temperature display stops flashing when the temperature is sufficiently cold again.
If the alarm status persists: (see 7 Malfunctions) .
Note
Food may be spoilt if the temperature is not cold enough.
Check the quality of the food. Do not consume spoiled food.
Muting the temperature alarm
The audible alarm can be muted. When the temperature is sufficiently cold again, the alarm function is active again.
- The audible alarm is silenced.
- Press the alarm button Fig. 3 (9).
Freezing food
The rating plate indicates the maximum quantity of fresh food you can freeze within 24 hours (see 1 Appliance at a glance) under “Freezing capacity … kg/24h”.
Each drawer can hold a max. of 25 kg of frozen food.
The shelves can each be loaded with 35 kg of frozen food.
CAUTION
Risk of injury due to broken glass!
Bottles and cans containing drinks may burst when frozen. This applies particularly to sparkling drinks.
- Do not freeze bottles and cans containing drinks!
So that the food is rapidly frozen through to the core, do not exceed the following quantities per pack- Fruit, vegetables up to 1 kg
- Meat up to 2.5 kg
- Pack the food in portions in freezer bags, reusable plastic, metal or aluminum containers
Thawing food
- in the refrigerator compartment
- in a microwave oven
- in a conventional or fan oven
- Remove only as much food as is required. Use thawed food as quickly as possible.
- Food once thawed should be re-frozen only in exceptional cases.at room temperature
Setting the temperature
The temperature depends on the following factors:
- the frequency of opening the door
- how long the door is open for
- the room temperature of the installation location
- the type, temperature and quantity of the food Recommended temperature setting: -18 °C
The temperature is changed sequentially. Once the -28 °C setting is reached, the sequence starts again at -14 °C.
- Call up the temperature function by pressing the adjustment button Fig. 3 (2) once.

- The previously-set value will flash in the temperature display.
- Change the temperature in 1 °C steps: press the setting button Fig. 3 (2) until the required temperature is indicated in the temperature display.
- Change temperature continually: hold down a setting button.
- During the adjustment, the value flashes on the display.
- The new setting is adopted approx. 5 seconds after the last time the button was pressed and the set temperature is again displayed. The temperature in the interior gradually adjusts to the new value.
SuperFrost
With this function, you can freeze fresh food quickly through to the core. The appliance operates with maximum refrigeration. The noise of the refrigeration unit may be temporarily louder as a result. You can freeze as many kilograms of fresh food within 24 hrs as is indicated on the type plate under “Freezing capacity … kg/24hrs”. This maximum freezing quantity can vary depending on the model and climate class. You have to activate SuperFrost in good time, depending on how much fresh food is to be frozen: about 6 hours before placing the food inside in case of small amounts and about 24 hours in advance in case of the maximum amount of food to be frozen.
Wrap produce and spread it out as far as possible. Do not allow products to be frozen to touch produce that is already frozen to prevent the latter from thawing.
You do not have to activate SuperFrost in the following cases:
- when placing frozen food in the freezer
- when freezing up to approx. 2 kg of fresh food daily
Freezing with SuperFrost
- Briefly press the SuperFrost button Fig. 3 (4) once.
- The SuperFrost symbol Fig. 3 (5) shines.
- The freezing temperature drops, and the appliance operates with the maximum cooling capacity.
- Note
When the SuperFrost button is pressed, the built-in switch-on delay may defer compressor activation by up to 8 minutes. This delay extends the service life of the compressor.
For a smaller quantity of products to be frozen
- wait approx. 6 h.
- Place wrapped produce in the top drawers.
For the maximum quantity of products to be frozen: - wait approx. 24 h.
- Remove top drawers and place products directly on the top shelves.
SuperFrost is automatically deactivated. Depending on the quantity placed inside, after 30 h at the earliest, 65 h at the latest. - The SuperFrost symbol Fig. 3 (5) extinguishes once freezing is completed.
- Place produce in the drawers and push the latter back in again.
- The appliance continues to operate in the energy-saving, normal mode.
Drawers
Note
The energy consumption increases and the cooling performance decreases if there is insufficient ventilation.
For appliances with NoFrost:
- Leave the bottom drawer in the appliance!
- Always keep the air slits of the fan-free at the rear wall!

- To store frozen food directly on the shelves pull the drawer forward and lift it out.
Shelves
Moving shelves
- To remove the shelf: lift up at the front and pull out.
- To put the shelf back: simply push in as far as it will go.

VarioSpace
You can remove the shelves and drawers. This leaves more room for larger food items such as poultry, meat, large game and tall baked goods, which can be frozen whole before further preparation.
- Each drawer can hold max. 25 kg of frozen food.
- The shelves can each be loaded with 35 kg of frozen food.
Information system
- Ready-made meals, ice cream
- Pork, fish
- Fruit, vegetables
- Sausages, bread
- Game, mushrooms
- Poultry, beef/veal
The figures indicate the storage time in months for several types of frozen food in each case. Storage times given are guide times.
Freezer pack*
Freezer packs prevent the temperature rising too quickly should there be a power cut.
Using freezer packs*
Put the fully frozen freezer packs on the frozen food in the top front section of the freezer compartment.
Maintenance
Defrosting with NoFrost
The NoFrost system automatically defrosts the appliance. The moisture condenses on the evaporator, is periodically defrosted and evaporates.
The appliance does not have to be manually defrosted.
Cleaning the appliance
Clean the appliance regularly.
WARNING
Risk of injury and damage as a result of hot steam!
Hot steam can lead to burns and can damage the surfaces.
Do not use any steam cleaners!
NOTICE
Incorrect cleaning damages the appliance!
- Do not use cleaning agents in concentrated form.
- Do not use any scouring or abrasive sponges or steel wool.
- Do not use any sharp or abrasive cleaning agents, nor any that contain sand, chlorine or acid.
- Do not use chemical solvents.
- Do not damage or remove the type plate on the inside of the appliance. It is important for customer service.
- Do not pull off, bend or damage cables or other components.
- Do not allow any cleaning water to enter the drain channel, ventilation grille or electrical parts.
- Please use soft cleaning cloths and a universal pH-neutral cleaning agent.
- Please use cleaning and care products suitable for contact with foodstuffs in the appliance interior.
- Empty appliance.
- pull out the power plug.
- Clean the vent grille regularly.
- Dust deposits increase energy consumption.
- Clean plastic outer and inner surfaces with lukewarm water and a little washing-up liquid.
- Only use a soft clean cloth to wipe side walls with a paint finish. In the case of heavy soiling, use lukewarm water with neutral cleaning agent.
- Use only a soft clean cloth to wipe door surfaces with a paint finish. In the case of heavy soiling, use a little water or neutral cleaning agent. A micro-fiber cloth can be used optionally.
- Clean drawers by hand with lukewarm water and a little washing-up liquid.
- Clean other items of equipment by hand with lukewarm water and a little washing-up liquid.
After cleaning
- Wipe dry the appliance and items of equipment.
- Connect the appliance and switch it on again.
- Switch on SuperFrost (see 5.8 SuperFrost).
When the temperature is sufficiently cold: - Put the food back inside.
Customer service
First check whether you can correct the fault yourself by refer-ence to the list (see 7 Malfunctions) . If this is not the case, please contact the customer service whose address is given in the enclosed customer service list.
WARNING
Risk of injury if repair work is not carried out professionally!
Have any repairs and action – not expressly specified on the appliance and mains cable carried out by service personnel only. (see 6 Maintenance)
Malfunctions
- Read the appliance designation Fig. 7 (1) , service No. Fig. 7 (2) and serial No. Fig. 7 (3) off the type plate located inside the appliance on the left-hand side.
- Notify the customer service, specifying the fault, appliance designation Fig. 7 (1) , service No. Fig. 7 (2) and serial No. Fig. 7 (3) .
This will help us to provide you with a faster and more accurate service. - Keep the appliance closed until the customer service arrives.
- The food will stay cool longer.
- Pull out the mains plug (not by pulling the connecting cable) or switch off the fuse.
7 Malfunctions
Your appliance is designed and manufactured for a long life span and reliable operation. If a malfunction nonetheless occurs during operation, check whether it is due to a handling error. In this case you will have to be charged for the costs incurred, even during the warranty period. You may be able to rectify the following faults yourself:
The appliance does not work.
- The appliance is not switched on.
- Switching on the appliance.
- The power plug is not properly inserted in the wall socket.
- Check the power plug.
- The fuse of the wall socket is not in order.
- Check fuse.
The compressor runs for a long time. - The compressor switches to a low speed when little cold is needed. Although the running time is increased as a result, energy is saved.
- This is normal in energy-saving models.
- SuperFrost is activated.
- The compressor runs for longer in order to rapidly cool the food. This is normal.
- A LED on the bottom rear of the appliance (at the compressor) flashes regularly every 15 seconds*.
- The inverter is equipped with a diagnostic LED.
- The flashing is normal. Excessive noise.
- Due to the various speed steps, speed-regulated* compressors can generate different running noises.
- The sound is normal.
A bubbling and gurgling noise. - This noise comes from the refrigerant flowing in the refrigeration circuit.
- The sound is normal. A quiet clicking noise.
- The noise is produced whenever the refrigeration unit (motor) automatically switches on or off.
- The sound is normal.
A hum. It is briefly a little louder when the refrigeration unit (the motor) switches on - The refrigeration increases automatically when the SuperFrost, function is activated, fresh food has just been placed in the appliance or the door has been left open for a while.
- The sound is normal.
- The ambient temperature is too high.
- Solution: (see 1.2 Appliance range of use) Vibration noises
- The appliance is not standing firmly on the floor. As a result objects and adjacent units start to vibrate when the refrigerator is running.
- Align the appliance using the adjustable feet. The temperature display indicates F0 to F5.
- There is a fault.
- Please contact the after-sales service (see 6 Maintenance) .
Power failure flashes in the temperature display
. The highest temperature reached during power failure is indicated in the temperature display. - The freezer temperature rose too high over the last hours or days due to a power failure or power interruption. When the power interruption is over, the appliance will continue to operate in the last temperature setting.
- To cancel the display of the warmest temperature: press alarm button Fig. 3 (9) .
- Check the quality of the food. Do not consume spoiled food. Do not re-freeze thawed food.
DEMO shines in the temperature display. - Please contact the after-sales service (see 6 Mainte-nance) .
The outer surfaces of the appliance are warm*. - The heat of the refrigeration circuit is used to prevent condensate from forming.
- This is normal.
The temperature is not cold enough. - The door of the appliance is not properly closed.
- Close the door of the appliance.
- Insufficient ventilation.
- Keep ventilation grille clear, and clean it.
- The ambient temperature is too high.
- Solution: (see 1.2 Appliance range of use) .
- The appliance was opened too frequently or for too long.
- Wait to see whether the appliance reaches the required temperature by itself. If not, please contact the after sales service (see 6 Maintenance) .
- Too much fresh food was placed inside without SuperFrost.
- Solution: (see 5.8 SuperFrost)
- The temperature is incorrectly set.
- Set the temperature to a colder setting and check after 24 hours.
- The appliance is too close to a source of heat (stove, heater etc).
- Change the position of the appliance or the source of heat. Dashes (“- -”) are shown on the display.
- The freezing temperature has risen above zero degrees because of a power cut or power interruption.
- See also “Power failure” and “
“
Decommissioning
Switching off the appliance
- Press the On/Off button Fig. 3 (1) until the display goes dark. Release button.
- If the appliance cannot be switched off, the child lock func-tion is active (see 5.2 Childproofing).
Taking the appliance out of service
- Empty the appliance.
- Switch off the appliance (see 8 Decommissioning) .
- Remove mains connector.
- Clean the appliance (see 6.2 Cleaning the appli-ance) .
- Leave the door open to prevent odour.
Disposing of the appliance
The appliance contains some reusable materials and should be disposed of properly – not simply with unsorted household refuse. Appliances which are no longer needed must be disposed of in a professional and appropriate way, in accordance with the current local regulations and laws.
Do not damage the disused appliance while removing it from the cooling circuit, in case the coolant (information on the model plate) ) or oil inside leaks out.
For Germany:
The appliance can be disposed of free of charge in Class 1 collection containers at your local recycling centre. When purchasing a new fridge/freezer and if your sales area is > 400 m2, the retailer with also take back the old appliance free of charge.
Decommission the appliance
- Pull out the plug.
- Cut through the connecting cable.


























