
User Guide
Quality, Design and Innovation
![]() | ![]() |

home.liebherr.com/fridge-manuals
The manufacturer is constantly working to improve all types and models. Therefore, please be aware that we reserve the right to make changes to the shape, equipment and technology.
| Symbol | Explanation |
| Read instructions Please read the information in these instructions carefully to understand all of the benefits of your new appliance. | |
| Full instructions on the internet The detailed instructions are available via the QR code on the front of these instructions, at home.liebherr.com/fridge-manuals or by entering the service number at home.liebherr.com/fridge-manuals. The service number can be found on the serial tag Fig. (). ![]() Fig. Example illustration | |
| Check appliance Check all parts for transport damage. If you have any complaints, please contact your agent or customer service. | |
| Differences These instructions apply to a range of models, so there may be differences. Sections that apply to certain models only are indicated by an asterisk (*). | |
| Instructions and results Instructions are marked with a Results are marked with a | |
| Installation videos Videos on installing appliances can be found on the Liebherr Domestic Appliances YouTube channel. |
These operating instructions apply to:
| FN c | 46/50/52… |
| FN d | 42/46/50… |
| FN (sd) d | 52…(i) |
| SFN bs/sd/st d | 52…(i) |
| GNex | 1460-c |
The appliance at a glance
Delivered contents
Check all parts for damage during transport. If you have any complaints, please contact the dealer or Customer Service (see 9.4 Customer service) .
Delivery contains the following parts:
- Standalone appliance
- Equipment (depending on your model)
- Installation parts (depending on your model)
- “Quick Start Guide”
- “Installation Guide”
- Service brochure
Appliance and equipment overview

Fig. 1 Example illustration
Equipment
| (1) Control elements (2) Lighting, status display* (3) Serial tag (4) Tilting drawer* (5) SpaceBox (6) IceTower* (7) IceMaker* / EasyTwistIce* | (8) Freezer tray, cold storage accumulators (9) Ice cube tray* (10) Ice cube scoop* (11) NoFrost (12) Ventilation slit (13) VarioSpace (14) Adjustable feet (front), transport castors (rear), transport handles at the top (rear) and bottom (front) |
Note
The shelves, drawers, and baskets are arranged for optimal energy efficiency in the factory configuration. However, changes to the arrangement within the given insertion options – for example the arrangement of shelves in the fridge compartment – have no effect on energy consumption.
Range of appliance use
Normal use
The appliance is only suitable for cooling food for residential or other similar environments.
This includes the following types of uses
- in staff kitchens, bed and breakfasts,
- by guests in country homes, hotels, motels and other types of accommodations,
- for catering and similar wholesale services.
The appliance is not suitable as a built-in unit; All other types of uses are not permitted.
Foreseeable misuse
The following uses are specifically prohibited:
- Storage and cooling of medication, blood plasma, laboratory preparations or similar substances and products in accordance with the Medical evice Directive 2007/47/EC
- Use in areas at risk of explosion
Incorrect appliance use can cause damage to the stored products or cause them to spoil.
Climate ratings
The appliance is set to operate within specific ambient temperature limits according to its climate rating The climate rating for your appliance is printed on the rating plate
Note
To guarantee trouble-free operation, comply with the indicated ambient temperatures.
| Climate rating | for ambient temperatures |
| SN, N | to 32 °C |
| ST | to 38 °C |
| T | to 43 °C |
The appliance will function properly in ambient temperatures down to 0 °C.*
The appliance will function properly in ambient temperatures down to -15 °C.*
Conformity
The refrigerant circuit has been tested for leaks. The appliance complies with the applicable safety regulations and with the directives 2014/35/EU, 2014/30/EU, 2009/125/EC, 2011/65/EU, 2010/30/EU and 2014/53/EU.
The full text of the EU Declaration of Conformity is available on the following website: www.Liebherr.com
EPREL Database
Details about energy labeling and ecodesign requirements will be available on the European product database (EPREL) from March 1, 2021. You can access the product database at the following link: https://eprel.ec.europa.eu/ You will be asked to enter the model ID. You can find the model ID on the type plate.-
General safety instructions
Dangers for the user:
- This appliance can be operated by children as well as by persons with reduced physical, sensory or mental capabilities or lack of experience and knowledge if they are supervised or have been instructed in the safe use of the appliance and understand the associated risks. Children must not play with the appliance. Cleaning and user maintenance must not be performed by children unless they are supervised. Children between the ages of 3 and 8 may load and unload the appliance. Children under the age of 3 must be kept away from the appliance if they are not constantly supervised.
- When disconnecting the appliance from the outlet, always take hold of the plug. Do not pull on the cable.
- Disconnect the power plug or switch off the power if a fault occurs.
- Do not damage the mains power line. Do not operate the appliance from a defective mains power line.
- Repairs and operations on the appliance may only be carried out by the customer service department or other specifically trained specialist engineers.
- The appliance should only be assembled, connected and disposed of in accordance with the instructions.
- Please keep the instructions and pass them on to any future owner.
- The manufacturer is not liable for damage arising from incorrect connection to the water supply.*
Risk of fire:
- The refrigerant contained within the appliance (specifications on the rating plate) is environmentally friendly, but flammable. Leaking refrigerant can ignite.
- Do not damage the pipes of the refrigerant circuit.
- Do not handle ignition sources inside the appliance.
- Do not use electrical devices inside the appliance (e.g. steam cleaners, heaters, ice cream makers, etc.).
- If refrigerant leaks: Remove naked flames or ignition sources located near the area of the leak. Air the room well. Contact the customer service department.
- Do not store explosive materials or spray cans with flammable propellants, such as e.g. butane, propane, pentane, etc. in the appliance. You can recognize such spray cans by the printed contents or a flame symbol. Any leaking gasses can be ignited by electrical components.
- Keep burning candles, lamps and other objects with open flames away from the appliance so that they do not set it on fire.
- Alcoholic beverages or other containers holding alcohol must always be tightly sealed for storage purposes. Any leaking alcohol can be ignited by electrical components
Tipover hazard:
- Do not stand or climb on the base, drawers, doors, etc. This applies in particular to children.
Risk of food poisoning:
- Do not consume food that has passed its best before date.
Danger of frostbite, feelings of numbness and pain:
- Avoid continued skin contact with cold surfaces or chilled/frozen food or adopt protective measures.
Risk of injury and damage:
- Hot steam may lead to injuries. Do not use any electrical heating or steam cleaning equipment, naked flames or defrosting sprays for defrosting
- Do not remove ice with sharp objects
Symbols on the device:
The symbol can be on the compressor. It refers to the oil in the compressor and refers to the following danger: Can be lethal if swallowed or
inhaled. This notice only applies for recycling. There is no danger during normal operation.
The symbol is located on the compressor and indicates the danger of inflammable materials. Do not remove the label.
This label or a similar one can be located on the rear of the appliance. It refers to the foamed-in panels in the door and/or the housing. This notice only applies for recycling. Do not remove the label.
Follow the specific instructions in the other sections:
| DANGER | indicates a hazardous situation, which if not avoided, will result in death or serious injury. | |
| WARNING | indicates a hazardous situation, which if not avoided, could result in death or serious injury. | |
| CAUTION | indicates a hazardous situation, which if not avoided, will result in minor or moderate injury. | |
| NOTICE | indicates a hazardous situation, which if not avoided, could result in damage to property. | |
| Note | indicates useful advice and tips |
Start-up
Turning on the appliance
Make sure that the following requirements are met:
- Appliance is set up and connected according to installation instructions.
- All adhesive strips, adhesive and protective films, as well as transport safety devices in and on the appliance are removed.
- All advertising material has been removed from the drawers.
Switch on the appliance from the display.
Fig. 2
After switching on the appliance, select the language.
The status screen appears.
If the DemoMode is displayed along with the blue screen after switching on the appliance, the DemoMode can be deactivated within the next 5 minutes.
Press DemoMode for 3 seconds.
DemoMode is off.
Note
The manufacturer recommends:
Store frozen produce at -18 °C or colder.
Insert the equipment
Insert the supplied equipment to help you make the most of the appliance.
Purchase the SmartDevice Box and insert it (see https://smartdevice.liebherr.com/install).*
Install the SmartDevice app (see https://apps.home.liebherr.com/).
Note
You can purchase accessories from the Liebherr household appliance store (home.liebherr.com).
Food management
Storing food
WARNING
Danger of fire
Do not use electrical appliances inside the food storage compartments of the appliance, unless they are of the type recommended by the manufacturer.
Note
Insufficient ventilation results in an increase in energy consumption and reduction of the refrigerating performance
Always keep the air slots unobstructed.
When storing food, remember these basic rules:
- Do not obstruct the air vents on the back wall.
- Do not obstruct the air vents on the fan.
- Food is well sealed.
- Raw meat or fish is in clean, sealed containers so that other food cannot be touched or drip on them.
- Food is stored spaced apart to ensure good air circulation.
Note
Failure to follow these guidelines can lead to food perishing.
Freezer
This provides a dry, frosty storage climate at -18 °C. A frosty climate is suitable for storing frozen food and goods for several months, preparing ice cubes, or freezing fresh food.
Freezing food
You can freeze as many kilograms of fresh food within 24 hours as indicated on the nameplate (see 9.5 Rating plate) under “freezing capacity … kg/24h”.
To ensure that the food freezes quickly to the core, keep to the following quantities per pack:
- Fruit, vegetables up to 1 kg
- Meat up to 2.5 kg
Before freezing, please note the following:
- SuperFrost is activated (see 6.3 Functions) when the amount of food to freeze exceeds approx. 2 kg.
- With a small volume of frozen goods: SuperFrost is activated approx. 6 hours prior.
- With the maximum volume of frozen goods: SuperFrost is activated approx. 24 hours prior.
Defrosting food
- in the fridge compartment
- in the microwave
- in the oven/fan oven
- at room temperature
WARNING
Danger of food poisoning!
Do not re-freeze defrosted food.
Remove only the food you need for now.
Use defrosted food as quickly as possible
Freezer tray
Use the freezer tray for berries, herbs, vegetables and other small goods without them freezing together in the process. The food keeps its shape and is easier to separate into portions later on.
You can also store the freezer packs in the freezer tray to save space.
Spread food, unsealed, at a good distance apart, over the whole surface of the freezer tray.
Storage times
The storage times given are guidelines
Food with a “use by” date must still be consumed by the date indicated on the package
| Guidelines for storage periods for various foods | ||
| Ice cream | at -18 °C | 2 to 6 months |
| Sausage, ham | at -18 °C | 2 to 3 months |
| Bread, bakery products | at -18 °C | 2 to 6 months |
| Game, pork | at -18 °C | 6 to 9 months |
| Fish, fatty | at -18 °C | 2 to 6 months |
| Fish, lean | at -18 °C | 6 to 8 months |
| Cheese | at -18 °C | 2 to 6 months |
| Poultry, beef | at -18 °C | 6 to 12 months |
| Vegetables, fruit | at -18 °C | 6 to 12 months |
Energy saving
- Always ensure good ventilation. Do not obstruct ventilation openings or grilles.
- Never block air slits in the fan.
- Do not install the appliance in direct sunlight or next to a stove, heater or similar heat source.
- Energy consumption depends on installation conditions such as the ambient temperature (see 1.3 Range of appliance use) . A warmer ambient temperature can increase the energy consumption.
- Avoid opening the appliance door for any longer then necessary
- The lower the temperature is set the higher the energy consumption.
- All food stored in the appliance should be well wrapped and covered. This prevents frost buildup.
- Insertion of warm foods: first let the food cool down to room temperature.
Use
Controls and displays
The display provides a quick overview of the temperature setting and the status of functions and settings. You can control the functions and settings either by deactivating/activating them or by selecting a value.
Status display

- Temperature display
The Status display shows the set temperatures and is the home display. From there, you can navigate to the options and settings.
Navigation
Navigate in the menu to see the individual functions. An audible signal sounds after confirming a function or setting. If no selection is made after 10 s, the display switches to the Status screen.
The appliance is operated by swiping and confirming in the display:

Back:
- Confirm your selection in the submenu. The display returns to the menu.
- Select
. The display returns to the function/setting.
Back to Status display:
- Close and open the door.
- Wait 10 s. The display switches to the Status display.
Display symbols
The display symbols provide information about the current appliance status.
| Symbol | Appliance status |
| Standby The appliance or temperature zone is turned off. | |
| Flashing number Appliance is working. Temperature flashes until the set temperature is reached. | |
| Flashing symbol Appliance is working. Setting is made. |
Operating logic
Activating/deactivating settings
You can activate/deactivate the following functions:
| Symbol | Function |
| SuperFrost x | |
| IceMaker and MaxIce x * | |
| PartyMode x | |
| EnergySaver |
x When a function is on, the appliance works harder. This means the appliance could make louder noises and consume more energy.
Swipe left in the display until the function appears.
Confirm selected function with a short tap.
You hear the confirmation tone.
Status appears in the menu.
Function is on/off.
Selecting function value
With the following functions you can set a value in the submenu:
| Symbol | Function |
| Setting the temperature Switch the appliance on/off |
Swipe left in the display until the function appears.
Confirm selected function with a short tap.
Select the setting value by swiping the display.
Setting the temperature
Confirm selected value with a short tap.
You hear the confirmation tone.
The display changes to blue when it is activated.
Display switches back to the menu.
Activating/deactivating settings
You can activate/deactivate the following settings:
| Symbol | Setting |
| WiFi¹ | |
| Entry lock² | |
| SabbathMode² | |
| Reminders ¹ | |
| Reset² | |
| Switch off ² |
Swipe left in the display until Settings
appears.
Confirm settings by tapping.
Swipe until you can see the setting you want.
Activate setting (short press)
Tap briefly to confirm.
You hear the confirmation tone.
Status appears in the menu.
Setting is activated / deactivated.
Activate setting (long press)
Press selection for 3 seconds to confirm.
You hear the confirmation tone.
Status appears in the menu.
Display changes.
Selecting the setting value
With the following settings you can set a value in the submenu:
| Symbol | Settings |
| Brightness | |
| Door alarm | |
| Temp. unit | |
| Language |
Swipe the display to the left until the settings
are displayed.
Confirm the settings by tapping.
Swipe until you can see the setting you want.
Tap briefly to confirm.
Select the desired setting value by swiping the display.
Tap briefly to confirm.
You hear the confirmation tone.
Status appears briefly in the submenu.
Display switches back to the menu.
Calling up the customer menu
The customer menu provides the following settings:
| Symbol | Function |
| TubeClean*2* | |
| Ice cube 1* | |
| Software |
Swipe left in the display until the settings appear.
Tap settings.
The submenu appears.
Swipe left in the display until the appliance information appears.
Press for 3 seconds.
The input menu for a numerical code appears.
Enter the numerical code 151.
The customer menu appears.
Swipe left in the display until the desired setting appears.
Select the setting value
Tap briefly to confirm.
You hear the confirmation tone.
Status appears briefly in the display.
The display switches back to the menu.
Activate setting
To confirm, press the display for 3 seconds.
You hear the confirmation tone.
Status appears in the display.
The symbol flashes as long as the appliance is working.
Functions
Temperature
The temperature depends on the following factors:
- the number of times the door is opened
- The duration the door is opened
- the room temperature of the installation location
- the type, temperature and amount of food
| Freezer compartment | Recommended setting |
| -18 °C |
Setting the temperature

Set the value. (see 6.2 Operating logic) .
The set temperature is shown on the bottom right of the display.
SuperFrost
Select this function for the maximum freezing setting, to reach lower freezing temperatures.
Use:
- To freeze more than 2 kg fresh food a day.
- Freezing fresh food quickly to the core.
- Increasing the cold reserves in the stored goods before defrosting the appliance.
Activating/deactivating settings
With a small volume of frozen goods:
Activate 6 hours before use.
With the maximum volume of frozen goods:
Activate 24 hours before use.
Activating/deactivating (see 6.2 Operating logic) .
-oru
Activate/deactivate in the Liebherr SmartDevice-App.*
The function automatically turns off. The appliance goes back to normal mode. The temperature adjusts itself to the set level.
PartyMode
This option offers an assortment of special functions and settings that are useful if you are having a party.
The following functions are activated:
- SuperFrost
- IceMaker and MaxIce*
You can set any functions you like. Your changes are lost when the option is switched off.
Activating/deactivating settings
Activating/deactivating (see 6.2 Operating logic) .
On: All functions are activated at the same time.
Deactivated: Previously set temperatures are restored.
The function is automatically switched off after 24 hours.
EnergySaver
This function reduces energy consumption. If you activate this function, the cooling temperature increases.
| Temperature zone | Recommended setting | Temperature when EnergySaver activated |
| -18 °C | -16 °C |
Use:
- Save energy.
Activating/deactivating settings
Activating/deactivating (see 6.2 Operating logic) .
Activated: Higher temperatures are set in all temperaturzones.
Deactivated: Previously set temperatures are restored.
IceMaker / MaxIce*
This function activates the production of ice cubes.*
Use:*
- If this function is activated, you can decide between the normal IceMaker function and MaxIce.
- The MaxIce makes approx. 1.5 kg of ice cubes per 24 h within a short time.
The ice cube size can be set with the ice cube size function. (see Ice cubes*) *
The lines can be cleaned with the TubeClean function. (see TubeClean*) *
Activating the function*
Make sure that the following requirements are fulfilled:
- The water supply is established at the fixed water connection. See Assembly Manual.*
- IceMaker is put into operation. (see 7.4 IceMaker*)
Activate the function. (see 6.2 Operating logic)
-oru
Activate via the Liebherr SmartDevice-App.
It can take up to 24 hours for the first ice cubes to be made.
Deactivating the function*
Deactivate the function. (see 6.2 Operating logic)
-oru
Deactivate the function via the Liebherr SmartDevice-App.*
If ice cubes are currently being made, the system completes the process. After that, the IceMaker switches off.
Settings
Language
This setting lets you choose the language of the display.
Choose from the following languages:
- German
- English
- French
- Spanish
- Italian
- Dutch
- Czech
- Polish
- Portuguese
- Russian
- Chinese
Activating/deactivating settings
Activating/deactivating (see 6.2 Operating logic) .
Setting up the WLAN connection
This setting connects the appliance to the internet. The connection is managed in the SmartDevice Box. You can use the SmartDevice-App to add your appliance to a SmartHomeSystem. Use the SmartDevice-App or other compatible partner networks to enjoy advanced options and settings.
Note
The SmartDevice Box is available from the Liebherr Residential Appliances Store (https://home.liebherr.com/shop/de/deu/smartdevicebox.html).
More information about the availability, prerequisites and individual options can be found on the Internet at https://smartdevice.liebherr.com/install.
Use:
- Manage the appliance with the SmartDevice-App or a compatible partner network.
- Enjoy advanced functions and settings.
- Check the appliance status on the SmartDevice-App.
- Purchase the SmartDevice Box and insert it (see https://smartdevice.liebherr.com/install).*
- Install the SmartDevice app (see https://apps.home.liebherr.com/).
Setting up the WLAN connection

Activate (see 6.2 Operating logic) .
The connection is set up: Connecting appears. The symbol flashes.
The connection is set up: WiFi appears, the display turns blue.
The connection failed: WiFi Error appears.
Disconnecting
Deactivate the setting (see 6.2 Operating logic) .

There is no connection: The symbol
is displayed constantly.
Restoring the connection
Restore settings (see 6.2 Operating logic) .

Connection and other settings are restored to factory settings.
Entry lock
This setting avoids accidental operation of the appliance, e.g. by children.
Use:
- Avoid unintentional changing of settings and functions.
- Avoid unintentional switching off of the appliance.
- Avoid unintentional temperature adjustments. Activating/deactivating settings
Activating/deactivating (see 6.2 Operating logic) .
![]()
Display brightness
With this setting, you can choose a brightness level for the display.
You can set the following brightness levels:
- 40%
- 60%
- 80%
- 100%
Choosing the setting
Set the level (see 6.2 Operating logic) .
Door alarm
Set the time before the door alarm (see Close door) sounds.
Options are as follows:
- 1 min
- 2 min
- 3 min
- Off
Choosing the setting
Set the level (see 6.5 Warnings) .
Temperature unit
This setting allows you to change between Celsius and Fahrenheit as the temperature unit.
Selecting the setting value
Set the value (see 6.2 Operating logic) .
Info
This setting allows the appliance information to be read out as well as access to the customer menu.
It provides the following information:
- Model name
- Index
- Serial number
- Service number
View appliance data
Swipe in the display until Settings
appears.
Confirm the display.
Swipe in the display until About appears.
Read the appliance data.
SabbathMode
This setting meets the religious requirements on the Sabbath and Jewish festivals. Turn on SabbathMode to switch off certain controls. This means you can use the appliance without anyone changing any settings.
You can find a list of Star-K-certified appliances at www.stark.org/appliances.
WARNING
Danger of food poisoning!
If there is a power outage when SabbathMode is on, this message is not saved. When the power is restored, the appliance continues in SabbathMode. Afterwards, the temperature display does not show a message about the power outage. If there was a power outage during SabbathMode:
Check the quality of the food. Do not consume spoiled food!
What happens on the appliance when in SabbathMode:
- The Status display permanently shows SabbathMode.
- The display is locked for all functions apart from turning off SabbathMode.
- Any functions/settings that are already on, remain active.
- The display stays bright when the door is closed.
- Reminders are disabled. The set timer interval is also stopped. The function is no longer executed in SabbathMode.
- Reminders and warnings are not displayed. No acoustic signals are emitted and the display does not show warnings / settings such as temperature alarm or door alarm.
- IceMaker is out of use.*
- The internal light is off.
- The defrost cycle only works for the specified time without taking account of fridge use.
- After a power cut the appliance automatically returns to SabbathMode.
Activating/deactivating SabbathMode
To activate this function, swipe the display until you reach Settings
and press for 1 second. The menu shows the available settings.
Swipe the display until the symbol for SabbathMode (Menora) appears. Press the symbol for 3 seconds.
The display changes color.
SabbathMode has been activated. To deactivate the function, press the display for 3 seconds. SabbathMode has been deactivated.
TubeClean*
This setting cleans the IceMaker pipes.*
Make sure that the following requirements are met:*
- IceMaker cleaning process is ready (see 8.2.6 Cleaning the IceMaker*) .
Activate setting*
Activate the setting in the customer menu (see 6.2 Operating logic)
TubeClean is prepared (max. 60 min.): The symbol flashes.
Water pipes are rinsed: Symbol flashes.
Rinsing process is complete: Function turns off automatically.
Ice cubes*
With this setting, you can choose the ice cube size.*
Choosing the setting*
Make your settings in the Customer menu (see 6.2 Operating logic).
Reminder
Reminders are displayed acoustically by a beep and visually a symbol in the display. The signal gets louder until the alerstops.
Insert IceMaker drawer*
This message appears when the IceMaker drawer is open.
Push in IceMaker drawer.
The message disappears.
The IceMaker makes ice cubes.
Activate setting
Activating/deactivating (see 6.2 Operating logic) .
Reset
This function resets all settings to the factory settings. settings that you have made thus far will be reset to their original values.
Activate the setting
Activating (see 6.2 Operating logic) .
Turn off appliance
This setting turns off the whole appliance.
Switch off whole appliance
Fig. 11
Turning off the IceMaker .*
Activating/deactivating (see 6.2 Operating logic) .
Off: Display turns black.
Warnings
Warnings are issued with an acoustic signal and visually with a symbol on the display. The signal gets louder until the alert stops.
Message
Close door
This message appears if the door is open too long.
You can set the time before this message appears .
Stop alarm: Confirm the message.
-oru
Close the door.
Power failure.
This message appears if the freezer temperature rises after a power outage. When the power outage is over, the appliance will continue to operate at the last temperature setting.
Stop alarm: Confirm the message.
Temperature alarm appears (see Temperature alarm) .
Temperature alarm
This message appears if the temperature does not match the set temperature.
Temperature differences may be caused by:
- Hot fresh food was placed in the appliance.
- When sorting and removing food from the appliance, too much warm ambient air got in.
- There has been a prolonged power outage.
- The appliance is faulty.
When the cause is eliminated, the appliance will continue to operate at the last temperature setting.
Confirm the display.
Warmest temperature is displayed.
Confirm the display again.
The status display is displayed.
Current temperature is displayed.
Error
This message appears when there is a fault with the appliance.
An appliance component has an error.
Open the door.
Take note of the error code.
Confirm the message.
The acoustic warning ceases
The display changes to the Status screen.
Close the door.
Contact Customer Service (see 9.4 Customer service) .
DemoMode
If “D” appears in the display, demo mode is on. This feature is designed for retailers. The cooling features are disabled.
Switching off DemoMode
When you see a time counting down:
Confirm within the countdown.
DemoMode is off. If there is no countdown:
Disconnect the power plug.
Reconnect the power plug.
DemoMode is off.
Equipment
Drawers
You can remove the drawers for cleaning.
How the drawers are removed and inserted differs depending on the pull-out system. Your appliance can include a variety of pull-out systems.
Note
Insufficient ventilation results in an increase in energy consumption and reduction of the refrigerating performance.
Leave the bottom drawer in appliance!
Never obstruct the vents on the interior rear wall!
Remove the drawer
Drawer on telescopic rails*
Fig. 12
Make sure that the following requirements are fulfilled:
- Drawer is completely pulled out (see Fig. 1734) .
Drawer on glass shelf*
Fig. 13*
Pull drawer out completely Fig. 13 (1).*
Lift drawer on the left Fig. 13 (2).*
Slide in left rail Fig. 13 (3).*
Fig. 14*
Lift drawer on the right Fig. 14 (4).*
Slide in right rail Fig. 14 (5).*
Remove the drawer to the front Fig. 14 (6).*
Fig. 15 *
If the rails are not yet fully pushed in after removing the drawer:*
Push the rails in completely.*
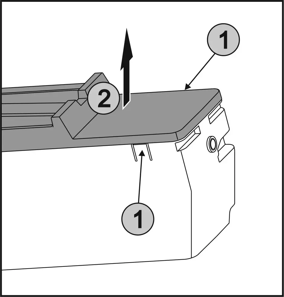
Drawer on molded ribs*
Fig. 16
Pull drawer out completely.
Lift at the front Fig. 16 (1).
Remove to the front Fig. 16 (2).
Tilting top drawer*
Fig. 17
Pull drawer out completely.
Lift at the front.
Lift from below.
Remove to the front.
Inserting the drawer
Drawer on telescopic rails
Drawer on glass shelf*
Fig. 18 *
Slide the rails in.*
Place the drawer on the rails at an angle.*
Fig. 19 *
Lower.*
Push all the way back.*
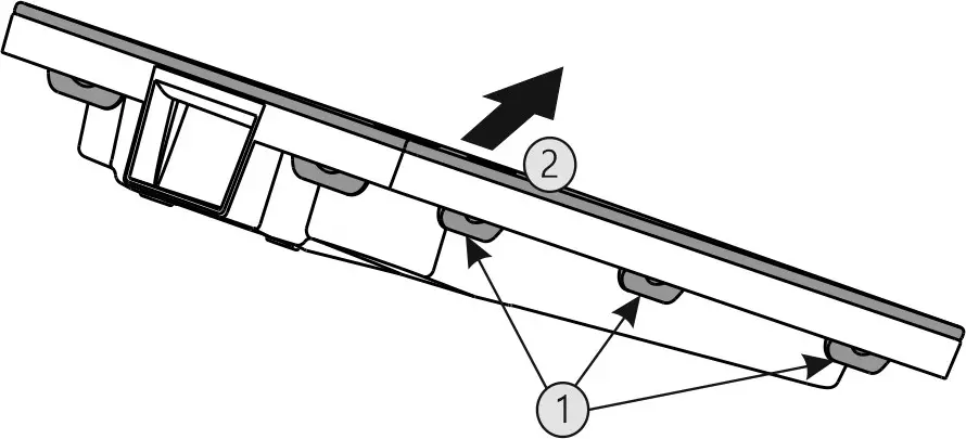
Drawer on molded ribs*
Fig. 20
Place drawer on the molded ribs behind the stoppers with the drawer tiled up at the front Fig. 20 ().
Lower drawer.
Slide to the rear.
Tilting top drawer*
Fig. 21
Guide the drawer around the upper stoppers Fig. 21 (1).
Place the drawer on the molded ribs behind the lower stoppers with the drawer tilted up at the front Fig. 21 (2).
Lower drawer.
Slide to the rear.
Pull-out board with IceTower*
Fig. 22 Pull-out board with IceTower
- IceMaker
- Hang-on tray for ice cubes
- Container for pizza or alcoholic beverages, for example
- Pull-out board
On the pull-out board are two tall containers (IceTower). Ice cubes from the IceMaker are collected and stored in the container Fig. 22 (2). The container Fig. 22 (3) is suitable for storing tall foodstuffs or beverages such as pizzas or alcoholic drinks.
The pull-out board with IceTower is mounted on a glass shelf with pull-out rails. You can dismantle the pull-out board for cleaning.
Dismantling the pull-out board with IceTower
Removing the container
Fig. 23
Remove the pull-out board.
Lift the container Fig. 23 (5) at the front.
Remove the container.
Fig. 24
Remove the hang-on tray Fig. 24 (6).
If there are ice cubes in the hang-on tray: Empty the hang-on tray.
The container and hang-on tray have been removed and you can clean them. (see 8.2.4 Cleaning the equipment)
Removing the pull-out board
Make sure that the following requirements are fulfilled:
- Containers have been removed. (see 7.2.1.1 Removing the container)
Fig. 25
Slide in the pull-out board. Fig. 25 (7)
Lift the pull-out board at the front left. Fig. 25 (8)
Lift the pull-out board at the front right. Fig. 25 (9)
The pull-out board is detached from the attachment at the front.
Take out the pull-out board to the front. Fig. 25 (10)
The pull-out board has been removed and you can clean it. (see 8.2.4 Cleaning the equipment)
Inserting the pull-out board with IceTower
Inserting the pull-out board
Fig. 26
Slide the rails in.
Fig. 27
Place the pull-out board in at an angle behind the front lug.
Slide it in at an angle. Make sure that the stop is behind the lug on both sides. Fig. 27 (11)
Lower the pull-out board at the front. Fig. 27 (12)
Fig. 28
Push the pull-out board down at the front.
The pull-out board clicks into place.
Inserting the container
Make sure that the following requirements are fulfilled:
- The pull-out board is inserted. (see 7.2.2.1 Inserting the pullout board)
Fig. 29
Remove the pull-out board.
Hold the pull-out board with one hand.
Note
The containers are shaped in a way that they cannot be inter-changed.
Place the container at an angle on the pull-out board. Fig. 29 (13)
Slide in the container at an angle to the back. Fig. 29 (14)
Place container at the front. Fig. 29 (15)
Fig. 30
Insert hang-on tray Fig. 30 (6) for ice cubes.
Slide in the pull-out board with container (IceTower).
Fig. 30 (16)
Pull-out board with IceTower is fully inserted.
EasyTwist-Ice*
The EasyTwist-Ice produces ice cubes when the water tank is inserted.
The EasyTwist-Ice is used exclusively for the production of ice cubes in standard household quantities.
Note
Do not change the position of the EasyTwist-Ice.
Make sure that the following conditions are met:
- The EasyTwist-Ice has been cleaned (see 8.2.5 Cleaning the EasyTwist-Ice*)
- The water tank has been cleaned.
- The EasyTwist-Ice drawer is fully inserted.
Filling the water tank
WARNING
Contaminated water! Poisoning.
Fill with potable water only.
NOTICE
Sugary liquids!
Damage to the EasyTwist-Ice.
Fill with cold drinking water only.
Note
Using filtered, decarbonized water ensures the best-tasting drinking water for your ice cubes.
This water quality can be achieved using a table water filter of the kind available in trade retail outlets.
Always fill the water tank only with filtered, decarbonized drinking water.
The water for the EasyTwist-Ice is supplied from a water tank.
Fig. 31
Lift up the water tank at the rear Fig. 31 (1) and take it out upwards Fig. 31 (2).
Fill with drinking water up to the mark.
Insert the water tank by reversing the steps described above.
Producing ice cubes
The production capacity depends on the freezer temperature.
The lower the temperature, the more ice cubes that can be produced in a certain period.
Maximum capacity of the ice cube drawer – 40 cubes (2x ice cube production).
Time required for ice cube production – at least 5 hours.
Releasing the ice cubes
Turn the knob to the right to its stop limit.
If necessary, repeat several times and turn the knob a little more.
IceMaker*
The IceMaker is used exclusively for the production of ice cubes in household quantities.
Make sure that the following conditions are fulfilled
- IceMaker is cleaned (see 8 Maintenance) .
- IceMaker drawer is fully inserted.
Producing ice cubes
The production capacity depends on the freezer temperature
The lower the temperature, the more ice cubes can be produced in a certain period Once IceMaker is switched on for the first time, it can take up to
24 hours to produce the first ice cubes.
Activate the IceMaker (see 6.2 Operating logic) .
To make a large quantity of ice cubes: Activate the MaxIce (see 6.2 Operating logic) .
Distribute ice cubes evenly in the drawer to increase its capacity.
Close the drawer: The IceMaker starts making ice again.
Note
When a certain level is reached in the IceMaker drawer, it stops making ice cubes. The IceMaker does not fill the drawer to the very top.
VarioSpace
Fig. 32
You can remove drawers and glass panels from your appliance.
This provides more room for large food items such as poultry, joints of meat, large game and bulky baked goods. You can then freeze these items whole for later preparation. u Note the load limits on the drawers and glass panels (see 9.1 Technical specifications) .
Accessories
Freezer packs
The freezer packs prevent the temperature from rising too fast in the event of a power failure.
The freezer packs are in the drawer.
You can store the cold storage accumulators in the freezer tray.
Using the freezer packs
Fig. 33
When the freezer packs are fully frozen:
Place on the frozen goods in the top, front part of the freezer.
Ice cube tray with lid*
Using the ice cube tray
Fig. 34
When water is frozen:
Hold the ice cube tray briefly under warm water.
Remove the lid.
Gently turn the ends of the ice cube tray in opposite directions.
Release the ice cubes.
Dismantling the ice cube tray
You can dismantle the ice cube tray for cleaning.
Fig. 35
u Disassemble the ice cube tray.
Maintenance
Defrosting the appliance
Defrosting with NoFrost
Defrosting is performed automatically by the NoFrost system.
The moisture condenses on the evaporator and is periodically defrosted and evaporated.
The appliance does not have to be defrosted.
Note
Water droplets may collect on the bottom of the appliance.
When you decommission the appliance:
u Place a towel in front of the appliance to catch any water that may run out. (see 10 Decommissioning)
Cleaning the appliance
Preparation
WARNING
Danger of electric shock.
Unplug refrigerator or disconnect power.
WARNING
Danger of fire
Do not damage the refrigerant circuit.
Empty appliance.
Pull out the power plug.
Cleaning the housing
NOTICE
Improper cleaning!
Damage to the appliance.
Only use soft cleaning cloths and ph-neutral all-purpose cleaners.
Do not use steel wool or sponges that scour or scratch.
Do not use caustic or abrasive cleaning materials or those containing sand, chloride, or acids.
WARNING
Risk of injury or damage due to hot steam.
Hot steam can cause scalding/burns and damage to surfaces.
Do not use steam cleaners.
Wipe the housing down with soft, clean cloth. If very dirty, use lukewarm water with a neutral cleaner. Glass surfaces can also be cleaned with glass cleaner.
Cleaning the interior
NOTICE
Improper cleaning!
Damage to the appliance.
Only use soft cleaning cloths and ph-neutral all-purpose cleaners.
Do not use steel wool or sponges that scour or scratch.
Do not use caustic or abrasive cleaning materials or those containing sand, chloride, or acids.
Plastic surfaces: clean by hand with a soft clean cloth, lukewarm water and a little detergent.
Metal surfaces: clean by hand with a soft clean cloth, lukewarm water and a little detergent.
Cleaning the equipment
NOTICE
Improper cleaning!
Damage to the appliance.
Only use soft cleaning cloths and ph-neutral all-purpose cleaners.
Do not use steel wool or sponges that scour or scratch.
Do not use caustic or abrasive cleaning materials or those containing sand, chloride, or acids.
Clean with a soft, clean cloth, lukewarm water and a little washing up liquid:
- IceTower pull-out board*
- Drawer
Please note: Do not remove the magnet on the drawer. The magnet ensures that the IceMaker functions.* - Freezer tray
Clean with a damp cloth:*
- Retracting rails
Please note: the grease in the tracks is there for lubrication purposes and must not be removed!
Clean in the dishwasher up to 60 °C:
- Ice cube tray*
- Ice cube scoop*
Disassemble the equipment: see the relevant section.
Clean the equipment.
Cleaning the EasyTwist-Ice*
Cleaning must be conducted in the following situations:
- Operating for the first time
- Non-use for longer than 48 hours
- When the appliance requires cleaning
When operating for the first time, longer periods of disuse and when the appliance requires cleaning

Fig. 36
Take out the water tank Fig. 36 (1) and ice cube drawer Fig. 36 (2).
Take out the freezer drawer with EasyTwist-Ice.
Fig. 37
Press the lug Fig. 37 (1), lift up the EasyTwist-Ice at the back and take it out of the freezer drawer.

Fig. 38
Press the lugs Fig. 38 (1) on both sides of the EasyTwist-Ice simultaneously and take off the cover Fig. 38 (2) upwards.

Fig. 39
Press all lugs Fig. 39 (1) one after another and remove the cover Fig. 39 (2).
Clean the Ice cube drawer, water tank and EasyTwist-Ice with water and a little detergent.
Assemble the EasyTwist-Ice.
Fig. 40
Insert the axles Fig. 40 (1) on the EasyTwist-Ice in the guides and push the rear side Fig. 40 (2) until the lug engages.
Push in the EasyTwist-Ice drawer.
WARNING
Contaminated water!
Poisoning.
Fill with potable water only.
Fill the water tank and insert it. (see 7.3.1 Filling the water tank)
With unfiltered water:
Dispose of ice cubes that were produced within 24 hours of the first ice cube production.
With filtered water:
Dispose of ice cubes that were produced within 48 hours of the first ice cube production. wist-Ice
Cleaning the IceMaker*
There are various options for cleaning the IceMaker.
We recommend cleaning in the following situations:
- Initial commissioning
- If out of use for longer than 5 days.*
Make sure that the following requirements are met:
- IceMaker drawer is emptied.
- IceMaker drawer is fully inserted. the wist-Ice
- The IceMaker has been activated. (see 6.2 Operating logic)
On first use or if not used for prolonged periods
Clean the IceMaker with TubeClean.
Place a 1.5 l empty container (max. height 10 cm) in the drawer under the IceMaker.
Activate the TubeClean function. (see 6.2 Operating logic)
The rinse process is prepared (max. 60 min.): The symbol flashes.
Water pipes are rinsed: Symbol flashes.
Rinsing process is complete: Function turns off automatically.
Take out the IceMaker drawer and remove the container.
Clean the IceMaker drawer with warm water and a little detergent.
Push in the IceMaker drawer.
Ice cube production starts automatically.
Dispose of any ice cubes that are produced within 24 hours of the first ice cube production.
When cleaning is required
Clean the IceMaker manually.
Remove the IceMaker drawer and clean with warm water and a little detergent.
Push in the IceMaker drawer.
Ice cube production starts automatically.
After cleaning
Wipe dry the appliance and items of equipment
Connect and switch on the appliance.
Activate SuperFrost (see 6.3 Functions) . When the temperature is sufficiently cold
Place the food inside.
Repeat cleaning regularly.
Customer support
Technical specifications
| Temperature zone | |
| Freezing | -28 °C to -15 °C |
| Maximum freezing capacity / 24 hrs | |||
| Freezer | See nameplate, “Freezing capacity … / 24h” | ||
| Max. equipment capacity | |||
| Equipment | Appliance width 55 cm (see Instal- lation Guide, Appliance Dimen- sions) | Appliance width 60 cm (see Instal- lation Guide, Appliance Dimen- sions) | Appliance width 70 cm (see Instal- lation Guide, Appliance Dimensions) |
| Drawer | 12 kg | 12 kg | |
| Ice cube production* | |||
| Ice cube produc- tion / 24 h | At a temperature of -18 °C: 1.2 kg of ice cubes | ||
| Maximum ice cube production / 24 h | When the Maxlce function is active: 1.5 kg of ice cubes | ||
| Lighting | |||
| Energy efficiency class’ | Light source | ||
| This product contains an energy efficiency class G light source | LED | ||
1 The appliance may contain light sources with different energy efficiency classes. The lowest energy efficiency class is indi- cated.
For appliances with a WiFi connection:*
| Frequency specification* | |
| Frequency band | 2.4 GHz |
| Maximum radiated power | <100 mW |
| Purpose of the wireless equipment | Integration in the local WiFi network for data communication |
Operating noises
The appliance makes noises while in operation.
- At less cooling output the appliance saves energy but takes longer to cool items. The volume is lower.
- At a higher cooling output the food cools more quickly. The volume is higher.
Examples:
- Activated functions (see 6.3 Functions)
- Running fan
- Freshly sorted food
- High ambient temperature
- Door opened for long periods
| Noise | Possible cause | Type of noise |
| Bubbling and splashing | Coolant is flowing into the cooling circuit. | Normal noise |
| Spitting and hissing | Coolant is spraying into the cooling circuit. | Normal noise |
| Humming | The appliance cools. The volume depends on the cooling output. | Normal noise |
| Sipping noises | The self-closing door is being opened and closed. | Normal noise |
| Whirring and murmuring | The fan is running. | Normal operating noise |
| Clicking | Components are being switched on and off. | Normal switching noise |
| Rattling or humming | Valves are active. | Normal switching noise |
| Noise | Possible cause | Type of noise | How to resolve |
| Vibration | Unsuitable setup | Error noise | Adjust the feet to make sure the appliance is horizontal. |
| Clattering | Equipment, Objects inside the appliance | Error noise | Secure equip-ment parts. Leave a gap between items. |
Technical faults
Your appliance is designed and manufactured for reliable operation and a long service life. If a malfunction nonetheless occurs during operation, please check whether the malfunction is due to an operating error. In this case, you will have to be charged for the costs incurred, even during the warranty period.
You may be able to rectify the following faults yourself.
Appliance function
| Detect | Cause | Remedy |
| The appliance does not work. | →The appliance is not switched on. | ►Switch on the appliance. |
| →The power plug is not properly inserted in the wall socket. | ► Poi Check the power plug. | |
| →The powerfuse in the wall socket is not OK. | ►Check the fuse. | |
| →Power failure. | ►Keep the appliance closed. loi Protect your food: Lay freezer packs on top of the food or use another freezer if the power is off for a prolonged period. ►Do not re-freeze defrosted food. | |
| →The appliance connector is not correctly inserted in the appliance. | ►Check the appliance connector. | |
| The temperature is not cold enough | →This means that the door of the appli- ance is not closed properly | ►Close the appliance door |
| →Insufficient ventilation | ►Clear and clean the ventilation grille. | |
| →The ambient temperature is too high | ►Solution: (see 1.3 Range of appliance use) . | |
| →The appliance was opened too frequently or for too long | ►Wait to see whether the required temperature resets itself by itself. if not, contact Customer Service (see 9.4 Customer service) . | |
| →Too much fresh food was placed inside without SuperFrost. | ►Solution: (see SuperFrost) | |
| →The temperature is incorrectly set | Poi Set to a colder temperature and check after 24 hours. | |
| →The appliance is too near to a heat source (stove, heater etc). | ►Change location of appliance or the heat source. | |
| The status display does not turn on.’ | →The status display is switched off. | ►Switch on the status display . |
| →The door is open. | ►Close the door. | |
| →The appliance is switched off. | ►Switch on the appliance. | |
| →The LED is defective. | ►Contact Customer Service (see 8 Maintenance) . | |
| The door seal Is defective or should be replaced for other reasons. | →The door seal is interchangeable. You can replace it without the use of any special tools. | ►Contact Customer Service (see 9.4 Customer service) . |
| The appliance is Iced up or conden- sation is building. | →The door seal may have slipped out of its groove. | ► Check the door seal is well placed in the groove. |
| The outside surfaces of the appliance are hot’. | →The heat of the refrigerant circuit is used to prevent condensate from forming | ►This is normal. |
Equipment
| Defect | Cause | Remedy |
| The IceMaker cannot be switched on.’ | → The appliance and therefore the IceMaker are not connected. | ►Connect the appliance (see Installation Guide). |
| →The IceMaker is not switched on. | ►Activate the IceMaker. | |
| The IceMaker is not making any Ice cubes.’ | →The drawer of the IceMaker is not properly closed | ►Close the drawer properly |
| →The water connection is not open | ►Open the water connection’ | |
| The interior light does not turn on. | → The appliance is not switched on. | ►Switch on the appliance. |
| →The door was open for longer than 15 min. | ►The interior light automatically switches itself off if the door stays open for approx. 15 min. | |
| →The LED interior light is faulty or the cover is damaged: | ||
| Risk of injury from electrical shock. Live parts are under the cover. ►The LED interior light should only be replaced or repaired by the Customer Service department or by engineers trained to do so. |
Customer service
First, check if you can fix the error yourself (see 9 Customer support) . If this is not the case, please contact customer service.
Please refer to the enclosed “Liebherr Service” brochure for the address.
WARNING
Unprofessional repair!
Injuries.
Repairs and work on the appliance and the power supply cable not described in the Manual (see 8 Maintenance) should only be carried out by a qualified service provider.
A damaged power cable may only be replaced by the manufacturer, the manufacturer’s Customer Service or a similarly qualified person.
For appliances with an IEC connector, the change can be made by the customer.
Contact Customer Service
Make sure to have the following appliance information to hand:
- Appliance name (model and index)
- Service no. (service)
- Serial no. (S no.)
Showing appliance info on the display (see Info) .
-oru
Referring to appliance info on the nameplate (see 9.5 Rating plate) .
Take note of the appliance information.
Inform Customer Service: Tell us the problem and the appliance details.
This will help us give you fast and accurate support.
Further instructions from customer service will follow.
Rating plate
The nameplate is located behind the drawers on the inside of the appliance.
Fig. 41
- Appliance name
- Service no.
- Serial no.
Information from the nameplate.
Decommissioning
Empty appliance.
Switch off the IceMaker .*
Switch off the appliance (see 6.4 Settings) .
Pull out the power plug.
Remove the appliance connector if necessary: Pull it out and, at the same time, move it from the left to the right.
Place a towel in front of the appliance to catch any water that may run out.
Clean the appliance (see 8.2 Cleaning the appliance) .
Leave the door open to prevent bad smells
Disposal
Preparing appliance for disposal
Liebherr uses batteries in some of its appliances.
In the EU, for environmental reasons, legislation obliges the end user to remove these batteries before disposing of the old appliances. If your appliance contains batteries, a corresponding notice is attached to the appliance.
Lamps
If you can remove the lamps yourself without destroying them, also remove these before disposal.
Take the appliance out of operation.
Appliance with batteries: Remove the batteries. For description, see Maintenance chapter.
If possible: Remove lamps without destroying them.
Disposing of the appliance in an environmentally friendly manner
The appliance still contains valuable materials and must be collected separately from unsorted municipal waste so it can be recycled.
Dispose of batteries separately from the old appliance. You can do this by returning the batteries free of charge to retailers or taking them to recycling centers and collection centers for recyclable materials.
Lamps Dispose of removed lamps via the respective collection systems.
For Germany: You can dispose of the appliance free of charge via the class 1 collection containers at the local recycling and recyclable material collection centers. When purchasing a new fridge/freezer, if the sales area > 400 m 2 , retailers will also take back the old appliance free of charge.
WARNING
Leaking refrigerant and oil!
Fire. The refrigerant contained within the appliance is environmentally friendly, but flammable. The oil contained within the appliance is flammable. Escaping refrigerant and oil can ignite if they are of high enough concentration and are exposed to an external heat source.
Do not damage the pipelines of the coolant circuit and the compressor.
Transport the appliance away without damaging it.
Dispose of batteries, lamps, and the appliance according to the above specifications.

home.liebherr.com/fridge-manuals
Issue date: 20220311
Part number index: 7088346-00
Liebherr-Hausgeräte Ochsenhausen GmbH Memminger Straße 77-79
88416 Ochsenhausen Deutschland



Fig. 2














