Solis SOL8920 Automatic Coffee Machine

SOL8920 Automatic Coffee Machine
Instruction Manual
Page 2 of 20
IMPORTANT INFORMATION
These important safety precautions are a critical part of the appliance. Please read them all carefully before using the appliance for the first time. You may keep the instructions for future reference or pass them to other users.
The appliance is designed for domestic use and may only be operated in accordance with these instructions for use.
Always handle with care and warn other users of the potential danger.
DANGER: Misuse of the appliance can cause injury!
DO’s
- Check that the mains voltage stated on the rating plate corresponds to the local electricity supply.
- Unwind and straighten the power cord before using the appliance.
- Place the appliance on a firm and steady surface.
- The appliance must be used and rested on a stable surface.
- Disconnect the appliance from the mains supply outlet under the following conditions:
- Before the water tank is filled with water
- Before removing any parts from the appliance or refitting any parts on the appliance
- Before cleaning or maintenance
- When the appliance is not working correctly
- After using the appliance
- Empty the water tank, when the appliance is not in use for a long period.
- Allow to cool before putting on or taking off parts, and before cleaning the appliance.
- Always use cold water to make coffee. Warm water or other liquids could cause damage to the coffee maker.
- If the power cord is damaged, it must be replaced by the manufacturer or its service agent or a similarly qualified person in order to avoid any hazard.
- Use the grinder for grinding coffee beans only.
- Children should not be playing with the appliance.
- Always disconnect the appliance from the supply if it is left unattended and before assembling, disassembling or cleaning.
- The appliance can be used by persons with reduced physical, sensory or mental capabilities or lack of experience and knowledge if they have been given supervision or instruction by a person concerning the use of the appliance in a safe way and if they understand the hazards involved.
- This appliance should not be used by children. Keep the appliance and its cord out of reach of children.
- This appliance is designed for household use only.
DO NOT’s
- Do not allow children to touch the appliance or the power cord during the operation.
- Do not use an extension power cord set unless a competent authority has approved it.
- Do not leave the appliance unattended, when it is connected to the main supply.
- Do not use the appliance in an outdoor environment.
- Do not use the appliance for other than its intended use.
- Do not let the cord hang over the edge of a table or counter or touch a hot surface.
- Do not use or place the appliance on a wet or hot surface.
- Do not use the appliance if the drip tray is improperly placed in position.
- Do not immerse the appliance in water or any liquids.
- Do not use the appliance when any parts of the appliance are damaged.
- Do not use the appliance when it is not working properly.
- Do not unplug the appliance by pulling the power cord.
- Do not place the cord on a sharp edge of an item.
- Do not attempt to open the main body or dismantle any parts from the appliance, there are no serviceable part inside.
- The appliance should normally be cleaned after use and not immersed in water for cleaning.
- The use of accessories not included in the box is not recommended. It might be dangerous and should be avoided.
- Do not place the appliance on or near hot gas or electric burner, or in a heated oven.
- Do not operate the hot water function continuously for more than one tank of water.
- To prevent damage to the appliance, do not use alkaline cleaning agents when cleaning, use a soft cloth and a mild detergent.
GENERAL DESCRIPTION

| 1. External Drip Tray | 2. Internal Drip Tray |
| 3. Coffee Grounds Container | 4. Metal tube |
| 5. Steam Nozzle | 6. Nozzle cover |
| 7. Steam indicator light | 8. Adjustable coffee spout |
| 9. Control Panel | 10. Coffee Bean Container |
| 11. Coffee Beans Container Cover | 12. Water Tank |
| 13. Power cord | 14. Service Door |
| 15. Brewer | 16. Cleaning brush |
| 17. Needle | 18. Large Coffee Bean Container * |
depending on the Model
CONTROL PANEL
Power ON/OFF Button

![]() | Flashing: Low water level/ Water tank missing |
![]() | Lights up stably: Lack of beans |
![]() | Lights up stably: Coffee Grounds Container is full Flashing: Internal Drip Tray/Coffee Grounds Container is missing |
![]() | Lights up stably: Brewer is missing/ installed improperly Flashing: Service door is opened/installed improperly |
![]() | Lights up stably: Requires descaling Flashing: Descaling is under process |
![]() | Empty System Function is running |
![]() | Power ON/OFF Button |
![]() | Steam button |
![]() | Hot Water Button |
![]() | Strong Coffee Button |
![]() | Mild Coffee Button |
![]() | Favourite Function Button |
ACCESSORY
In the box, three packs of cleaning agents are included for the process of self-cleaning.
MACHINE INSTALLATION
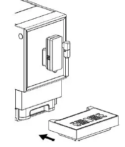
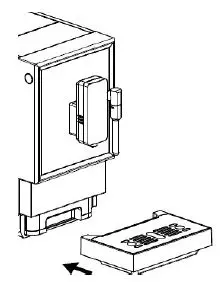
| 1. Remove any protective films, stickers and any other packing material on the appliance. | ![]() |
| 2. Choose a safe and stable surface with a power supply and allow minimum distance from the sides of the machines. | ![]() |
| 3. Attach the external drip tray. Make sure it is attached correctly. | ![]() |
| 4.Fill the water tank with water (see “FILLING THE WATER TANK”). | ![]() |
| 5.Fill the bean box with coffee beans (SEE “FILLING THE COFFEE BEAN CONATINER). | ![]() |
| 6. Unwind and straighten the power cord and insert the plug into the socket located at the back of the machine. Insert the other end of the power cord into a wall socket with a suitable power voltage. | ![]() |
Daily Operation
MAKING YOUR COFFEE
- Switch on the appliance by pressing the power on/off button and make sure the drip tray is under the coffee spout, with water inside the water tank. The appliance will auto-rinse a small cup of water, you can stop it by pressing the Hot Water Button.
- The appliance is then in standby condition.
- Place a cup under the coffee spout and adjust the height of the spout to fit the cup. Depending on the size of the cup (too tall or too wide) you can remove the drip tray or adjust the position of the drip tray as below:

- Depending on the taste of coffee you would like to have, press the Strong coffee button
or the Mild coffee button
. - The coffee button you pressed will light up and the illumination will stay on, indicating that the appliance is preparing the cup of coffee.
- When the appliance is back to standby condition, the coffee is ready to be served.
Tip
- the Strong coffee button has a higher coffee intensity, recommended for espresso. Both coffee button volumes can be adjusted (see Page 14 Section D further settings).
- The auto rinsing will not occur if the appliance has been switched off for a while.
Note: Press the hot water button (see page 10 section V) to clean inside the coffee maker before first use.
FILLING THE WATER TANK
When
is flashing, the water tank is at a low water level and requires filling.
- Lift the water tank by using the lid as a handle.

- Rinse the water tank with fresh water and then fill the tank to the Max level and place it back into the machine. Make sure it is fully inserted.

Note: To prevent the overflow of water from the water tank, do not add water directly into the appliance with another container.

IMPORTANT: Never fill the water tank with warm, hot, sparkling water or any other liquid which might damage the water tank and the machine.
FILLING THE BEAN CONTAINER
Tip: Depending on your choice, you can use the large bean container accessory to enlarge the bean container as below.

When
is flashing, the appliance needs to be filled with coffee beans:
- Remove the bean container lid.

- Slowly pour in the coffee beans.
- Install back the container lid.
IMPORTANT: Fill the coffee bean container with coffee beans only. Ground coffee, instant coffee, caramelized coffee and any other objects may damage the machine.
Preparing Frothy Milk for Coffee
As the temperature of the steam is higher than the temperature of espresso,coffee should be prepared before making frothy milk, otherwise the espresso might be burnt.
- Prepare the coffee using a large cup.
- Turn the steam nozzle towards the drip tray.
- Press the steam button. The steam indicator light will flash. Then the appliance will heat up and drain the residual water into the drip tray or another container.

- After the steam indicator light stops flashing and stay on, place a container with milk under the steam nozzle and immerse the steam nozzle about 5cm deep into the container.
- Press the steam button again.
- Swivel the container while the hot steam comes out.
- When the milk is hot enough froth will start forming. Then press the steam button again to stop the steam.
- Use a wet towel to clean the nozzle cover and metal tube. (Refer to “DAILY CLEANING OF THE APPLIANCE”).
- Pour the hot frothy milk into the coffee.
- Now you can enjoy your coffee.

HOT WATER
The appliance can dispense hot water by simply pressing the hot water button. The hot water button and the illumination will stay on, indicating that the appliance is heating up the water. When the hot water button and the illumination turn off, the water is ready to be served.
FAVOURITE FUNCTION
You can use the favourite function to memorise your desired volume of mild coffee and strong coffee.
- Set up your favourite coffee setting.
- Press and hold the favourite button
for 2 seconds. The mild coffee and strong coffee buttons will flash. Press your choice of favourite coffee. - The corresponding drink will be dispensed. Press and hold again to keep dispensing and release the button to stop it. The volume will be memorised at this stage.
- Press and hold the favourite button
- Using the favourite function.
- Press the favourite function button
, the memorised favourite drinks will come out.
- Press the favourite function button
DAILY CLEANING OF THE APPLIANCE
Timely cleaning and maintenance of the appliance is very important in prolonging the life of the appliance.
| 1. Remove the external drip tray. | ![]() |
| 2. Empty the water inside the drip tray in the sink and wash the tray with fresh water. Dry it afterwards. | ![]() |
| 3. Slide open the internal drip tray and the coffee grounds container. | ![]() |
| 4. Empty the coffee grounds container and wash it with fresh water. Dry it afterwards. Note: When | ![]() |
| 5. Push the service door open. | ![]() |
| 6. Remove the service door. | ![]() |
| 7. Press the release knob. | ![]() |
| 8. Remove the brewer. | ![]() |
| 9. Wash the brewer with fresh water. Dry the brewer afterwards. | ![]() |
| 10. Insert back the brewer to its original position and install back the service door to its original position. Note: When | ![]() |
| 11. Place the coffee grounds container on the internal drip tray and insert back into its original position. Note: When | ![]() |
| 12. Place the external drip tray back in its original position. | ![]() |
| 13. Unlock the nozzle cover by turning it to left. Then pull it downwards to remove it. | ![]() |
| 14. Pull the metal tube downwards to disassemble the nozzle cover and the metal tube. | ![]() |
| 15. Wash the nozzle cover with warm running water and use the needle or bristles of the brush to clean the hole. | ![]() |
| 16. Wash the metal tube with warm running water and use the needle or bristles of the brush to clean the hole. | ![]()
|
| 17. Assemble the metal tube back to the nozzle cover. Then push it upwards to place the nozzle cover back. And turn it to the right to lock it. | ![]() |
Turning Off the machine
Switch off the appliance by pressing the power on/off button.
Auto-Shutoff
The Appliance is equipped with auto-shutoff. Depending on the mode you have selected the appliance will have different auto-shut-off timing (SEE “D. Further Setting – III Mode Selection”).
FURTHER SETTINGS
ADJUSTING THE VOLUME OF YOUR COFFEE/HOT WATER
You can memorise your desired volume of coffee for both strong coffee and mild coffee and also the hot water volume from 25ml to 250ml.
- When making your coffee (either strong coffee or mild coffee) or dispensing hot water, press and hold the button you selected. The appliance will continue to make the cup of coffee.
- When the volume of coffee meets your desired volume, release the button. Two beep sounds will be heard, indicating that the volume of coffee has been memorised.
GRINDING ADJUSTMENT
You can adjust the grinder to suit the roast of your coffee by turning the adjuster knob inside the bean container:
- When the grinder is grinding the coffee beans while making the coffee, you can turn the adjuster knob to do the adjustment (CAUTION: Never do the grinding adjustment when the grinder is not operating. It may damage the grinder.)
- The dots on the adjuster knob indicate the fineness of the grind.

MODE SELECTION
The machine has three different settings: default setting, ECO mode and speed mode. In ECO mode, the appliance helps to save more energy. In speed mode, the user can make their coffee faster than in default setting.
| ECO Mode | Speed Mode | Default Setting | |
| Illumination Light | No | Yes | Yes |
| Pre-brewing* | Yes | No | Yes |
| Auto shut off time | 10mins | 30mins | 20mins |
| Cup Volume memory | Yes | Yes | Yes |
Note: The pre-brewing function moistens the grounded beans in the brewer with a small amount of water before full extraction. This expands the coffee grounds to build up a greater pressure in the brewer which helps extract all the oils and full flavour from the ground beans.
- When the machine is in standby condition, press and hold the
for 5 seconds. - The following buttons will have the following indications in different settings:
Hot water button 
Strong coffee button 
Mild coffee button 
In ECO Mode Lights ON Flashing Flashing In Speed Mode Flashing Lights ON Flashing In Default Setting Flashing Flashing Lights On - Press the hot water button for ECO mode, the Strong espresso button for speed mode and the Mild espresso button for the default setting. Two beep sounds will be heard, indicating that the mode has been selected. (Note: If you are pressing the relative lights on the button for each mode, the machine will not respond).
- If you would like to keep the setting unchanged, press
again or wait for 5 seconds for the machine to return to the standby condition.
CLEANING & MAINTENANCE
SELF-CLEANING
When lights up stably, it indicates that the appliance needs to undergo self-cleaning. The appliance will remain in the best condition if this function is performed at least once a month or more regularly, depending on the hardness of the water used. It is also suggested to:
- Fully fill the water tank.
- Add one pack of cleaning agent included in the box to the water tank.
IMPORTANT: Do not use vinegar or another cleaning agent to do the self-cleaning of this appliance.
The cleaning agent might damage the appliance. - Plug in the appliance.
- Place a sufficiently large container under the coffee spout.
- In the standby condition, press and hold
and the Strong coffee button
for 5 seconds.
A beep sound will be heard and then
and the Strong coffee button
will be flashing. - Press the Strong coffee button
to confirm undergoing the self-cleaning process. To resume back to the standby condition, press
.
will be flashing, indicating that the appliance is undergoing the self-cleaning process.
(Caution: Keep skin/body away from the hot water.)- When all the water in the water tank has been dispensed out,
and the Strong coffee button
will be flashing. Remove all the remaining solution in the water tank and fill the tank with normal tap water until the max position. Once water has been added into the water tank,
will go off. Then the appliance will continue the descaling process. The appliance will brew half of the water tank’s quantity first and then wait for around 1min. Following that, it will brew the remaining water from the water tank. - When the self-cleaning process is complete, the appliance will switch off automatically.
Note: To ensure the descaling process can be completed, please be patient during the process and make sure the appliance switches off automatically.
EMPTY SYSTEM FUNCTION
The empty system function is recommended to use before a long period of non-using the machine, for frost protection and before taking the machine to a repair agent.
- In standby condition, press and hold
the and Mild coffee button
together for 5 seconds.
will then be flashing.- Remove the water tank from the appliance.
will light up stably, indicating that the empty system is under process. You can press
before removing the water tank to resume back to the standby condition. - When the empty system function is complete, the appliance will switch off automatically.
Important: After performing the EMPTY SYSYEM FUNCTION; press the hot water button until water can come out from spout when the coffee maker is reused again.
MANUAL RINSING
You can perform a manual rinsing cycle to clean the coffee nozzle after use. It is also suggested to perform a manual rinsing if the appliance has not been used for a long period of time.
- In standby condition, press and hold
the and hot water button
together. - The hot water button will be flashing. The coffee nozzle will then dispense a small amount of water which is used for the rinsing.
Danger: The water which will come out of the coffee nozzle is hot and will collected in the drip tray underneath. Avoid contact with splashes of water. - After rinsing, the appliance will return to the standby condition.
CLEANING THE APPLIANCE
- Disconnect the power cord from the mains supply outlet.
- Pour away all the water in the internal and external drip tray.
- Use a damp cloth or a non-scratching cleaner to clean the water stains on the appliance.
IMPORTANT: Never use any abrasive, vinegar or descaling agents not included in the box to clean the appliance.
CLEANING THE COFFEE POWDER OUTLET
Coffee powder may stick to the wall of the powder outlet of the appliance after being used for a long period of time. It is suggested to clean the outlet by following the steps to ensure that coffee powdercan come out of the brewer.


TROUBLESHOOTING
| PROBLEM | CAUSE | SOLUTION |
| The appliance does not work. | The appliance is not connected to the mains. | – Plug in and press the switch.
– Check the cable and the plug. |
| No or delayed response in several attempts of pressing the function keys on the panel. | – Appliance is under an electromagnetic interference.
– Dirt over the panel | – Unplug the appliance. Restart after few minutes.
– Clean the panel with the cloth provided. |
| The coffee is not hot enough. | – The cups have not been preheated.
– The brewing unit is too cold. | – Rinse the appliance at least 3 times before making the coffee. |
| The coffee cannot come out from the spout. | The empty system function might have been used before. | Press the hot water button until water can come out from the spout. |
| The first cup of coffee is of poor quality. | The first run of the grinder does not pour a sufficient quantity of coffee power into the brewing unit. | Throw the coffee away. The other coffees will always be of good quality. |
| Coffee has no cream. | Coffee beans are not fresh. | Change or use an appropriate brand of coffee beans. |
| The touch buttons are not sensitive. | Not pressing the touch button from the front direction of the appliance. | Press the lower bottom part of the icon of the touch button from the front direction of the appliance. |
| The appliance takes too long time to warm up. | Excessive scale has built up. | Descale the appliance. |
| The water tank has been removed / the water level is very low in the water tank but | The area near the water tank connector is wet. | Wipe the water around the water tank connector. |
| The internal drip tray is filled with a lot of water. | The coffee powder is too fine, which blocks the water from coming out. | Adjust the coffee fineness to a bigger dot during grinder operation. |
| The coffee is delivered too slowly or a drop at a time. | The coffee powder is too fine which blocks the water from coming out. | Adjust the coffee fineness to a bigger dot during grinder operation. |
| Lack of bean indicator flashes but there are still a lot of coffee beans inside the container. | The internal coffee powder outlet is blocked. | To follow the steps of section E (V. Cleaning coffee powder outlet). |
| Milk foam cannot be made by the steam nozzle. | The nozzle is dirty and the hole on the nozzle cover or metal tube is covered by milk residue. | To follow the steps of section VII (DAILY CLEANING OF THE APPLIANCE) to clean the steam nozzle. |
Award Appliances Nz Ltd
382 Blenheim Road, Christchurch, New Zealand 8041
https://www.awardappliances.co.nz/




























































