attwood T500 Tsunami Aerator Pump

FEATURES
The T500 Recirq Livewell Aerator Kit is recommended for fishing boats with built-in live wells that are not equipped with a thru-hull recirculation system. The pump is sealed and can occasionally be submerged; however, the electrical wires must never be submerged.
| Kit Part No. | Pump Model | Flow Gal/Hr | Amp Fuse | DC Voltage | Outlet Hose I.D. |
| 4253 | T500 | 500 | 3 | 13.6 | 3/4″ (19 mm) |
WARNING
Failure to heed the following warnings could cause your boat to sink or result in explosions, fi res, and serious personal injury:
- DO NOT use an aerator kit to remove gasoline, oil, or other flammable liquids.
- Always disconnect the power source when installing or servicing any electrical product. Remove the vessel from water when using any 110/120 volt AC power tools.
- Use the correct fuse amperage rating specifi ed for your model pump. Test circuit breaker protection as installed. Failure to do so could result in serious personal injury or fi re hazard. Do not use a bilge pump hose, or any other type of unreinforced hose that could leak, split, or puncture.
REQUIRED FOR INSTALLATION
- In-line fuse holder with 3-ampere fuse
- Waterproof wire butt-connectors for #16 AWG wire
- Drill with 1-1/16″ (27 mm) or 1-1/8″ (30 mm) hole saw
- Phillips head screwdriver
- Brown and black lengths of #16 AWG insulated wire
- Polyurethane marine sealant for pump mounting threads
- Dash-mounted two-way switch (Attwood Part No. 7615)
- Wrench for 1-1/4″ and 1-1/2″ nut
- 23″ length of hose is provided; if a longer length is needed, use a 3/4″ (19 mm) inner diameter, smooth bore, reinforced hose.
CHOOSE A MOUNTING LOCATION FOR PUMP AND AERATOR HEAD FOR Shallow Tanks
For tanks with less than 8″ (20 cm) water height between the aerator head and pump intake:
- Offset the mounting locations so the aerator head does not force air into the pump intake causing cavitation.
- For example, mount the aerator head on the left side and the pump at the right side of the tank. (Figure 1)

- A. 10″ Minimum Distance
- B. Aerator Head
- C. If Less Than 8″ (20 cm)
- D. Recirculated Water
- E. Aerator Pump (Intake)
For Deeper Tanks
For tanks with more than 8″ (20 cm) water height between the aerator head and pump intake:
- Mount the aerator head and pump intake on the centerline of the live well.
- This centerline location ensures the evenest distribution of water flow. (Figure 2)

- A. CL (Center Line) Aerator Head
- B. Recirculated Water
- C. 8″ (20 cm) or More
- D. CL (Center Line) Aerator Pump (Intake)
INSTALL AERATOR PUMP
- Position aerator pump at least 2″ (51 mm) from the bottom of the tank. Maintain enough clearance for mounting flange and retaining nut. (Figure 3)
- At chosen pump location, drill a hole of 1-1/16″ (27 mm) minimum diameter, but no larger than 1- 1/8″ (28.6 mm) diameter, through the tank.
- Apply a bead of marine sealant around the mounting flange. Insert the pump through the mounting hole in the tank. Install and tighten the retaining nut finger-tight, then an additional 1/2 to 3/4 turn.
- Install and tighten stainless steel mesh strainer finger-tight.
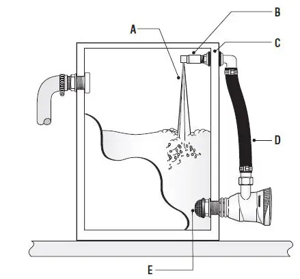
INSTALL AERATOR SPRAY HEAD
- Position the aerator spray head 2″ (51 mm) down from the top of the tank. Maintain enough clearance for mounting flange and retaining nut. (Figure 3)
- At chosen aerator location, drill a hole of 1-1/16″ (27 mm) minimum diameter, but no larger than 1- 1/8″ (28.6 mm) diameter, through the tank.
- Apply a bead of marine sealant around the mounting flange. Insert the spray head through the mounting hole in the tank. Install and tighten the retaining nut fi finger-tight, then an additional 1/2 to 3/4 turn with a wrench.

- A. Recirculated Water
- B. Aerator Head
- C. Hole Diameter: 1-1/16″ (27 mm) Min., 1-1/8″ (28.6mm) Max.
- D. 3/4″ (19mm) ID Smooth-Bore Reinforced Hose
- E. Aerator Pump (Intake)
INSTALL HOSE
- Install hose barbed fitting (Attwood Part No. 3899 or equivalent) on the pump outlet. Tighten by hand, then an additional 1/4 to 1/2 turn with a wrench. (Figure 3)
- Cut connecting hose (provided) to the proper length. If the longer hose is needed, use a 3/4″ (19 mm) inner diameter, smooth bore, reinforced hose.
- Attach one end of the hose to the pump outlet and another end to the spray head inlet. Secure with provided hose clamps.
- Check fittings and system for leaks.
WIRING INSTRUCTIONS
Make all wire connections above any bilge water accumulation, using marine-grade waterproof wire connectors only.
NOTE:
Failure to make waterproof connections and fuse the pump properly will void the product warranty.
- Using insulated terminal connectors, connect the positive lead (brown) to the ON/OFF switch. Connect negative lead (black) to the ground. (Figure 4)
- In a location easily accessible for changing fuses, splice the fuse holder with a 3-amp fuse into the positive lead (brown). The fuse holder must be installed not more than 72″ (1.83 m) from the positive (+) battery terminal.
- To check the system, feed water into the pump. If flow seems too low, make sure wires have been properly connected — brown to positive (switch), black to negative.

- A. In-Line 3-amp Fuse
- B. 72″ (1.83m) Maximum
- C. Switch
- D. Brown Wire
- E. Waterproof Connectors
- F. Black Wire
- G. 12 Volt Battery
- H. Aerator Pump
CARE AND MAINTENANCE
WARNING
Drain the livewell tank before you service the aerator. Failure to do so could result in a large volume of water flooding your boat.
If Aerator is installed thru-hull, the BOAT MUST BE OUT OF THE WATER to remove or replace the motor cartridge. The pump, plumbing, and connections may be below the water level. Removing the cartridge while the boat is in the water may result in the flooding and sinking of your boat.
- Periodically check that the electrical connections are tight and waterproof.
- All plumbing, clamps, and hoses must be secure and protected from wear and damage.
To clean or remove the existing motor cartridge
- Occasionally check the pump to be certain debris is not restricting or jamming the impeller. Careful attention will provide peak performance.
- To remove or replace cartridge: Hold pump housing firmly. Depress motor cartridge tabs, then twist the cartridge counter-clockwise to remove them. (Figure 5)
To insert the motor cartridge
- The cartridges are color-coded to help you match cartridge size to the aerator pump. Replace the existing motor cartridge ONLY with the RED (Attwood Part No. 4620) motor cartridge. (Figure 5)
- Coat the O-ring with vegetable oil to ease insertion.
- Insert the cartridge into the housing. Twist clockwise until you hear tabs snap up into slots.

- A. Motor Cartridge
- B. Unlock
- C. Lock
- D. Red Tab
- E. “O” Ring
- F. Red Tab Must Be Extending Through Slot
WARNING.
To avoid leaking or sinking, the aerator RED TAB MUST BE LOCKED AND VISIBLE through the aerator housing slot.
WARRANTY
ATTWOOD LIMITED WARRANTY
This Attwood Motor Cartridge carries a three (3) year warranty. See the product catalog or www.attwoodmarine.com for details.
©2008 Attwood Corporation
1016 N. Monroe Street, Lowell, MI 49331-0260, U.S.A. www.attwoodmarine.com.

























