Husqvarna GX 560 Lawn Mower
Introduction
Product description
The product is a pedestrian-controlled rotary lawn mower. It floats on a cushion of air which makes it easy to cut grass in all areas of the lawn.
Intended use
Use the product to cut grass in larger private gardens or public lawns. Can be used on slopes of maximum 45°. Do not use the product for other tasks.
Product Overview
- Engine brake handle
- Upper handle
- Handle knob
- Lower handle
- Starter rope handle
- Air filter
- Fuel tank
- Fuel valve
- Oil cap
- Muffler
- Hook for adjustment of handle position
- Spark plug
- Operator’s manual

Symbols on the product
Careless or incorrect use can result in injury or death to the operator or bystanders.
Please read the operator’s manual carefully and make sure that you understand the instructions before use.
Warning: rotating blade. Keep hands and feet clear.
Warning: rotating parts. Keep hands and feet clear.
Look out for thrown objects and ricochets.
Keep persons and animals at a safe distance from the work area.
Stop the engine and remove the ignition cable before repairs or maintenance.
Product liability
As referred to in the product liability laws, we are not liable for damages that our product causes if:
- the product is incorrectly repaired.
- the product is repaired with parts that are not from the manufacturer or not approved by the manufacturer.
- the product has an accessory that is not from the manufacturer or not approved by the manufacturer.
- the product is not repaired at an approved service center or by an approved authority.
Safety
Safety definitions
Warnings, cautions and notes are used to point out specially important parts of the manual.
General safety instructions
- This product is dangerous if used incorrectly or if you are not careful. Injury or death can occur if you do not obey the safety instructions.
- This product produces an electromagnetic field during operation. This field may under some circumstances interfere with active or passive medical implants.
- To reduce the risk of serious or fatal injury we recommend persons with medical implants to consult their physician and the medical implant manufacturer before operating this product.
- Always be careful and use your common sense. If you are not sure how to operate the product in a special situation, stop and speak to your Husqvarna dealer before you continue.
- Keep in mind that the operator will be held responsible for accidents that involve other persons or their property.
- Keep the product clean. Make sure that you can clearly read signs and decals.
- Do not let a person use the product unless you make sure that they read and understand the contents of the operator’s manual.
Work area safety
- Remove branches, twigs, stones and other loose objects from the work area before you operate the product.
- Objects that hit against the cutting equipment can eject and cause damage to persons and objects. Keep bystanders and animals at a safe distance from the product.
- Do not use the product in fog, rain, strong winds, cold weather, risk of lightning or other bad weather conditions.
- To use the product in bad weather or in wet locations can have a negative effect on your alertness. Bad weather can cause dangerous work conditions.
- Look out for persons, objects and situations that can prevent safe operation of the product.
- Look out for roots, stones, twigs, pits, ditches and other obstacles. Long grass can prevent a clear view.
- To cut grass on slopes can be dangerous. Do not use the product on ground that slopes more than 45°. Do not cut grass on wet slopes.
Work safety
- Use this product to cut grass lawns only. It is not permitted to use it for other tasks.
- Use personal protective equipment. See Personal protective equipment on page 7.
- Do not start the engine in a closed space or near flammable material. The exhaust fumes from the engine are hot and can contain sparks which can start a fire.
- Do not operate the product unless the blade and all covers are attached correctly. An incorrectly attached blade can come off and cause injury.
- Make sure that the blade does not hit objects such as stones and roots.
- This can do damage to the blade and bend the engine shaft. A bent axle causes heavy vibration and a very high risk that the blade becomes loose.
- If the blade hits an object or if vibrations occur, stop the product immediately.
- Disconnect the ignition cable from the spark plug. Examine the product for damages.
- Repair damages or let an approved service agent do the repair.
- Do not attach the engine brake handle permanently to the handle when the engine is on.
- Put the product on a stable, flat surface and start it.
- Make sure that the blade does not hit the ground or other objects.
- Always stay behind the product when you operate it.
- Keep 2 hands on the handle when you operate the product. Keep your hands and feet away from the rotating blades.
- Be careful when you pull the product rearward.
- Do not lift up the product when the engine is on. If you must lift the product, first stop the engine and disconnect the spark plug cable from the spark plug.
- Do not walk rearward when you operate the product.
- Stop the engine when you move across areas without grass, for example paths made of gravel, stone and asphalt.
- Do not run with the product when the engine is on.
- Always walk when you operate the product.
- Do not let the product stay out of view with the engine started. Stop the engine and wait until the cutting equipment stops to rotate.
Safety instructions for operation
- Personal protective equipment cannot fully prevent injury but it decreases the degree of injury if an accident does occur. Let your dealer help you select the right equipment.
- Use hearing protection if the noise level is higher than 85 dB.
- Use heavy-duty slip-resistant boots or shoes. Do not use open shoes or go with bare feet.
- Use heavy, long pants.
- Use protective gloves when necessary, for example when you attach, examine or clean the cutting equipment
Safety devices on the product
- Do not use a product with defective safety devices.
- Do a check of the safety devices regularly.
- If the safety devices are defective, speak to your Husqvarna service agent
Engine brake handle
- The engine brake handle stops the engine. When the engine brake handle is released, the engine stops.
- To do an inspection of the engine brake, start the engine and then release the engine brake handle.
- If the engine does not stop in 3 seconds, let an approved Husqvarna service agent adjust the engine brake.
Muffler
- The muffler keeps the noise levels to a minimum and sends the exhaust fumes away from the operator.
- Do not use the product if the muffler is missing or defective. A defective muffler increases the noise level and the risk of fire.
Fuel safety
- Do not start the product if there is fuel or engine oil on the product. Remove the unwanted fuel/oil and let the product dry.
- If you spill fuel on your clothing, change clothing immediately.
- Do not get fuel on your body, it can cause injury. If you get fuel on your body, use soap and water to remove the fuel.
- Do not start the product if the engine has a leak.
- Examine the engine for leaks regularly.
- Be careful with fuel. Fuel is flammable and the fumes are explosive and can cause injuries or death.
- Do not breathe in the fuel fumes, it can cause injury.
- Make sure that there is a sufficient airflow.
- Do not smoke near the fuel or the engine.
- Do not put warm objects near the fuel or the engine.
- Do not add the fuel when the engine is on.
- Make sure that the engine is cool before you refuel.
- Before you refuel, open the fuel tank cap slowly and release the pressure carefully.
- Do not add fuel to the engine in an indoor area. Not sufficient airflow can cause injury or death because of asphyxiation or carbon monoxide.
- Tighten the fuel tank cap fully. If the fuel tank cap is not tightened, there is a risk of fire.
Safety instructions for maintenance
- The exhaust fumes from the engine contain carbon monoxide, an odourless, poisonous and very dangerous gas. Do not start the engine indoors or in closed spaces.
- Before you do the maintenance on the product, stop the engine and remove the ignition cable from the spark plug.
- Use protective gloves when you do maintenance on the cutting equipment. The blade is very sharp and cuts can easily occur.
- Accessories and changes to the product that are not approved by the manufacturer, can cause serious injury or death. Do not change the product.
- Always use accessories that are approved by the manufacturer.
- If the maintenance is not done correctly and regularly, the risk of injury and damage to theproduct increases.
- Only do the maintenance as given in this owner’s manual. All other servicing must be done by an approved Husqvarna service agent.
- Let an approved Husqvarna service agent do servicing on the product regularly.
- Replace damaged, worn or broken parts.
Assembly
To assemble the lower handle
- Put the hook attached to the handle (A) through the center slot (B), in the direction of the arrow (C).

- Turn the handle clockwise 90° to put the ends of the lower handle between the brackets (D) on the cutting cover.

- Put the clevis pins (A) through the brackets and the ends of the lower handle. Lock with the lockpins (B).

To assemble the upper handle
- Put the lower handle in park position, refer to To set the handle position on page 9.
- Align the holes in the upper handle with the holes in the lower handle and attach the screws, washers and knobs.

- Use the straps to attach the cable to the handle.

Operation
- Before you operate the product
- Read the operator’s manual carefully and make sure that you understand the instructions.
- Examine the cutting equipment to make sure that it is correctly attached and adjusted. See To examine the cutting equipment on page 11.
- Fill the fuel tank. See To fill fuel on page 9.
- Fill the oil tank and do a check of the oil level. See
- To fill and replace the engine oil on page 11
To fill fuel
If available, use low-emission/alkylate gasoline. If lowemission/ alkylate gasoline is not available, use good quality unleaded gasoline or leaded gasoline. Use gasoline with an octane number of 90 RON out of North America (87 AKI in North America) or higher, and with a maximum of 10% ethanol (E10).
- Open the fuel tank cap slowly to release the pressure.
- Fill slowly with a fuel can. If you spill fuel, remove it with a cloth and let remaining fuel dry off.
- Clean the area around the fuel tank cap.
- Tighten the fuel tank cap fully. If the fuel tank cap is not tightened, there is a risk of fire.
- Move the product a minimum of 3 m (10 ft) from the position where you filled the tank, before a start.
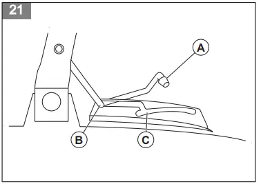
To set the handle position
- Lift the hook (A).

- Push the hook forward to set the handle in park position (B).
- Pull the hook rearward to set the handle in mow position (C).
To start the product
- Make sure that the ignition cable is connected to the spark plug.
- Set the handle in park position, refer to To set the handle position on page 9.
- Open the fuel valve.

- Hold the engine brake handle against the handlebar.
- Put your right foot on the cutting cover.
- Hold the top of the lower handle with your right hand and tilt the product.
- Hold the starter rope handle with your right hand.

- Slowly pull out the starter rope until you feel some resistance.
- Pull with force to start the engine.
- When the engine is at full speed, carefully lower the product to the ground.
- Set the handle in mow position, refer to To set the handle position on page 9
To stop the product
- Tilt the product and release the engine brake handle.
- When the engine stops, lower the product.
- Set the handle in park position, see To set the handle position on page 9.
- Close the fuel valve.
To get a good result
- Always use a sharp blade. A blunt blade gives an irregular result and the cut surface of the grass becomes yellow. A sharp blade also uses less energy than a blunt blade.
- Do not cut more than ⅓ of the length of the grass.
- Cut first with the cutting height set high. Examine the result and lower the cutting height to an applicable level. If the grass is very long, drive slowly and cut 2 times if necessary.
- Cut in different directions each time to prevent stripes in the lawn.
- Keep the cutting cover clean. Buildup from grass and dirt on the inner side of the cutting cover can decrease the cutting result. Refer to To clean the product on page 10.
Maintenance
For all servicing and repair work on the product, special training is necessary. We guarantee the availability of professional repairs and servicing. If your dealer is not a service agent, speak to them for information about the nearest service agent.
- Close the fuel valve.

- Let the engine run until it stops.
- Disconnect the spark plug cable.

- Tilt the product to its left side, with the air filter (A) up and the muffler down.

Before you do maintenance work
- Close the fuel valve.
- Let the engine run until it stops.
- Disconnect the spark plug cable.
- Tilt the product to its left side, with the air filter (A) up and the muffler down.
To do a general inspection
Make sure that all nuts and screws on the product are tightened correctly
To clean the product
- Do not use a high pressure washer to clean the product.
- If you use water to clean the product, do not flush water directly on the engine.
- Use a brush to remove leaves, grass and dirt.
- Make sure that the cold air intakes are not blocked.
- Remove the fan (see To replace the blade and fan on page 11) and clean it with a brush.
- Clean the surface of the product with a dry cloth.
- Clean below the product with a scraper to remove the buildup of grass and waste.
To examine the cutting equipment
- Examine the cutting equipment for damage or cracks.
- Always replace a damaged cutting equipment.
- Look at the blade to see if it is damaged or blunt.
To replace the blade and fan
- Prepare the product for maintenance work, see
- Before you do maintenance work on page 10.
- Hold the fan tightly and turn the blade bolt (A) counterclockwise to remove it.

- Remove the blade (B), cutting height spacers (C) and the fan (D).
- Examine the blade bolt and the fan for damages.
- Put the fan back in its initial position.
- If you add cutting height spacers, make sure that the pins are put in the holes on the fan.
- Attach the new blade. Make sure that the pins on the fan (E) are put in the holes (F) on the blade.
- When you attach the new blade, point the angled ends of the blade in the direction of the ground.
- Put the blade bolt through the center hole of the blade (G) and tighten clockwise by hand.
- Hold the fan tightly and tighten the blade bolt with a wrench.
- Pull the blade around by hand and make sure that it turns freely.
- Start the product to do a test of the blade. If the blade is not correctly attached, there is vibration in the product or the cutting result is unsatisfactory
To set the cutting height
Add cutting height spacers to decrease the cutting height. Remove the cutting height spacers to increase the cutting height.
- Prepare the product for maintenance work, see Before you do maintenance work on page 10.
- Remove the blade bolt and the blade, see To replace the blade and fan on page 11.
- Put 1 or 2 cutting height spacers (A) between the fan and the blade. Put the holes on the first cutting height spacer on the pins on the fan (B).
- Put the pins on the second cutting height spacer in the holes on the first cutting height spacer.

- Put the blade on the cutting height spacer. Make sure that the pins on the cutting heigt spacer are put in the holes (C) on the blade.
- Attach the blade and the blade bolt, see To replace the blade and fan on page 11
To fill and replace the engine oil
For information on how to fill and replace the engine oil, refer to the operator’s manual for the engine.
To clean the air filter
- Push the latch tabs (A), remove the air filter cover (B) and remove the air filter (C).

- Hit the air filter against a hard surface or blow compressed air through the air filter from the clean side of the air filter.
To examine the spark plug
- Examine the spark plug if the engine is low on power, is not easy to start or does not operate correctly at idle speed.
- To decrease the risk of unwanted material on the spark plug electrodes, obey these instructions:
- Make sure that the fuel mixture is correct.
- Make sure that the air filter is clean.
- If the spark plug is dirty, clean it and make sure that the electrode gap is correct, refer to Technical data on page 12.

- Replace the spark plug if it is necessary.
| Maintenance | Daily | Weekly | Monthly |
| Do a general inspection | X | ||
| Examine the oil level | X | ||
| Clean the product | X | ||
| Examine the cutting equipment | X | ||
| Examine the cutting cover* | X | ||
| Examine the engine brake handle* | X | ||
| Examine the air filter | X | ||
| Examine the muffler* | X | ||
| Examine the spark plug | X | ||
| Clean the air filter | X | ||
| Change the air filter | X | ||
| Examine the fuel system | X |
Transportation, storage and disposal
Transportation and storage
- For storage and transportation of the product and fuel, make sure that there are no leaks or fumes. Sparks or open flames, for example from electrical devices or boilers, can start a fire.
- Always use approved containers for storage and transportation of fuel.
- Empty the fuel tank before you put the product in storage for a long period of time. Discard the fuel at an applicable disposal location
- Safety attach the product during transportation to prevent damage and accidents.
- Keep the product in a locked area to prevent access for children or persons that are not approved.
- Keep the product in a dry and frost free area.
To prepare for storage
- Prepare the product for storage at the end of the season, and before more than 30 days of storage.
- Stop the engine and close the fuel valve.
- Start the engine and tilt the product approximately 10 cm from the gound, in the direction of the muffler.
- When the engine stops, release the engine brake handle.
- Disconnect the spark plug cable.
- Drain the fuel from the fuel tank.
- Remove the spark plug and pour 5 ml of engine oil through the spark pluge hole.
- Pull the starter rope handle 3 times to distribute the oil in the engine.
- Examine the spark plug, see To examine the spark plug on page 12. Do not connect the spark plug cable.
- Clean the air filter, see To clean the air filter on page
- Examine the cutting equipment, see To examine the cutting equipment on page 11.
- Clean the product, see To clean the product on page 10.
Disposal
- Obey the local recycling requirements and applicable regulations.
- Discard all chemicals, such as engine oil or fuel, at a service center or at an applicable disposal location.
- When the product is no longer in use, send it to a Husqvarna dealer or discard it at a recycling location.
Technical data
| GX 560 | |
| Engine | |
| Brand / Model | Honda / OHC GCV 170 |
| Displacement, cm3 | 166 |
| Speed, rpm | 3150 +0/-100 |
| GX 560 | |
| Nominal engine output, kW1 | 3.4 |
| Spark plug gap, mm | 0.75 |
| Spark plug type | NGK BPR6ES |
| Fuel and lubrication system | |
| Fuel tank capacity, liter | 0.9 |
| Engine oil | SAE 10W-30 |
| Oil tank capacity, liter | 0.4 |
| Weight | |
| With empty tanks, kg | 18 |
| Noise emissions 2 | |
| Sound power level, measured dB (A) | 96 |
| Sound power level, guaranteed LWA dB (A) | 97 |
| Sound levels 3 | |
| Sound pressure level at the operator’s ear, dB (A) | 86 |
| Vibration levels, ahveq 4 | |
| Handle, m/s2 | 3.3 |
| Cutting equipment | |
| Cutting height, mm | 10–30 |
| Cutting width, mm | 510 |
| Blade, article number | 5119004-10 |
Declaration of Conformity
EU Declaration of Conformity
We, Husqvarna AB, SE-561 82 Huskvarna, Sweden, tel: +46-36-146500, declare on our sole responsibility that the product:
| Description | Lawn Mower |
| Brand | Husqvarna |
| Type / Model | GX 560 |
| Identification | Serial numbers dating from 2022 and onwards |
Complies fully with the following EU directives and regulations:
| Directive/Regulation | Description |
| 2011/65/EU | “on the restriction of the use of certain hazardous substances in electrical and electronic equipment” |
| 2006/42/EC | “relating to machinery” |
| 2014/30/EU | “relating to electromagnetic compatibility” |
| 2000/14/EC | “relating to the noise emissions in the environment” |
UK Declaration of Conformity
We, Husqvarna AB, SE-561 82 Huskvarna, Sweden, tel: +46-36-146500, declare on our sole responsibility that the product:
| Description | Lawn Mower |
| Brand | Husqvarna |
| Type / Model | GX 560 |
| Identification | Serial numbers dating from 2022 and onwards |
Complies fully with the following UK regulations:
| Description |
| The Restriction of the Use of Certain Hazardous Substances in Electrical and Electronic Equipment Regulations 2012 |
| The Supply of Machinery (Safety) Regulations 2008 |
| Electromagnetic Compatibility Regulations 2016 |
| The Noise Emission in the Environment by Equipment for use Outdoors Regulations 2001, schedule 9 |
































