Control And Calibration Set
For Humidity Sensors
Application information

Warnings / Important information
Please read before operating
Warnings
Lithium chloride solution (LiCl)
Irritates eyes and skin. Danger to health if swallowed.
Dispose of in laboratory in the same way as inorganic salt solutions.
Danger of explosions.
In explosive areas zone 1 and zone 2, only use the following humidity pots: 0554 0635, 0554 0636 or 0554 0637.
Remove humidity pots from the packaging (box and polystyrene) outside of the explosive area. Do not take the packaging into the explosive area:

Important information
The digital and analog control and adjustment option is described in the Instruction Manual. Please refer to the description on page 12 to find out what type of probe or instrument you are using.
All of the humidity probes are subjected to comprehensive adjustment before delivery. Adjustment of the newly delivered probes is unnecessary because it could affect accuracy.
If there are not many salt crystals present the control container should be replaced.
In accordance with ISO 9001 all of the probes which were subjected to a special calibration should not be adjusted on location.
Safety sheet
Please read before operating
For further information please download the safety sheet as a PDF file from our website:
https://www.testo-international.com/safety.
General description
The control and adjustment set (Order no.: 0554.0660) is used to check and adjust humidity probes. The set consists of two special containers. Air mixtures with defined relative humidities are produced with the aid of different salt solutions.
As part of the accreditation as a DAkkS calibration laboratory for the parameters “Relative humidity” and “Dew point” the values for the relative humidity for saturated lithium chloride (LiCl) and sodium chloride (NaCl) solutions were newly specified at testo.
LiCl 11.3% RH, NaCl 75.3% RH
at rated temperature +25 °C
These improved values also apply to all control and adjustment sets already delivered instead of the values specified up to now.
A control container with a defined humidity of 33%RH is additionally available. It is used to
– bring the humidity probes to a defined initial state before checking and adjusting.
– ensure that the humidity sensors or probes do not dry out or become too humid during storage.
.
The humidity probe range from testo was converted to modified adjustment points in 1995.
The quality of the adjustment of older probes does not change with the new control and adjustment set. The values of ± 2%RH still apply.
![]()
If new probes are adjusted using new control containers, accuracies greater than ± 2%RH are possible depending on how the points on page 6 to page 7 -11 are adhered to. These values can also be achieved with new probes using older control containers.
Description of operation
Relative humidity for saturated solutions

Defined relative humidities can be created using saturated salt or acid solutions. With saturated salt solutions the salt content remains constant if there is enough undissolved salt at the bottom of the container (= saturated solution). With unsaturated salt solutions this is not the case (only liquid is visible) and a defined relative humidity above such solutions cannot be guaranteed.
NaCl and LiCl solutions are used for control and adjustment as their relative humidities are almost temperature-independent (see graph).

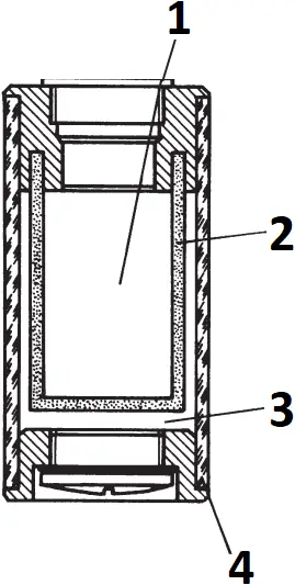
The control containers are double-walled (see diagram).
The inner wall is a diaphragm (porose wall, permeable to water vapour). The outer wall is made of transparent plastic. The saturated salt solution (NaCl or LiCl) is located between these two walls. The water vapour penetrates through the diaphragm into the inner part of the container and forms an air mixture with a specified water level. This corresponds to a defined relative humidity which can be used for adjustment.
The containers can be used in any position and without limitation if in perfect condition.
- Defined relative humidity
- Diaphragm
- Salt solutions (LiCl or NaCl)
- Transparent wall (plastic)
Handling
General information
Polystyrene holder
Remove the polystyrene holder from the packaging.
Both containers should remain in the polystyrene holder during control of the humidity probes since control and adjustment are temperature-dependent.
Excepted are humidity transducers and data loggers.
Since these instruments are usually used on location it cannot always be avoided that the respective container is removed from the polystyrene holder.
Checking the containers
If there is liquid in the inner part of the container this must be removed.
The functioning of the containers is guaranteed if there are enough salt crystals in the 11.3% and 75.3% solutions and the solution is between min. and max. Therefore the salt solution level should be checked from time to time. To do this remove the container from the polystyrene.
If there are no salt crystals present the containers should be replaced.
Shake the containers briefly before adjustment.
Screwing off the lid of the container
The containers should only be opened for a short time. If the ambient air mixes with the air mixture in the inner part of the container the defined humidity should be set first when the probe is screwed in or inserted.
In order to ensure that the containers function for as long as possible it is important to close the containers immediately after use. Clean and dry the sealing surface before closing.
Ambient air
The control and adjustment set must be kept at a constant temperature (20 to +30°C) for approx. 12 hours before a control or adjustment.
– The minimum adjustment time for a probe screwed in a container is 15 minutes for the control.
– An adjustment time of at least one hour (testo 177-H1 three hours) is recommended during adjustment. Disturbing influences from outside (direct heat, air draught etc.) should be eliminated.
Depending on the humidity content of the ambient air
- the salt solutions take in water from the ambient air. Salt crystals dissolve after a while (typical of LiCl solution). A salt solution can be pushed through the diaphragm in the inner part of the control container. This does not affect the functioning of the container as long as undissolved salt crystals are present in the salt solution.
- water evaporates from the salt solutions – salt crystals are eliminated (typical for NaCl solution).
Level in the control container

Recognising the optimum level
The levels in the control containers may deviate from the ideal level on account of ambient conditions. There is a min/max mark on the containers which can be easily checked. The liquid must be between these marks. The salt should be covered by the liquid.
Note
The liquid level in the 75.3 %RH container drops over time due to evaporation. The liquid level at 11.3 %RH containers increases through water absorption.
The containers are filled in the factory so as to prolong the shelf life
– at 11.3 %RH nearly min
– at 75.3 %rF nearly max
Checking the humidity and temperature sensor
Optical judgement
The humidity probe should be checked as to whether it is in perfect condition:
1. Checking for dirt
Ensure that there is no conductive dirt between the sensors.
2. Contact of the sensors
Ensure that the sensors are fitted securely and that the pins guarantee contact (no break).
3. Humidity sensor
Check the condition of the sensor surface i.e. if there are any scratches, dirt, fingerprints or if the humidity sensor is broken etc.
Cleaning the sensors
The sensor can be cleaned in distilled water.
The following should be observed when cleaning:
– The water temperature should be only max. +60 °C. Ideally the water temperature should correspond to the temperature of the sensor.
– Fill water in a clean container.
– Rotate the sensor for max. 1 minute in the water.
– Let it dry straightaway in the air.
– Wait 24 hours before using the sensor or before checking the sensor characteristics. Storage between 30 to 40%RH, preferably at 33%RH (control container).
Inserting the humidity probe in the control container

Note :
The screw connection supplied with the control and adjustment set must be used for the humidity probes in the testo 610 (0563 6105) instrument, penetration probe 0636 21xx, sword probe 0636 0360, 0636 0340 and for the probes in the hygrotest 600 humidity transducer.
Use the enclosed adapter with a small diameter for the thin humidity probe 0636 2130 and 0636 2135 (ø 4 mm).
A special adapter is needed for the 3-function probe 0635 1045 and 0635 PG 21 1540 (Item no. 0554 0661).
You need a special adapter for the data loggers. For data logger 0572 1754, use a grey insert, and for 0563 1775, use a black insert.
Attaching the screw connection or adapter
1) Screw on the humidity container.
2) Screw the connection or adapter into the thread.
2a) Loosen the swivel nut on the screw connection.
3) Carefully insert the humidity probe – only as far as the mark:
– 3-function probe 0635 1045, 0635 1540 and 0632 1535 without the protective cap,
– humidity probe ø 12 mm with plastic cap,
– humidity probe ø 4 mm with metal cap
– penetration probe 0636 2160 and 0636 2140 without sintered cap,
– sword probe 0636 0360 and 0636 0340 with special sealing insert*.
3a) Pull up the swivel nut by hand until the connection is tightly sealed.
* Please exchange for standard sealing insert
Note :
No additional accessories are required for humidity probes 0636 976x and 0632 1535, probes for humidity transducer hygrotest 602, 0555 60xx and probes for panel meters
Once the sintered cap or protection cap is removed, carefully screw the sensors directly into the control container until the stop.
Determining the probe type
Differentiating between digital and analog sensors
Testo differentiates between digital/analog adjustment and adjustment via the instrument.
Check which humidity probes or which measuring instrument you are using.

1. Recognising a digital version-button adjustment
Two push-buttons can be seen on the board.

2. Recognising an analog version-potentiometer adjustment
Two potentiometers can be seen on the board. Humidity values can only be changed using a screwdriver.
3. Recognising a probe which is to be adjusted via an instrument
No openings in the housing, no buttons on the board.
Procedure with
– humidity probes
Remove the protective sleeve or cover plugs from the handle of the humidity probe. The handle must be removed from probes with date of manufacture 08.84. The date of manufacture is engraved on the connection plug of the cable.

– hand-held measuring instruments
Remove the caps from the humidity probe.

– humidity measuring transducers
Unscrew the four screws on the housing cover and then remove cover.
If you have an analog version continue reading the Instruction manual from page 19 onward.
Digital adjustment
Digital adjustment
1) Unscrew the lid of the adjustment containers (75.3% RH). Insert probe in slot.
2.) After at least 70 minutes´ waiting time switch the instrument to the adjustment mode (CAL) and press the Hold button when CAL “YES” appears in order to save the new adjusted value.

1) Reset to an adjustment point saved in the factory
2) 1 point adjustment with known humidity

Digital humidity probes from Compact Class
Compact Class instruments: testo 635, 610
The adjustment switches S1 and S2 are located behind the cover plugs, to the right and left beside the cable.
You can reach the switches by moving the pin supplied up and down.
The system of protection IP54 applies only if the cover plugs are inserted. Therefore keep the cover plugs and reinsert after adjustment.

Digital humidity probes from Professional Class
Professional Class instruments: testo 600, 601, 451, 452, 454
The humidity probes are equipped with a microprocessor. The adjustment is carried out by pressing the S1/ S2 switch.

Wireless probes
An adapter wire is required for the calibration of wireless probes:
– Order No. 0430 9725 for testo 625
– Order No. 0430 9735 for testo 635, 435-2/-4

Calibration is made according to the operating instructions in the instruments’ configuration menus
Adjustment via instrument
Professional Class instruments: testo 650/400
These probes can be connected to testo 650, 400, 445 and 645 instruments:
0636.9740 Standard humidity probe
0636.9715 Duct humidity probe
0635.1540 3-function probe
Please note: Before adjusting the 3 function probe switch off the heating (see page 15 of Instruction manual).
Adjust according to operator guide in the instruments´ main menu.

Digital 3function probe
0635 1540
Switch off the hot bulb heating when checking or adjusting.
Switching off the heating

Remove protective sleeve. Turn the probe until the hole with “m/s Off” is visible.
Using a suitable screwdriver turn the switch 90° to the right (see diagram). The hot bulb heating is switched off.

0635 1535
Switching off the heating
Remove the plug with a screwdriver. Hold the handle so that the testo logo is pointing upwards
Turn the switch 45° to the left using a suitable screwdriver. The heating of hot bulb is switched off
Digital adjustment of the humidity probe

1. Adjustment at 11.3%RH
Screw on control container, insert probe and observe the period of stabilization
Press the S1 button. The value 11.3% appears in the display.
Remove the probe, close the control container.

2. Adjustment at 75.3%RH
Screw on the control container, insert the probe and observe the period of stabilization.
Press the S2 button. The value 75.3% appears in the display.
Remove probe again, close control container.
The respective humidity probe is adjusted.

Humidity measuring transducer (600x and 602x series)
hygrotest 600
Mount the screw connection on the control container.
Connect the control container to the humidity probe and tighten the rubber bushing.

hygrotest 602
Mount the probe directly on the humidity adjustment container.
Remove the cover on the measuring transducer housing.
You will find 3 switches under the large transducer cover.

Adjustment
You can adjust the 11.3 %RH point by simultaneously pressing the S1+S3 buttons, S2 with S3 sets the 75.3 %RH point.

Humidity transducer (6337.9741)
Remove the screwed sleeve on the handle.
Adjustment
Digital adjustment as for humidity probe. Description on page 15.

Humidity measuring transducer, old version

The measuring transducers from the hygrotest 55 series (item no.0555.60xx) are equipped with a microprocessor which facilitates adjustment. Period of stabilization: 24 hours.
Remove the cover from the measuring transducer housing. 2 pushbuttons can be seen. The adjustment is carried out by pressing the appropriate button.

Adjustment
1. Press S1.
The current output in the version 0 to 20 mA is set at 2.4 mA (in the version 4 to 20mA at 5.92 mA). This corresponds to a display of 12% ± 2 digits.
2. Press S2.
The current output in the version 0 to 20 mA is set at 15.2 mA (in the version 4 to 20mA at 16.16 mA). This corresponds to a display of 76% ± 2 digits.
Correcting incorrect measured results

Note: The buttons S1 and S2 should only be activated during adjustment otherwise the measured result may be incorrect.
If only the humidity unit without a numerical value is shown in the display this means that both keys are activated at the same relative humidity. Carry out the following steps:
– Press the button S1 (11.3%) at normal room humidity.
– Briefly increase the relative humidity near the sensor e.g. by breathing on it and while doing this press the key S2 (75.3%).
– A numerical value now appears once again on the display.
– You can then carry out a humidity adjustment in accordance with instructions.
Analog adjustment
![]()
Analog humidity probes for the 6200, 6250, 6300, 6400 and 5400 instruments

The humidity probes are equipped with potentiometers.
Adjustment is carried out by turning the potentionmeter P1/P2.
First adjustment (zero point setting)

Screw or insert probe in control container with 11.3%RH (LiCl) until the stop.
Period of stabilization: 1 hour.
Set display to “00.0” using potentiometer P1.

Second adjustment (setting the gradient)
Screw or insert probe in control container with 75.3%RH (NaCl) until the stop.
Period of stabilization: 1 hour.
Set display value at “64.0” with potentiometer P2. Set the display value at “75.3” with potentiometer P1.
The adjustment is completed.
Analog humidity measuring transducers and panel meters
If the measuring unit does not supply the required display of 11.3 %RH ±2 %RH or 75.3%RH ±2%RH the sensor must be adjusted.
First adjustment
(zero point setting)

Screw in probe in control container with 11.3%RH (LiCl) until the stop.
Period of stabilization: 3 days.
Adjustment of potentiometer P1:
– Measuring transducer
Version 0 to 20 mA:
Current output to 0 mA
(
display 0%)
![]()
Version 4 to 20 mA
Current output to 0 mA
(
display -25%)
– Panel meter
Set display at “00.0”.
Note:
The current signal cannot take on any negative values. For your safety set the current slightly higher than 0 mA (for example between 0 and 0.01 mA).
Second adjustment
(setting the gradient)

Screw probe in 75.3%RH (NaCl) control container until the stop.
Period of stabilization: 3 days
Set the gradient with potentiometer P2:
– Measuring transducer
Version 0 to 20 mA:
current output at 12.80 mA
(
display 64%RH)
![]()
Version 4 to 20mA:
current output at 10.16 mA
(
display 38.50%RH)
Panel meter
Adjust display value to “64.0”
Set the gradient with potentiometer P1:
– Measuring transducer
Version 0 to 20 mA:
current output at 15.06 mA
(
display 75.3%RH)
Version 4 to 20mA:
current output at 16.05 mA
(
display 75.3%RH)
Panel meter
Adjust display value to “75.3”.
Technical data
Contents of the control container and deviation: LiCl solution (saturated) = 11.3%RH ± 2%RH
NaCl solution (saturated) = 75.3%RH ± 2%RH
Contents of the control container and deviation: MgCl2 solution (saturated) = 33%RH ± 2%RH
Rated temperature: + 25 °C
Permissible operating temperature: +20 to +30 °C
Permissible storage and transport temperature: 0 to + 40 °C
Service life (average values): Container constantly open: approx. 1 month
Container only opened for adjustment purposes (otherwise sealed air-tight): at least 2 years
Dimensions of polystyrene holder: (BxWxH) 147 x 85 x 83mm
Warranty: 6 Months
Temperature dependency of relative humidity for salt solutions:
Lithium chloride
| Temperature | LiCl Average |
| 10 °C 15 °C 20 °C 25 °C 30 °C | 11.29 % 11.30 % 11.31 % 11.30 % 11.28 % |
Sodium chloride
| Temperature | NaCl Average |
| 10 °C 15 °C 20 °C 25 °C 30 °C | 75.67 % 75.61 % 75.47 % 75.29 % 75.09 % |
Ordering data
Description Order no.
Control and adjustment set …………………………………… 0554 0660
Control container 11.3%RH (LiCl) ………………………. 0554 0635
Control container 75.3%RH (NaCl) ……………………… 0554 0637
Control container ………………………………………………….. 0554 0636
Adapter, 3 function probe 0635 1540/1045 ………….. 0554 0661
Adapter for sword probe 0636 0264 …………………….. 0554 0664
Adapter for penetration probe 0636 2164 …………….. 0554 0649
Screw connection ………………………………………………….. 0241 9117
Seal for sword probe ……………………………………………… 0135 1013
DAkkS calibration certificate for humidity …………….. 0520 0206
Standard calibration certificate for humidity ………….. 0520 0006
Special calibration certificate for humidity ……………… 0520 0106

0973 1820 en 08



















