Schreder Tflex Module

INSTALLATION INSTRUCTIONS
SYMBOLS


REMOTE MOUNTING

| 5P CONNECTOR | |
| CONNECTOR PIN# | Circuit 1 |
| 1 | |
| 2 | |
| 3 | Circuit 2 |
| 4 | |
| 5 | Earth |

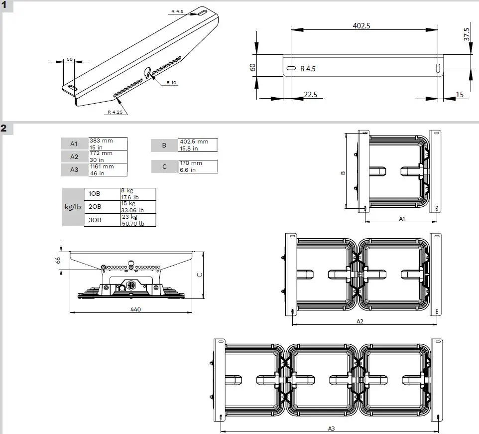
FIXED BRACKETS


SUSPENDED SWIVELING FIXATION, PULL OUT


SUSPENDED SWIVELING FIXATION, ADJUSTABLE


WALL SWIVELING FIXATION, PULL OUT


WALL SWIVELING FIXATION, ADJUSTABLE


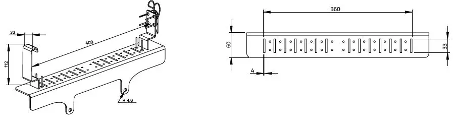
HOOK FIXATION

Adjust hooks following cable tray size W100 – 400mm for standart version and 100-400 mm for custom or studio request.


SAFETY INSTRUCTIONS
The light source contained in this luminaire shall only be replaced by the manufacturer or his service agent or a similar qualified person.
Always switch off the power prior to installation, maintenance or repair activities.
RISK GROUP 2 – CAUTION! Hazardous optical radiation may be emitted from this product. Do not stare at the luminaire when operating as it may be harmful to the eyes. The luminaire should be positioned so that prolonged staring at the luminaire at a distance of less than 0.77m is not expected.
This product contains a light source of an energy efficiency class G or higher.
In case of PVC insulated mains cable, the installer
MUST ensure that the WHOLE cable is protected against climatic conditions, especially
UV rays and rain, by making sure that the cable is contained inside the luminaire and pole
Y-connection: In case of damage to the wire,it has to be replaced only by the manufacturer,distributor or by an expert, to avoid risks.

Copyright © Schréder S.A. 2022 – Executive Publisher: Stéphane Halleux – Schréder International Services sa – B-4000 Liége, Rue de Mons 3 (Belgium) – The information, descriptions and illustrations herein are only of an indicative nature and subject to changes without notice.



















