SUNJOY GROUP A101011500 Tan Replacement Mosquito Netting For Moorehead Steel Patio Gazebo

Safety Information
- More than two people are required for this assembly.
- Some parts may contain sharp edges. Wear protective gloves.
- When assembling and using this product, basic safety precautions should always be followed to reduce the risk of personal injury and damage to equipment. Please read all instructions before assembly and usage.
CAUTION:
Do not climb on top of the gazebo. Falling off the gazebo can result in serious injury.
NOTICE:
For outdoor use
Warranty: 1 Year
DANGER:
This unit is heavy! Do not assemble this item alone.
WARNING:
Do not leave the gazebo where there is a risk of high wind, as possible damage will occur to the structure.
- Keep all flame and heat sources away from this gazebo fabric. This Gazebo is made with fabric that meets CPAI-84 specifications for flame resistance. It is not fire proof. The fabric will burn if left in continuous contact with any flame source. The application of any foreign substance to the gazebo fabric may render the flame-resistant properties ineffective.
Safety information
- When assembling and using this product, basic safety precautions should always be followed to reduce the risk of personal injury and damage to equipment. Please read all instructions before assembly and use.
- Some parts may contain sharp edges, wear protective gloves if necessary. At least three or more people are recommended for safe assembly.
- Keep all children and pets away from assembly area.
- Begin assembly not less than 6 feet from any obstruction such as fence, garage, house, overhanging branches, laundry line or electrical wires
- Install on level ground. This gazebo cannot be permanently staked or attached to concrete floor or platform. The provided stakes are for soft ground use only. If assembling on a hard surface like a deck or concrete, other forms of attachment must be used such as expansion bolts that can be purchased locally.
- This gazebo is intended for decorative and sunshade purposes only and is not meant to withstand inclement weather including high winds, rain and snow. Gazebo fabric is water resistant, not water proof and may leak during exposure to precipitation.
- Do not mix old and new batteries.
- Do not mix alkaline, standard(carbon‐zinc),or rechargeable (nickel‐cadmium) batteries.
Parts List
| Description | Label | Part# | Qty | Image |
| Post 5 | A5 | P00020058401 | 2 | |
| Post 6 | A6 | P00020058501 | 1 | ![]() |
| Post 7 | A7 | P00020058601 | 1 | ![]() |
| LED light 1 (preassemble) | A-1 | P007600078 | 2 | ![]() |
| LED light 2 (preassemble) | A-4 | P007600080 | 2 | ![]() |
| LED light panel cover (preassemble) | A-2 | P007600077 | 8 | ![]() |
| Bluetooth (preassemble) | A-3 | P007600079 | 1 | ![]() |
| Long Left Crossbeam | B3 | P000400841 | 2 | ![]() |
| Long Right Crossbeam | B4 | P000400840 | 2 | ![]() |
| Short Side Left Beam | C3 | P000400843 | 2 | ![]() |
| Short Side Right Beam | C4 | P000400842 | 2 | ![]() |
| Oblique Beam | D3 | P00060193101 | 4 | ![]() |
| Oblique Beam Bottom Tube | D4 | P00060193201 | 4 | |
| Long Middle Beam | E5 | P00060193301 | 2 | ![]() |
| Middle Beam Bottom Tube | E6 | P00060205602 2 | ||
| Short Middle Beam | F5 | P00060193401 | 2 | ![]() |
| Middle Beam Connector | G | P000501105 | 4 | ![]() |
| Big Top Connector | I | P000501106 | 1 | ![]() |
| Hook | M | P005800001 | 1 | ![]() |
| Long Mosquito Netting Bar | N | P005700621 | 4 | |
| Description | Label | Part# | Qty | Image |
Short Mosquito | O | P005700622 | 4 | ![]() |
| Base Cover | P | P006100158 | 4 | ![]() |
| Base | Q | P000100310 | 4 | ![]() |
| Small Canopy | R | P00110067101 | 1 | ![]() |
| Big Canopy | S | P00110067201 | 1 | ![]() |
| Mosquito Netting | T | P001200201 | 1 | ![]() |
| Curtain | U | P001300099 | 1 | ![]() |
| Adapter Charge | V | P007600064 | 1 | ![]() |
| Adjustable Tube | W | P005700620 | 4 | ![]() |
Hardware Pack 1


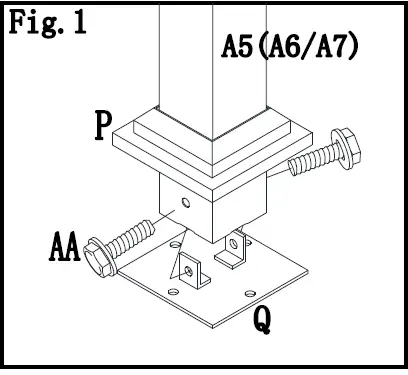
Put base cover(P) into post(A5/A6/A7), then attach base(Q) to post(A5/A6/A7) by screw(AA).
Insert long left Crossbeam (B3) into long right Crossbeam(B4); Same way insert short side left beam (C3) into short right side beam(C4).
Attach middle beam connector(G) to across beam(B3/C3/B4/C4) to the across beam by using bolt(AA).
Fix the assembled across beam(B3/C3/B4/C4)to post(A5/A6/A7) by using Bolt(BB) .
Attach mosquito Netting Bar(N/O) to across beam (B3/C3/B4/C4)by using bolt(AA). 
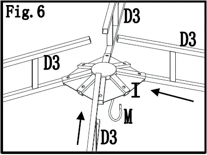
Insert sloping beam bottom end(D4)into sloping beam upper end(D3).
Insert sloping beam upper end(D3) into big top connector(I), attach hook(M) to big top connector(I)
Fix Oblique Beam(D4) to top of post(A5/A6/A7) by using bolt(CC),flat washer (DD) and nut(EE).
Insert middle beam bottom tube(E6) into long middlebeam(E5).
Attach top end of middle beam(F5,E5) to big top connector(I).
Fix middle beam bottom end(F5,E6) to middle beam down connector(G) by using bolt(CC), flat washer(DD) and Nut(EE).
Put the big top cloth (S) on the big top, but don’t assemble it first.
Attach adjustable tube(W) to sloping beam upper tube bottom end(D3).
Assemble the adjusting tube (W) to the large top inclined beam (D3).
Fix big canopy corner to Oblique Beam(D3).
Put small canopy(S) on small top frame, Fix small canopy corner to adjustable tube (W).
Adjust tube length(W)till canopy tight
Put mosquito netting (T) and curtain (U) onto long mosquito netting rod (N) and short mosquito netting rod (O) by plastic ring (GG).
Lift up base cover (P),secure the whole gazebo to the lawn by stake (HH).
Remove battery holder cover, insert two(AA)battery,(Note: to purchase “AA” battery )then place cover on battery holder。 Press the switch to control the light on and off.
Bluetooth audio use: turn on the power switch of Bluetooth audio(arrow pointing to the location, there will be a tone after opening), the power is turned on, then open the blue tooth device with Bluetooth function to match and use Bluetooth audio. Turn off the switch of Bluetooth audio after using the Bluetooth audio. Bluetooth audio charging: When the power of the Bluetooth audio (A-3) is too low, remove the four screws, take out the Bluetooth audio (A-3), connect the charger (V) to the power supply, and the other end Insert into the charging hole of the Bluetooth (A-3) for charging. After the charging is completed, put the Bluetooth (A-3) back on the post and lock it with the screw.
Replacement of LED light and the light panel cover
If the LED light or panel cover is old or damaged and need to be replaced, pry off the panel cover (A-2) along the gap between the panel and post with a thin film or similar tool, then replace the LED light (A-1) and put the panel cover on.
Care and Maintenance
- Our steel components for garden accessories and furniture are treated with rust inhibiting paint
that protects it from rusting. However, due to the nature of steel, surface oxidation (rusting) will occur once these protective coatings are scratched. This is not a defect and thus not covered by the warranty. - To minimize this condition, we recommend care when assembling & handling the product to prevent scratching the paint. Should any scratching or damage occur, we recommend immediate touch‐up with rust inhibiting paint.
- Surface rust can also be easily removed with a very light application of common cooking oil. If surface oxidation (rusting) occurs and if no measure is taken to prevent this, the oxidation may start dripping on to deck or patio and caused damaging stains, which may be difficult to remove. This can be prevented if the above‐mentioned measures are taken to keep the product from oxidizing.
- Use damp cloth to wipe off the stains as quickly as possible.
- If necessary, wash with a mild solution of soap and water; rinse thoroughly and dry completely.
- Periodically check and ensure that all bolts are well‐tighten during use
Limited Manufacturer’s Warranty
Sunjoy Group warrants to the original purchaser that this item is free from defects in workmanship and materials for a period of 1 year from the date of purchase, provided the item was factory‐sealed at the time of purchase and is maintained with care and used only for personal, residential purposes. Should any manufacturing defect arise within this warranty period, Sunjoy Group will replace (at our option) any defective merchandise or parts upon proof of purchase; however, transportation and delivery costs, as well as payments to a third party for assembly or disassembly of the item, remain the responsibility of the purchaser. A purchaser of an “open box,” previously‐returned, or “clearance” item, as well as original purchasers outside of the warranty period, may obtain replacement parts from Sunjoy Group for products in current production, at nominal cost.
Exclusions:
Items used for commercial, contract, or other non‐residential purposes, or items damaged due to acts of nature, vandalism, misuse, or improper assembly are not covered. Corrosion or rusting of hardware is not covered. Proof of purchase (dated register receipt) is required for warranty claims. Warranty is to the original purchaser and is non‐transferable. Any replacement of warranted items will be in the original style and color, or a similar style and
color if the original is unavailable or has been discontinued. As some states do not allow exclusions or limitations on an implied warranty, the above exclusions and limitations may not apply. This warranty gives you specific rights, and you may also have other rights, which vary from state to state.













































