ATRIM OmniSensor 800 Motion Temperature Light User Guide
Important safety information
Please read this and other guides at atr.im/ omnis carefully. Failure to follow the recommendations may be dangerous or cause a violation of the law. The manufacturer, importer, distributor, and/or reseller will not be held responsible for any loss or damage resulting from not following any instruction in any guide.
Atrim OmniSensor is engineered for indoor use in dry locations only. Do not use outdoors or in damp, moist, and / or wet locations. Do not use rechargeable CR123A batteries. Keep product and batteries away from open flames and extreme heat.
Contains small parts; keep away from children.
![]()
www.atrim.co/help/omnisensor/ OmniS-Man-0002
FCC ID: 2A7QJOMNISENSORNA
Dedicated guides
Home Assistant – step by step setup with open-source, Home Assistant software: atr.im/os-ha
SmartThings – step by step setup with Samsung’s SmartThings: atr.im/os-st
Need help? Visit www.atrim/omnis or email us [email protected]
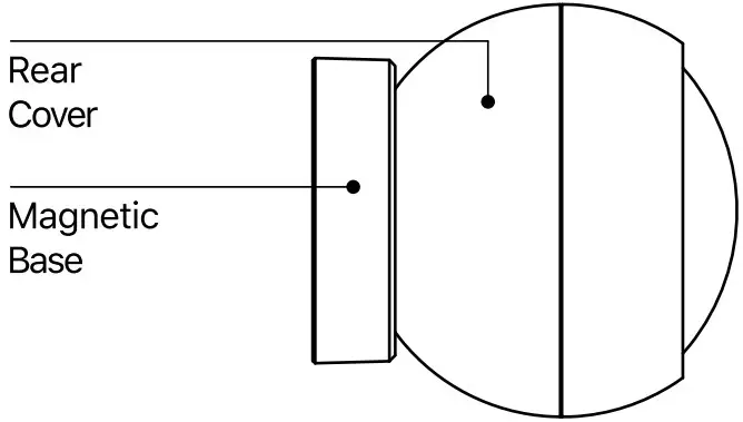
Your sensor
Various guides will refer to the following sensor elements.

Quick start
- Detach Rear Cover by turning it counter clock-wise.
- Remove and recycle the Battery Tab blocking battery connectiyity..lf not.already communicating with a Z-Wave hub, OmniSensor’s LED will now fade between colours for 2 cycles and then turn off.
- Take OmniSensor within 10′ of your Z-Wave hub or Atrim Stick.
- Connect sensor to your system:
- If using Home Assistant, visit atr.im/os-ha for instructions.
- If using SmartThings, visit atr.im/os-st for instructions.
- If system’s app supports SmartStart, scan the QR code in sensor’s battery compartment. Sensor will connect to Z-Wave network automatically.
- If system supports SmartStart codes, enter the string under the QR code into your software’s interface.
- Else:
- Set system into its ‘add device’ mode.
- Press sensor’s Action Button 3 times within 1.5 seconds.
- Sensor’s LED will flash green 5 times once it has connected to your system. Should it not, repeat the above steps and contact Atrim for further help.
- Reattach and secure Rear Cover to OmniSensor.
Atrim OmniSensor is now a part of your home automation system. You can configure it and its automations via the system; please refer to its user guide for precise instructions. For physical installation of the sensor, please read on.
Optimising installation location
Where you place Atrim OmniSensor will determine the accuracy of its 3 sensors.
- It should not be installed in areas of artificial or sudden temperature change. When selecting an installation location, avoid placing OmniSensor beside or near air conditioners, humidifiers, and heaters. Also avoid installing it directly opposite a window or direct sunlight.
- Avoid installing it upon a metal frame or on a large metallic object. Such placement may weaken OmniSensor’s wireless networking.
- Install it approximately 2.5 metres / 8 feet above the floor and tilt the OmniSensor accordingly such that it monitors areas where people frequently move.
Physical installation
Atrim OmniSensor can be mounted upon the chosen surface using double sided tape or screws. Installation must utilise the Magnetic Base and screws should be installed through the base’s screw holes.
Disconnect from system
Follow your system’s instructions for your disconnecting / excluding Z-Wave products. When prompted by the system:
- Remove Rear Cover.
- Set system software to device removal mode.
- Rapidly press the Action Button 3 times. The LED will blink red 5 times and then turn off if disconnection has been successful.
Factory reset Atrim OmniSensor
Only perform when your system’s controller is inoperable else system will keep device as a phantom node you cannot utilise or change.
- Ensure sensor is powered on.
- Remove Rear Cover.
- Press and hold Action Button for 12 seconds and then release. The LED will alternate between red and green for 5 seconds if factory reset has been successful. If it fails, ensure you have pressed and held Action Button for 12 seconds or more.
- Reattach and secure Rear Cover.
Waking Atrim OmniSensor
Battery-based Z-Wave products need to be active in order to receive new configurations from your system. OmniSensor wakes automatically, at regular intervals to optimise battery life. However, you can also wake it for immediate changes.
- Remove Rear Cover.
- Press and hold the Action Button for 3 seconds. The LED will flash blue once indicating your sensor has woken up.
Your sensor will automatically return to battery-saving mode after 10 second.
Warranty
Atrim warrants Atrim-branded hardware, when purchased (1) new and delivered in new condition and in its original packaging, (2) from an authorised reseller and (3)) i when used in the region of onginal export against defects in matenals and workmanship for 1 year from the date of onginal purchase. In line with the terms of sales between Atrim and the authorised importer of this device, any claims against the foregoing warranty are to be handled by the authorised distributor, or their reseller, directly. The foregoing warranty is subject to the proper installation, operation, and maintenance of the device in accordance with installation instructions and the operating manual supplied to customer and further documentation made available digitally. Liquid damage, including, without limitation, internal liquid damage caused by improper use, closure or affixing of the hardware, is not covered by this warranty. Splash, water, and dust resistance are not permanent conditions and resistance might decrease as a result of normal wear. Device not warranted (1) for damage from open flames and heat, and exposure to sun,(2) for battery leak damage; always remove all battenes from products that not being used and (3)against normal wear and tear and / or accidental damage or abuse. Be sure to read all this device’s support material, online and in-print, fully. Subject to the full terms of obtaining service within 30 days of the manifestation of a problem, if you submit a valid claim under this warranty, Atrim shall provide further information in obtaining warranty services from the authorised-party. The full warranty by which your use of this device is bound’s available at atr.im/ warranty. English language warranty and instructional information is paramount to translations provided in any other language and prevails over any such translations.
FCC Caution
This device complies with part 15 of the FCC Rules. Operation is subject to the following two conditions: (1) this device may not cause harmful interference, and (2) this device must accept any interference received, including interference that may cause undesired operation. Any changes or modifications not expressly approved by the party responsible for compliance could yogi the user’s authority to operate the equipment.
NOTE: This equipment has been tested and found to comply with the limits for a Class B digital device pursuant to Part 15 of the FCC Rules. These limits are designed to provide reasonable protection against harmful interference in a residential installation. This equipment generates, uses and can radiate radio frequency energy and, if not installed and used in accordance with the instructions, rnaycause harmful interference to radio communications. However, there is no guarantee that interference will not occur in a particular installation. If this equipment does cause harmful interference to radio or television reception,which can be determined by turning the equipment off and on, the user is encouraged to try to correct the interference by one or more of the following measures:
- Reorient or relocate the receiving antenna.
- Increase the separation between the equipment and receiver.
- Connect the equipment into an outlet on a circuit different from that to which the receiver is connected.
- Consult the dealer or an experienced radio/TV technician for help.
To maintain compliance with FCC’s RF Exposure guidelines, This equipment should be installed and operated with minimum distance between 20cm the radiator your body: Use only the supplied antenna.
RF exposure statement.
The device has been evaluated to meet FCC/CE general RF exposure requirement. The device can be used without restriction.
California Proposition 65.
As required by the State of California: use only for intended purposes and not for other purposes such as the consumption of food and drinks. Cancer and Reproductive Harm P65warnings.ca.gov
Declaration of conformity
Atrim declares that this device is in compliance with the essential requirements and other relevant provisions of RED 2014/53/EU, RoHS 2011/65/EU IEC 62321:2008, EN 50581:2012 and ErP Directive 2009/125LEC, No 1275/2008 AMENDMENT 801/2013. The full text of the declaration is available from atr.im/doc
Specifications
Z-Wave devices operate between 868.40 & 926.3 MHz depending on local certification requirements. It uses up to -5.68dBm ERP of transmission power, enabling wireless connectivity. Full specifications can be found at atr.im/stick-specs
Disposal guidelines and WEEE
Atrim devices may contain batteries; remove when not in use. Do not dispose of device as unsorted municipal waste, use separate collection facilities. Contact your local authority for further information.
@atrimco
© and TM Atrim. All trademarks used are the property of their respective owner.




















