PHILIPS 50572-P0 Spotlight Paisley LED iPon

WHAT IS INBOX
TOOLS REQUIRED
INSTALLATION
STEP1
STEP2&3
STEP4
STEP5
STEP6
STEP7
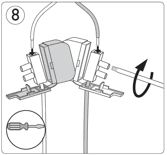
STEP8
STEP9
STEP10
STEP11
STEP12
STEP13
CAUTION

Philips Lighting Contact Centre Int. Business Reply Service
I.B.R.S. / C.C.R.I. Numéro 10461 5600 VB Eindhoven
Pays-Bas / The Netherlands
www.philips.com
+800 7445 4775
4404.029.07901
Last update: 31/05/17




















