ALTA WINDOW FASHIONS 1030888 Roller Skyline Cassette
Install the Brackets
Important: Make sure the mounting surface is level. Brackets must be in line and level for shade to operate properly. Shim brackets if necessary.
Small, Medium and Large Curved Cassette
Inside Mount, install the brackets level and aligned to each other, using the screws provided.
Outside Mount, center the shade over the window opening at the desired height and mark the end of the clutch side of the shade. Measure the width of the shade fabric, and mark the width of the fabric plus 1 1/4” from the previously marked mark.
Square Cassette
Inside Mount, install the brackets level and aligned to each other, using the screws provided.
Outside Mount, center the shade over the window opening at the desired height and mark the end of the clutch side of the shade. Measure the width of the shade fabric, and mark the width of the fabric plus 1 1/4” from the previously marked mark.
Install the Shade
Small Curved Cassette
Medium and Large Curved Cassette 
2c. Square Cassette
AgileLift
Important: Do not to pull the lock pin until shade is securely assembled onto the brackets.
Note: Illustration shown under Open Roll without top treatment, same concept applies with shade made with Cassette.
With the shade installed, remove the lock pin prior to operating by pulling it downward. If for any reason needs to make an adjustment on the position of the installation brackets or remove the shade; raise the shade and insert the lock pin prior to disengaging the shade from the installation brackets.
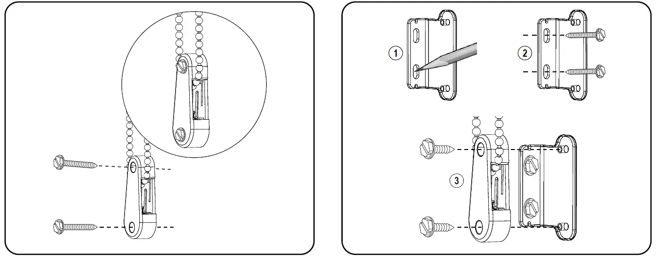
Installing the Beaded Cord Tensioner (Clutch Option Only)
Inside mount (IB) Outside mount (OB)
Pull tension device down until the chain is taut and then move the tension device up approximately 1/8”. Mark the upper and lower screw hole and install the device with the screws provided. Important: Do Not Over-Tighten.
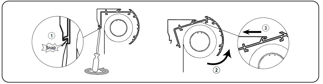
Removing the Shade (Only if Necessary)
Small Cassette 
Medium and Large Cassette
Note: Illustration shown under Open Roll without top treatment, same concept applies with shade made with Cassette.
If for any reason needs to make an adjustment on the position of the installation brackets or remove the shade; raised the shade and insert the lock pin prior to disengaging the shade from the installation brackets.
Child Safety
Young children can STRANGLE in cord loops and in the loop above the cord stop. They can also wrap cords around their necks and STRANGLE.
- Always keep cords out of children’s reach.
- Move cribs, playpens and other furniture away from cords. Children can climb furniture to get to cords.
- Do not tie cords together.
- Make sure cords do not twist together and create a loop.
WARNING
STRANGULATION HAZARD – Young chidren can be strangled by cords.
Immediately remove this product if a cord longer than 22 cm or a loop exceeding 44 cm around becomes accessible. Rev 7/21 Print 7/21


AgileLift 



















