resistex 605055 Noclip Wall Light
Instruction Manual

Installation Instructions
Safety notes
-Never work when voltage is present on the luminaire.![]()
-The installation must be performed by a professional installer in compliance with the standards and regulations relating to electrical installations ![]()
-Risk of electrostatic discharges. (ESD Norm).
Handle with precautions.![]()
-Please observe the notes and steps described in the mounting instructions.
Maintenance instructions
-Do not use chemicals or abrasives products to clean the fixture. ![]()
-Keep these instructions for dismantling or future maintenance. You can consult additional information about RESISTEX luminaires on the website www.resistex-sa.com ![]()
RESISTEX cannot be responsible for any misuse of the product.
![]()
DIMENSION / SIZE

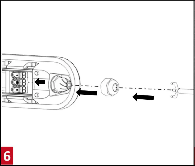
MONTAGE / INSTALLATION











Tél. 04 93 276 276 – Fax 04 93 276 280 – [email protected]
APE 2740Z – Siret 487 593 477 00010 – SAS CAPITAL 649979 € – T.V.A. F.R. 73 487 593 477




















