SHADA LED’s Light Installation Guide
Overview




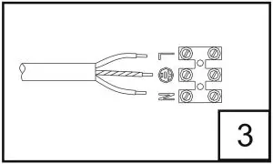
Assembly Instruction


Notes on Disposal
The product is designated for separate collection at an appropriate collection point. Do not dispose of the product with household waste. For more information, contact the retailer or the local authority responsible for waste management.
Care
Before cleaning the unit, disconnect it, if necessary form other components; do not use aggressive cleaning agents.
Warranty
The unit has been carefully checked for defects. If nevertheless you do have cause for complaint, please go back to the retailer where you have bought the product together with your proof of purchase.
Safety
General advices
- Read the manual carefully before use. Keep this manual for future reference. .
- Only use the product for its intended purposes. Do not use the product for other purposes than described in the manual.
- Do not use this product if any part is damaged or defective. If the product is damaged or defective, replace the product immediately.
- This product Must not be used in the immediate viciity of children without the supervision of an adult. Children must not be allowed to play with the device.
- Do not modify the product in any way.
- Do not expose the product to water or moisture. (IP 20)
- Do not immerge the product into water. (IP 44 —IP 66)
- Keep the product away from heat sources.
- Do not block the ventilation openings.
- . Do not look directly into the light source of the LED lamp.
- Keep a minimum distance of >2 meter between the lamp and the surface being illuminated.
Electrical safety
- To reduce risk of electric shock, this product should only be opened by an authorized techni-cian when service is required.
- Do not use the product if the cable or plug is damaged or defective. When damaged or defec-tive, it must be replaced by the manufacturer or an authorised repair agent.
- Before use, always make sure that the voltage is the same as the voltage on the rating plate of the device.
- Make sure that the cable does not hang over the edge of a worktop and cannot be caught accidentally or tripped over
Warning
- The light source contained in this luminaire shall only be replaced by the manufacturer or his service agent or a similar qualified person.
- Caution, risk of electric shock.
- The external flexible cable or cord of this luminaire cannot be replaced; if the cord is damaged, the luminaire has to be destroyed.
Disclaimer
We reserve the right to make technical modifications. without notice. All logos, brands and product names are trademarks or registered trademarks or their respective holders and are hereby recognized as such.
We are not liable for damage arising from incorrect handling, improper use or wear or tear.
Please visit us online For more information about our company and our products,
Documentation
The product has been manufactured and supplied in compliance with all relevant regulations and directives, valid for all member states of the European Union. The product complies with all applicable specifications and regulations in the country of sales. Formal documentation is available upon request. The formal documentation includes, but is not limited to the Declaration of Conformity, the Material Safety Data Sheet and the product test report.
CE declaration
This product complies with the following directives:
LVD: 2014/35/EU
EMC: 2014/30/EU
RoHS: 2011/65/EU
The complete Declaration of Conformity Document (DOC) can be found here



















