SHADA 1000554 LED outdoor LIGHT
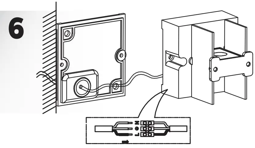
Installation









Safety warning!
Ensure you have fully read and understood the instructions in this document before you install or use the product following the installation/wire diagram (when applicable). Keep this document for future reference and only use the product as described in this document Any other use of the product than described in this manual may damage the product or cause injury to the user (e.g. due to a short circuit, fire or electric shock! Disconnect the product from the power source if problems occur. Do not drop the product and avoid bumping. Do not use the product if a part is damaged or defective. Replace a damaged defective product immediately. When a non-standard consumer (power)installation is required this should be performed by a qualified technician to reduce the risk of an electric shock. Make sure the product is sufficiently ventilated during use. Never cover an electrical (LED) device during usage since it can generate heat causing damage. Besides LED can be extremely bright and may cause serious eye damage so don’t stare at it directly. When a product is meant for indoor and/or outdoor use only, this will be mentioned on the product/parts or in the manual. Keep the product out of reach of children or animals.
Cleaning and Maintenance warning!
Do not use cleaning solvents or abrasives Do not clean the inside of the device. Do not attempt to repair the device when the device does not operate correctly, replace it Clean the outside of the device using a soft, damp cloth (don’t use microfiber cloth\
Support:
If you need further help or have comments or suggestions please visit www.shada.nl/nl/contact
DISPOSAL
The item should be disposed of separately from household waste. The item should be handed in for recycling 11 accordance with local environmental regulations for waste disposal By separating a marked item from household waste, you will help redt1:e the volume of waste sent to incinerators or land-m and minimize any potential negative impacts on human health and the environment.
This product carries the CE mark, which confirms that this product meets EU safety, health and environmental protection requirements.
Customer Service
Molenmakershoek 28, nL-7328 JK APELDOORN
Rn -The Netherlands
www.shada.nl



















