63663 Magnetic Base with Fine Adjustment
Owner’s Manual
63663 Magnetic Base with Fine Adjustment
Save This Manual Keep this manual for the safety warnings and precautions, assembly, operating, inspection, maintenance and cleaning procedures. Write the product’s serial number in the back of the manual near the assembly diagram (or month and year of purchase if product has no number). Keep this manual and the receipt in a safe and dry place for future reference.

Visit our website at: http://www.harborfreight.com
Email our technical support at: [email protected]
When unpacking, make sure that the product is intact and undamaged. If any parts are missing or broken, please call 1-888-866-5797 as soon as possible.
Copyright© 2023 by Harbor Freight Tools®. All rights reserved.
No portion of this manual or any artwork contained herein may be reproduced in any shape or form without the express written consent of Harbor Freight Tools. Diagrams within this manual may not be drawn proportionally. Due to continuing improvements, actual product may differ slightly from the product described herein.Tools required for assembly and service may not be included.
WARNING
Read this material before using this product. Failure to do so can result in serious injury SAVE THIS MANUAL.
Specifications
| Magnetic Pull | 45 Lbs. |
IMPORTANT SAFETY INFORMATION
Assembly Precautions
- Assemble only according to these instructions. Improper assembly can create hazards.
- Wear ANSI-approved safety goggles and heavy-duty work gloves during assembly.
- Keep assembly area clean and well-lit.
- Keep bystanders out of the area during assembly.
- Do not assemble when tired or when under the influence of alcohol, drugs or medication.
- Weight capacity and other product capabilities apply to properly and completely assembled product only.
Use Precautions
- This product is not a toy. Do not allow children to play with or near this item.
- Use as intended only.
- Store idle equipment. When not in use, products must be stored in a dry location. Keep out of reach of children.
- Do not force product. It will do the job better and more safely at the rate for which it was intended. Do not use inappropriate attachments in an attempt to exceed the tool capacity.
- Use the right product for the job. Do not attempt to force a small product or attachment to do the work of a larger industrial product. There are certain applications for which this product was designed.
- Dress properly. Do not wear loose clothing or jewelry as they can be caught in moving parts. Wear restrictive hair covering to contain long hair.
- Check for damaged parts. Before using, any part that appears damaged should be carefully checked to determine that it will operate properly and perform its intended function. Check for alignment and binding of moving parts; any broken parts or mounting fixtures; and any other condition that may affect proper operation. Any part that is damaged should be properly repaired or replaced by a qualified technician.
- Replacement parts and accessories. When servicing, use only identical replacement parts. Use of any other parts will void the warranty. Approved accessories are available from Harbor Freight Tools.
- Do not use this product if under the influence of alcohol or drugs. Read warning labels on prescriptions to determine if your judgment or reflexes are impaired while taking drugs. If there is any doubt, do not operate the product.
- Use eye protection. Always wear ANSI-approved impact safety goggles.
- People with pacemakers should consult their physician(s) before use. Electromagnetic fields in close proximity to heart pacemaker could cause pacemaker interference or pacemaker failure.
- The warnings, cautions, and instructions discussed in this instruction manual cannot cover all possible conditions and situations that may occur. It must be understood by the operator that common sense and caution are factors which cannot be built into this product, but must be supplied by the operator.
- Maintain product labels and nameplates. These carry important safety information. If unreadable or missing, contact Harbor Freight Tools for a replacement.
Assembly Instructions
Read the ENTIRE IMPORTANT SAFETY INFORMATION section at the beginning of this document including all text under subheadings therein before set up or use of this product.
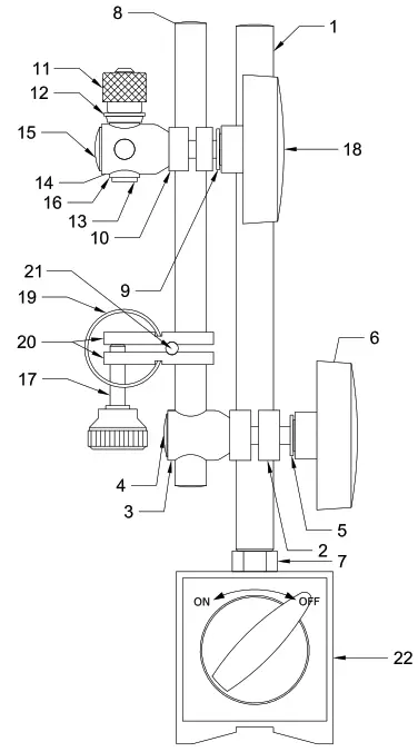
- Thread Upright Post (1) with Lock Nut (7) onto Base (22) and tighten securely.
- Slide Upright Post Swivel (2) onto Upright Post. Insert Gauge Rod (8) through Gauge Rod Hole (3). Tighten Adjustment Handle (6) to secure.
- Slide Indicator Fixture (10) onto Gauge Rod. Tighten Adjustment Handle (18) to secure.
- To attach lug back dial indicator (sold separately):
• Remove Thumb Screw (11).
• Slide threads through indicator mounting hole.
• Replace Thumb Screw and tighten securely. - To attach dial indicator (sold separately) by the stem:
• Remove Thumb Screw (11) and Reducing Sleeve (16).
• Loosen Adjustment Handle (18), slide stem through Adjustment Knob Hole (14) and tighten Adjustment Handle. - To attach dial test indicator (sold separately):
• Remove Thumb Screw (11) and Reducing Sleeve (16).
• Loosen Adjustment Handle (18), slide shank through hole in Indicator Fixture (10) and tighten Adjustment Handle.
Operating Instructions
- Set Base in desired position. Turn Dial counterclockwise to “ON” to engage Magnet.
- Loosen Adjustment Handle (6) on Upright Post Swivel (2) and move Upright Post Swivel and Gauge Rod to desired location, then Tighten Adjustment Handle.
- Loosen Adjustment Handle (18), position Indicator Fixture (10) as desired, then tighten Adjustment Handle.
- Turn Fine Adjustment Knob (17) to fine-tune position of Gauge Rod.
Parts List and Diagram
| Part | Description | Qty | Part | Description | Qty |
| 1 | Upright Post | 1 | 12 | Washer | 1 |
| 2 | Upright Post Swivel | 1 | 13 | Screw Arbor | 1 |
| 3 | Gauge Rod Hole | 1 | 14 | Adjustment Knob Hole | 1 |
| 4 | Screw | 1 | 15 | Indicator Clamp | 1 |
| 5 | Washer | 1 | 16 | Reducing Sleeve | 1 |
| 6 | Adjustment Handle | 1 | 17 | Fine Adjustment Knob | 1 |
| 7 | Lock Nut | 1 | 18 | Adjustment Handle | 1 |
| 8 | Gauge Rod | 1 | 19 | Spring Ring | 1 |
| 9 | Washer | 1 | 20 | Adjustment Sheet | 2 |
| 10 | Indicator Fixture | 1 | 21 | Column | 1 |
| 11 | Thumb Screw | 1 | 22 | Base | 1 |

PLEASE READ THE FOLLOWING CAREFULLY
THE MANUFACTURER AND/OR DISTRIBUTOR HAS PROVIDED THE PARTS LIST AND ASSEMBLY DIAGRAM IN THIS DOCUMENT AS A REFERENCE TOOL ONLY. NEITHER THE MANUFACTURER OR DISTRIBUTOR MAKES ANY REPRESENTATION OR WARRANTY OF ANY KIND TO THE BUYER THAT HE OR SHE IS QUALIFIED TO MAKE ANY REPAIRS TO THE PRODUCT, OR THAT HE OR SHE IS QUALIFIED TO REPLACE ANY PARTS OF THE PRODUCT. IN FACT, THE MANUFACTURER AND/OR DISTRIBUTOR EXPRESSLY STATES THAT ALL REPAIRS AND PARTS REPLACEMENTS SHOULD BE UNDERTAKEN BY CERTIFIED AND LICENSED TECHNICIANS, AND NOT BY THE BUYER. THE BUYER ASSUMES ALL RISK AND LIABILITY ARISING OUT OF HIS OR HER REPAIRS TO THE ORIGINAL PRODUCT OR REPLACEMENT PARTS THERETO, OR ARISING OUT OF HIS OR HER INSTALLATION OF REPLACEMENT PARTS THERETO.
Record Serial Number Here:
Note: If product has no serial number, record month and year of purchase instead.
Note: Some parts are listed and shown for illustration purposes only, and are not available individually as replacement parts. Refer to UPC 792363636636.
Limited 90 Day Warranty
Harbor Freight Tools Co. makes every effort to assure that its products meet high quality and durability standards, and warrants to the original purchaser that this product is free from defects in materials and workmanship for the period of 90 days from the date of purchase. This warranty does not apply to damage due directly or indirectly, to misuse, abuse, negligence or accidents, repairs or alterations outside our facilities, criminal activity, improper installation, normal wear and tear, or to lack of maintenance. We shall in no event be liable for death, injuries to persons or property, or for incidental, contingent, special or consequential damages arising from the use of our product. Some states do not allow the exclusion or limitation of incidental or consequential damages, so the above limitation of exclusion may not apply to you. THIS WARRANTY IS EXPRESSLY IN LIEU OF ALL OTHER WARRANTIES, EXPRESS OR IMPLIED, INCLUDING THE WARRANTIES OF MERCHANTABILITY AND FITNESS.
To take advantage of this warranty, the product or part must be returned to us with transportation charges prepaid. Proof of purchase date and an explanation of the complaint must accompany the merchandise. If our inspection verifies the defect, we will either repair or replace the product at our election or we may elect to refund the purchase price if we cannot readily and quickly provide you with a replacement. We will return repaired products at our expense, but if we determine there is no defect, or that the defect resulted from causes not within the scope of our warranty, then you must bear the cost of returning the product.
This warranty gives you specific legal rights and you may also have other rights which vary from state to state.
For technical questions, please call 1-888-866-5797.
26677 Agoura Road
Calabasas, CA 91302
1-888-866-5797
Item 63663

















