KOHLER 31539 Veil Wall Hung Dual Flush Toilet

Product Information
The product is a plumbing fixture, specifically a toilet bowl, manufactured by Kohler Co. The model number of the product is 1336298-2. It is important to follow all local plumbing and building codes during installation. The product requires the use of certain materials such as 100% Silicone Sealant and Silicone Grease.
Product Usage Instructions
- Record your model number: 1336298-2
- Apply 100% Silicone Sealant to the appropriate areas.
- Apply Silicone Grease to the specified brushes.
- Install the inlet pipe gasket onto the inlet pipe.
- Mark the inlet and outlet pipes even with the back edge of the bowl.
- Remove the plaster guards before installing the inlet and outlet pipes.
- Mark the inlet and outlet pipes even with the front edge of the finished wall.
- Measure the distances X and Y between the marks and cut these lengths off the ends of the corresponding pipe.
- File the pipes to remove any burrs.
- Apply plumbers grease.
- Adjust the threaded rod to extend 1-3/8 (35 mm) from the finished wall.
- Verify that the gap between the threaded sleeve and the finished wall is 3/8 (10 mm).
- Insert the hex shaft into the receiver.
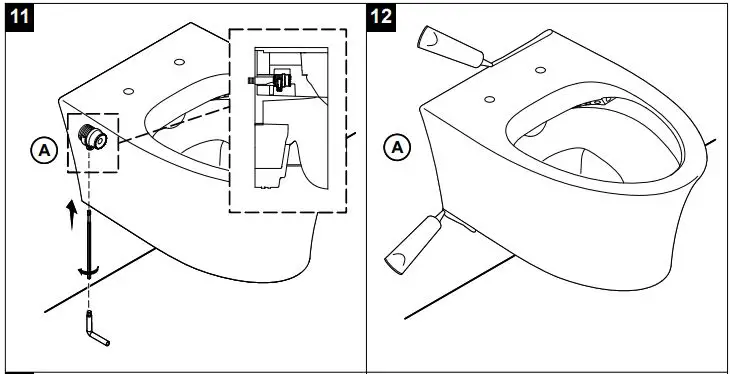
- Position the fixation kit assembly into the underside of the bowl and align with the holes in the back of the bowl.
- Attach the provided tool to the hex shaft and turn counterclockwise to secure the bowl.
- Apply 100% Silicone Sealant around the bowl.
- Wipe away any excess sealant.
If you need further assistance or have any questions, please contact our Customer Care Center at 001-800-456-4537. You can also find warranty information at kohler.com/warranty or contact our Customer Care Center for a hard copy of warranty terms.
Tools

Installation Instructions
Follow all local plumbing and building codes





- 1A. 100% Silicone Sealant
- 1B. Silicone Grease
- 2A. Install the inlet pipe gasket onto the inlet pipe.
- 2B. Apply silicone grease where the brushes are shown.
- 3A. Mark the inlet and outlet pipes even with the back edge of the bowl.
- 4A. Remove the plaster guards before installing the inlet and outlet pipes.
- 5A. Mark the inlet and outlet pipes even with the front edge of the finished wall.
- 6A. Measure the distances “X” and “Y” between the marks and cut these lengths off the ends of the corresponding pipe.
- 6B. File the pipes to remove any burrs.
- 7A. Apply plumbers grease.
- 8A. Adjust the threaded rod to extend 1-3/8” (35 mm) from the finished wall.
- 8B. Verify that the gap between the threaded sleeve and the finished wall is 3/8″ (10 mm).
- 9A. Insert the hex shaft into the receiver. Position the fixation kit assembly into the underside of the bowl and align with the holes in the back of the bowl.
- 11A. Attach the provided tool to the hex shaft and turn counterclockwise to secure the bowl.
- 12A. Apply 100% silicone sealant.
- 13A. Wipe away any excess sealant.
Need help
Need help? Contact our Customer Care Center
- USA/Canada: 1-800-4KOHLER (1-800-456-4537) Mexico: 001-800-456-4537
- Service parts: kohler.com/serviceparts
- Care and cleaning: kohler.com/clean
- Patents: kohlercompany.com/patents
This product is covered under the KOHLER® Toilets and Seats Limited Warranty, found at kohler.com/warranty. For a hardcopy of warranty terms, contact the Customer Care Center.
©2022 Kohler Co.



















