Hamron 334013 Two Side Plate Trolley Instruction Manual
SAFETY INSTRUCTIONS
Read the User Instructions carefully before use
Please retain for future reference.
- Observe all instructions for use, operation and maintenance.
- Do not overload the beam trolley.
- The beam trolley can only be moved along the steel beam using the chain block.
- The beam trolley must not be altered or modified.
- If warnings are not adhered to, this can result in personal injury and/or damage to property.
- Check the beam trolley, geared travel unit, wheels and beam before use. Check in particular that bolts and nuts are tightened.
- Lubricate wheels, axles and the beam’s travel surface with grease. The wheel axle must first be cleaned with paraffin and then lubricated with grease.
- Check that the work temperature range is between -10°C and +50°C.
- Do not use the beam trolley in corrosive environments or in locations where there is a risk of explosions.
- Do not use wheels with cylindrical threads combined with tapered flanges.
- If the beam trolley is not fitted with geared travel, it must be pushed and not pulled.
- Users must be trained in how to use the beam trolley.
- No one, including the user, is permitted to stand under the beam trolley when a load is suspended in the chain block. Risk of personal injury and damage to property.
TECHNICAL DATA
Maximum load 1,000kg
Beam width 68—130 mm
Weight 9.5kg
Dimensions:

A 242 mm
B 2l4mm
C 227 mm
D 118 mm
H 130 mm
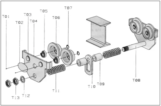
DESCRIPTION

| Part no. | Name | Number |
| T01 | Rivets | |
| T02 | Type plate | 1 |
| T0O | Ball bearing | |
| T04 | Side plate A | |
| T05 | Roll bearing | |
| T06 | Smooth wheel | |
| T07 | Circlip | |
| T08 | Locking pin | 1 |
| TO9 | Stop ring | 2 |
| T10 | Suspension plate | 1 |
| T11 | Spacers | 16 |
| T12 | Outer Washer | 2 |
| T13 | Lock nuts | 4 |
INSTALLATION
The delivery consists of two side plates with wheels plus a geared travel unit and/or smooth glide wheels, a suspension plate and installation hardware such as washers and a suspension clevis.
- Measure the Range width of the beam before fittinq the beam trolley.
- Based on the measured Range width, carry out an initial installation of the trolley.
Distribute enough spacer washers on each side of the stop ring to achieve the correct wheel width. The distance between the wheels and the Range must not exceed 1 mm.
Insert a washer on each side if required. The side plates and axle provide a certain amount of lateral support. Check that the screws for the geared travel unit and wheels are properly tightened and the area is correctly lubricated with grease. - Check that the beam is horizontal. The maximum gradient is 9.5’. Adjust the beam if it is angled more than this.
- Mount the trolley onto the edge of the beam.
- Lubricate the geared travel unit and beam’s travel surface with grease to reduce friction and wean
- Test the trolley with light and standard loads to confirm that everything works correctly.
OPERATION
Intended use
The beam trolley is moved manually and the wheels run in the track of the beam edge. The manually operated beam trolley can be used with different types of smaller cranes or mounted on a fixed I-beam and combined with a chain hoist block or winch. The beam trolley can be used for heavier loads in many different applications.

Jula reserves the right to make changes.
For latest version of operating instructions, see www.jula.com
EU DECLARATION OF CONFIRMITY
Item number
334013
Jula AB, Box 363, SE-532 24 SKAARA, SWEDEN
This declaration of conformity is issued under the sole responsibility of the manufacture.
TROLLEY
GCT1T 1 TON
Conforms to the following directives, regulations and standards
| Directives/Regulation | Harmonised standard |
| MD 2006/42/EC | EN 13157-2004+A1 2009,EN ISO 12100-2010 |
This product was CE marked in year:
Skara 2014-05-12
Tobies Hammer
BUSINESS AREA MANAGER (Signatory for Jula and authored to complie the technical documentation.)




















