DISHWASHER QUICK START GUIDE: EGSPV 596 200
IO-DWS-2860 (EN) 02.2021./1
Dear Customer,
This Quick Start Guide is enclosed with detailed dishwasher Operating Instructions. Before using the appliance carefully read the Operating Instructions, especially guidelines for safe use.
Before plugging your dishwasher into the mains power, remove the safety packaging. Do not start the dishwasher before it is properly set up.
1 Turn on the appliance
→ Open the dishwasher door, press the on/off button. Power indicator will be on
2 Dispense detergent
→ Press the latch to open the detergent dispenser.
→ Add detergent to the dispenser.
3 Check the special salt level
→ Add special salt to the dispenser when the corresponding indicator on the control panel comes on.
4 Load the dishes
→ Remove food leftovers from the dishes
→ Place the dishes in the baskets according to loading guidelines.
→ It is recommended to load the lower basket first, then the upper basket.
5 Select the wash programme
→ Open the door, press the Power button Choose a program, the response light will turn on.
→ Then close the door, the dishwasher will start its cycle.
6 Start your dishwasher
→ Open the dishwasher door.
→ The dishwasher will start a wash programme.
7 Turn off the appliance
→ Turn the appliance off using the On/Off button.
8 Remove dishes from the appliance
→ When the dishwasher is off, open the door and wait about 15 minutes before removing the dishes. This will also facilitate the drying process. Hot dishes are more susceptible to cracking.
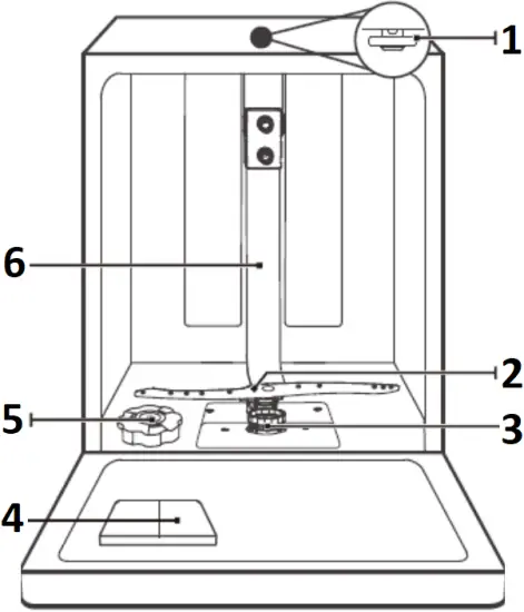
9 Features and components
→ Spray arms
→ Cutlery basket
→ Upper basket
→ Inner tube
→ Lower basket
→ Salt container
→ Detergent dispenser
→ Mugs and cups shelves
→ Main filter
→ Water supply hose connection
→ Water drain hose
→ Regulator




- Top spray arm
- Lower spray arm
- Filter assembly
- Dispenser
- Salt container
- Inner pipe
- Cutlery basket
- Cutlery rack
- Upper spray arm
Upper basket - Cup rack
- Lower basket
NOTE:
Figures are for illustrative purposes only Individual models may vary.
TABLE OF WASH PROGRAMMES: EGSPV 596 200
ITEM | Programme name | The default temperature [°C] | Type of soil | Soil level | Amount of detergent | Type of cycle | Duration [min.] * | Power consumption [kWh] * | Water consumption [litres] * | |||||
1 | Hygiene | 70° | With the Sanitize option selected, the water temperature is increased to 70 °C for high temperature sanitization. | Intensive soil | 4g/18g | Pre-wash 50°C | Wash 70°C | Rinse | Rinse | Rinse 70°C | Dry | 200 | 1.772 | 16.5 |
2 | 1 hour | 60° | For normally soiled loads that need quick wash. | Light soil | 22g | Wash 55°C | Rinse | Rinse 50°C | Dry | 60 | 0.853 | 11.5 | ||
3 | **ECO | 50° | Lightly soiled glass-ware and porcelain | Light soil | 22g | Wash 50°C | Rinse | Rinse 50°C | Dry | 198 | 0.849 | 10.0 | ||
4 | Self-Cleaning | 70° | This program provides an effective cleaning of the dishwasher itself. | — | 4g/18g | Pre-wash 45°C | Wash 70°C | Rinse | Rinse 70°C | Dry | 145
| 1.241 | 15.1 | |
5 | Auto | 55-65° | A shorter wash for lightly soiled loads that do not need drying. | Light soil | 4g/18g | Pre-wash 45°C | Wash 55-60°C | Rinse | Rinse
| Rinse 50- 55°C | Dry | 85-150 | 1.050-1.551 | 10.6-15.9 |
6 | Soak | — | To rinse dishes that you plan to wash later that day. | — | — | Pre-wash | 15 | 0.021 | 4.0 | |||||
7 | Night Wash | 60° | Lower noise and normally energy consumption, used for washing in evening. | Light soil | 4g/18g | Pre-wash 50°C | Wash 60°C | Rinse | Rinse | Rinse 50°C | Dry | 270
| 1.362 | 16.8 |
** Standard programme This is a reference program for research institutes. Tests according to EN 60436.
This programme is suitable for washing normally soiled tableware. This is the most effective programme taking into account the total energy and water consumption for this kind of tableware.
* Programme duration, energy and water consumption value given in the table have been determined under laboratory conditions. Actual values can vary.















