innovation. delight
RazorBeat
Surround Your Soul

Model No.: iG-1041
INTRODUCTION
Acknowledgment
Thank you for choosing our speaker. It is based on the mainstream low-power portable Bluetooth version 5.0 program that allows you to enjoy music anytime, anywhere.
This manual describes the various features of the product, tips and cautions, please read this manual carefully before using the product.
Precautions
Care and maintenance
Keep the device dry. Do not let the device or battery come in contact with water or water vapor.
Do not make the equipment, battery to strong impact or shock, or cause equipment, battery failure.
Do not place the speaker in too high or too low-temperature area. It may cause device failure
Do not strike, throw or drop the product .
Do not disassemble the device, otherwise the device will not be covered by the warranty.
Safety Tips
Before using the product, please read the information in this section, and let your children know that information. For more detailed information, please refer to the safety instructions and precautions.
- Do not use products while driving, so as not to hinder safe driving.
- In medical sites, please comply with the relevant rules or regulations. Near medical equipment, please turn off product.
- Turn off the device before boarding the plane to avoid interference with the signals.
- Turn off the products in the vicinity of high-precision electronic devices, or it may cause electronic equipment failure.
- Do not disassemble products and accessories, only authorized center
- Please keep away from magnetic equipment, the radiation of the product will erase the information stored on the magnetic device.
- Do not use the product in places with high temperature or flammable gases. (such as a nearby gas station). Please keep the accessories out of children’s reach. do not allow children to use the product without adult supervision.
- Please comply with relevant laws and regulations when using this product, and respect others’ privacy and legal rights.
- Strictly follow the instructions in this manual when using the USB charging cable, as this may damage your product.
- Do not use the product in the bathroom or other wet places to avoid any type of liquid damage.
OVERVIEW
Equipment Packing List
The box includes the following item6:
- Bluetooth Soundbar” 1
- USB Charging Cable” 1
- User Manual” 1
- Aux cable” 1
Charging
Before using the product for the firs time, charge the battery. Use 5V USB interface charging cable to charge the product
Be sure to use 5V output adapter for charging. Do not use adapter above 5V output as it will damage the product.
Please select the charging adapter strictly in accordance with the product specifications.
Specifications
- Bluetooth name: iGear-RazorBeat
- RMS: 10W (5W x 2)
- Speaker Driver: 2.25″ x 2
- Bluetooth frequency: 2402 MHz to 2480 MHz
- Battery Capacity: 15O0mAh
- Battery Charging Power: DC5V/1A
- Working time Up to: 3 hours
- Transmission distance: 10 Meter (Transmission distance varies due to differences in environmental factors and Bluetooth cell phone devices)
QUICK START
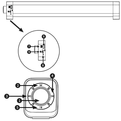
Audio Key Function/Interface Function


| 1. Power On/Off, VoI +/- 2. Mode 3. Pre/ Rewind 4. Next/Speed 5. PIay/Pause | 6. USBDisk Slot 7. ChargeSlot 8. TF Card 9. AUX 10. Mic |
Charging
- Please use the 5V/1A charger to charge the device. The battery life will vary depending on the volume and the environment.
- If the speaker is not used for a long time, be sure to charge at least twice a month as it may protect the battery and extend the battery life.
* Make sure the output voltage of the charger used is no more that 5V, otherwise it will damage the product
Power On and Power Off
Power On: Turn the rotary knob to switch the device on Power Off: Turn the rotary knob to switch off the device
Volume + /- Adjustment
Volume Adjustment: Rotate the rotary knob left or right to adjust the volume.
Bluetooth speaker & devices
Bluetooth connection
- To switch to Bluetooth mode, press the “M” key.
- Go to Bluetooth settings on your device and search for the name “iGear Razorbeat” then click and connect it.
Bluetooth phone call (Hands-Free)
- When you get a call in Bluetooth mode, press the Play/Pause key to accept the call.
- During a call, The volume knob can be used to adjust the volume output
- Short press the Play / Pause
button to end the call. - Double click the Play/Pause
dialed number. key to redial the last dialed number.
Muslc player
- Stand-alone Play / Pause
, You can Play/Pause music. - Press
key to switch to the next song, press
key to switch to the previous song.
External TF Card Audio Player
Insert the SD/TF card with music on it to play your songs (support FAT32 file system format maximum 32GB).
FM Mode
- FM Radio: Short press “M” key to enter the FM radio mode.
- Auto Search: Long press the Play/Pause
button, it will search for the available stations and save them automatically. once the search it will jump to the first saved station. - Once the search is completed, press the
or
button to switch between the saved stations. supported band network is 87.5 – 108MHz.
NOTE: To use the FM radio, please go to open space such as outdoors, window or balcony, etc. to get clear signal and avoid interference from the surrounding environment.
External U disk playback multimedia features
Under Bluetooth mode, insert the USB drive directly, it will start playing the music automatically. If the music does not start playing, please check if the USB drive has MP3 files as other formats are not supported.
AUX/Line-In
Using AUX cable: Connect one end of the cable to the AUX
port of the speaker and the other end to the port in
your Mobile/Tablet/Computer/TV.
TWS Connection
Using TWS mode: Two speakers can be paired at the same time. turn on both the speakers, both will prompt Welcome to iGear Music’, press “M” button on any speaker for a few seonds, then they will get paired to each other. Once both are paired, search for the Bluetooth name ‘iGear RazorBeat’ and connect.
WARRANTY METHODS
RMA
The definition of RMA products falls into two categories as described below:
IRMA (In Warranty of Return Merchandise Authorization) Defect occurs after 30 days of purchase and before the warranty has expired.
Please following standard procedure of claiming the RMA Service to assure you our best guarantee and service.
ORMA (Out of Warranty Return Merchandise Authorization) Defect occurs after the warranty has expired.
We may refuse to provide inspection, repair, or replacement service for products that are out of warranty, and will charge fees if these services are provided for out-of-warranty products.
![]()
















