2.4G Wireless Keyboard & Mouse Combo
User Manual
K303M
Thank you very much for purchasing this Keyboard & Mouse Combo. Please read this user manual carefully to ensure it function correctly.
Package Contents
1 x Wireless Keyboard
1 x Wireless Mouse
1 x 2.4G USB Receiver
1 x User Manual
Specification (Keyboard)
| Battery requirement | AAA batteries*2 |
| Dimensions | 453*157*27.3mm |
| Materials | ABS |
| Lifespan | Over 10,000,000 times strokes |
| Wireless range | 8-10 meters |
| Working temperature | 0-40 C |
| Working voltage | 3.0V |
| Working current | 10mA |
Specification (Mouse)
| Battery requirement | AA batteries *1 |
| Dimensions | 118*60*40mm |
| Materials | ABS |
| Lifespan | Over 20,000,000 times clicks |
| DPI | 800/1200/1600 |
| Wireless range | 8-10 meters |
| Working temperature | 5-50 C |
| Working voltage | 1.9V-3.3V |
| Working current | 5mA |
Product Layout




- Num Lock Indicator
- Caps Lock Indicator
- Power Indicator (keyboard)
- Battery Compartment (keyboard)
- USB Receiver Slot
- Battery Compartment (mouse)
- USB Receiver Slot (alternative)
- Power Switch (mouse)
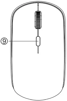
- DPI Button
1. Num Lock Indicator: Stays red when num pad is unlocked.
2. Caps Lock Indicator: Stays red when caps lock is activated.
3. Power Indicator (keyboard): Turns red when the power goes out.
4. Battery Compartment (keyboard): Align 2 AAA batteries properly into the compartment according to their positive and negative terminals.
5. USB Receiver Slot (keyboard): A built-in USB nano receiver can be found here when you use your keyboard for the first time.
6. Battery Compartment (mouse): Open the lid of the battery compartment. Install an AA battery properly into the compartment according to their positive and negative terminals.
7. USB Receiver Slot (alternative): This alternative USB receiver slot is for you to take your receiver with your mouse. Note that it is empty when your product first arrives.
8. Power Switch (mouse): To open the mouse, please pull the power switch to the ‘ON’ side.
9. DPI Button: This middle click is DPI button. Click the button once to adjust the DPI level (800/1200/1600). The default setting is 1200 DPI.
Keys & Functions
Key Functions
FN+F1 Music
FN+F2 Volume-
FN+F3 Volume+
FN+F4 Mute
FN+F5 Previous track
FN+F6 Next track
FN+F7 Play/Pause
FN+F8 Stop
FN+F9 Home
FN+F10 Mail
FN+F11 Files
FN+F12 Favorites
*Note: Hotkeys are only available for Windows 7 and above. Other operating systems may not be compatible with these hotkeys settings.
System Requirements
Windows 7 and above
Mac OS / iOS / Android (For typing only)
Operating Steps
- Take your keyboard & mouse combo out of the case.
- Open the lid of the battery compartment. Align batteries properly into the compartment according to their positive and negative terminals. Install batteries into the keyboard & mouse.
- Take the USB nano receiver out from the receiver slot on your keyboard.
- Plug the USB receiver into the USB port on your device. Press any key to start using the keyboard & mouse.
Features
- The keyboard & mouse are both enabled with a plug-and-play USB nano receiver. It is stored in the receiver slot behind the keyboard. Keeping this USB receiver inserted into your device will not cause any damage to it. You can also store the USB receiver inside the mouse.
- The keyboard & mouse will enter into sleep mode after not being used for 15 minutes to save energy. Any press or click will reactivate them. It is suggested that you take batteries out of your keyboard & mouse if they are not in use for a long time.
Safety Instructions
Warning: Fire, electric shock, damage to keyboard device could occur if the following instructions are not obeyed
Danger X Warning
Note
X 1. Away from edge tool AS
2. Away from microwave radiation source
X 3. Do not place heavy objects on this product
X 4. No shocking and bending
5. Away from oil, chemical, or organic solvents
Troubleshooting Steps
When your keyboard & mouse combo cannot function correctly, please check the following steps:
- Check if batteries are out of power.
- Check if batteries align correctly according to their negative and positive terminals in the battery compartment.
- Check if the USB receiver is plugged into the USB port and the USB port works properly.
- Keep the distance between the keyboard and mouse within 50 centimeters, then reinstall the batteries and click any key to activate the keyboard. Please complete these steps within 15 seconds.
Federal Communications Commission (FCC) Statement
This device complies with pad 15 of the FCC Rules. Operation is subject to the following two conditions: (1) This device may not cause harmful interference, and (2) this device must accept any interference received, including interference that may cause undesired operation.
Note: This equipment has been tested and found to comply with the limits for a Class B digital device, pursuant to part 15 of the FCC Rules. These limits are designed to provide reasonable protection against harmful interference in a residential installation. This equipment generates, uses and can radiate radio frequency energy and, if not installed and used in accordance with the instructions, may cause harmful interference to radio communications. However, there is no guarantee that interference will not occur in a particular installation. If this equipment does cause harmful interference to radio or television reception, which can be determined by turning the equipment off and on, the user is encouraged to try to correct the interference by one or more of the following measures:
- Reorient or relocate the receiving antenna.
- Increase the separation between the equipment and receiver.
- Connect the equipment into an outlet on a circuit different from that to which the receiver is connected.
- Consult the dealer or an experienced radio/TV technician for help.
Warning: Changes or modifications made to this device not expressly approved by the party responsible for compliance may void the FCC authorization to operate this device.
Note: The manufacturer is not responsible for any radio or TV interference caused by unauthorized modifications to this equipment. Such modifications could void the user’s authority to operate the equipment.
This device complies with part 15 of the FCC Rules. Operation is subject to the following two conditions: (1) this device may not cause harmful interference, and (2) this device must accept any interference received, including interference that may cause undesired operation. Any changes or modifications not expressly approved by the party responsible for compliance could void the user’s authority to operate the equipment.
NOTE: This equipment has been tested and found to comply with the limits for a Class B digital device, pursuant to Part 15 of the FCC Rules. These limits are designed to provide reasonable protection against harmful interference in a residential installation. This equipment generates, uses and can radiate radio frequency energy and, if not installed and used in accordance with the instructions, may cause harmful interference to radio communications.
However, there is no guarantee that interference will not occur in a particular installation. If this equipment does cause harmful interference to radio or television reception, which can be determined by turning the equipment off and on, the user is encouraged to try to correct the interference by one or more of the following measures:
— Reorient or relocate the receiving antenna.
— Increase the separation between the equipment and receiver.
— Connect the equipment into an outlet on a circuit different from that to which the receiver is connected.
— Consult the dealer or an experienced radio/TV technician for help.
The device has been evaluated to meet general RF exposure requirement. The device can be u sed in portable exposure condition without restriction



















