LECTROSONICS Duet DCHT Wireless Digital Camera Hop Transmitter

Quick Start Steps
- Install good batteries and turn power on (see pages 5 and 7).
- Set compatibility mode to match the receiver (see page 11).
- Connect signal source, select input type and adjust input gain for optimum modulation level (see page 10).
- Set or sync frequency to match receiver (see page 11, 12). Also see receiver manual for scanning procedure.
- Set encryption key type and sync with receiver (see page 13).
- Set programmable switch to desired function (see page 13).
- Verify RF and audio signals are present at the receiver (see receiver manual).
WARNING: Moisture, including talent’s sweat, will damage the transmitter. Wrap the DCHT in a plastic bag or other protection to avoid damage.
Introduction
The DCHT, DCHT/E01 transmitter is designed to work with a companion receiver (such as the Lectrosonics DCHR or M2R, part of digital camera hop systems) as an audio relay between an audio production bag or cart and a camera or other audio device. The 6-pin input jack accepts two mic or line level analog signals or AES digital signals from external sources with a variety of adapter cables. Analog inputs can be linked for the same gain when used with a stereo source, or operate independently with individual settings.
This fourth generation digital design features specially developed, high efficiency digital circuitry for extended operating time on two AA batteries. The transmitter can tune in 25 kHz steps across the UHF television band from 470.100 to 607.950 MHz (E01 frequency range is 470.100 to 614.375 MHz), with a selectable output power of 10, 25 or 50 mW. Studio quality audio performance is assured by high quality components in the preamp, wide range input gain adjustment and DSP-controlled limiting for analog sources, and settings are included for any lavaliere microphone, dynamic microphones, line level inputs, and AES digital inputs. Input gain is adjustable over a 51 dB range in 1 dB steps to allow a precise match to the input signal level, to maximize dynamic range and signal to noise ratio. A separate switch is provided on the top panel that can be configured as mute, power or bypassed. The housing is constructed of solid machined aluminum for lasting ruggedness. The exterior is finished with an ultra hard, dark electroless nickel finish called ebENi. Firmware updates are made through a side panel microB USB port.
General Technical Description
DSP-controlled Input Limiter
For analog sources, the transmitter employs a DSPcontrolled analog audio limiter prior to the analog-todigital converter. The limiter has a range greater than 30 dB for excellent overload protection. A dual release envelope makes the limiter acoustically transparent while maintaining low distortion. It can be thought of as two limiters in series, connected as a fast attack and release limiter followed by a slow attack and release limiter. The limiter recovers quickly from brief transients, so that its action is hidden from the listener, but recovers slowly from sustained high levels to keep audio distortion low and preserve short term dynamic changes in the audio level.
Encryption
When transmitting audio, there are situations where privacy is essential, such as during professional sporting events, in court rooms or private meetings. For instances where your audio transmission needs to be kept secure, without sacrificing audio quality, Lectrosonics implements AES256 encryption in our digital wireless microphone systems. High entropy encryption keys are first created by one of the units in the system. The key is then synced with another encryption-capable unit, via the IR port. The audio will be encrypted and can only be decoded if both the transmitter and receiver have the matching encryption key. If you are trying to transmit an audio signal and keys do not match, all that will be heard is silence.
Canada ISED Notice
This device operates on a no-protection, no-interference basis. Should the user seek to obtain protection from other radio services operating in the same TV bands, a radio licence is required. For further details, consult Innovation, Science and Economic Development Canada’s document Client Procedures Circular CPC-2-1-28, Voluntary Licensing of Licence-Exempt_Low-Power Radio Apparatus in the TV bands.
Features and Functions


Optional Battery Eliminator
The transmitter can be powered by external DC using the optional LTBATELIM power supply adapter. The battery door is replaced by the adapter with a simple procedure. The adapter provides a locking coaxial connector and a variety of power cords and connectors are available.
Whip Antennas
Because the transmitter tunes across such a broad frequency range, it is best to use the appropriate antenna for maximum operation. Two antennas are included with the transmitter, and are shipped from the factory pre-cut and fully assembled. Each antenna covers three blocks. Refer to the chart below to determine which antenna matches the operating frequency you will be using.
| 470 | 470.100 – 495.600 | Black | AMM19 |
| 19 | 486.400 – 511.900 | Black | AMM19 |
| 20 | 512.000 – 537.500 | Black | AMM19 |
| 21 | 537.600 – 563.100 | Red | AMM22 |
| 22 | 563.200 – 588.700 | Red | AMM22 |
| 23 | 588.800 – 607.950 | Red | AMM22 |
Battery Status LED Indicator
The Power/Function LED on the top panel will mirror the keypad LED unless the programmable switch is set to Mute, and the switch is turned on. Alkaline, lithium or rechargeable batteries can be used to power the transmitter. The type of batteries in use are selectable in a menu on the LCD. When alkaline or lithium batteries are being used, the LED labeled BATT on the keypad glows green when the batteries are good. The color changes to red at a midpoint of the runtime. When the LED begins to blink red, there will be only a few minutes of operation remaining. The exact point at which the LEDs turn red will vary with battery brand and condition, temperature and power consumption. The LEDs are intended to simply catch your attention, not to be an exact indicator of remaining time.
A weak battery will sometimes cause the Power LED to glow green immediately after the transmitter is turned on, but it will soon discharge to the point where it will turn red or the unit will turn off completely. Rechargeable batteries give little or no warning when they are depleted. If you wish to use these batteries in the transmitter, the most accurate way to determine runtime status is by testing the time provided by a particular battery brand and type, then using the BatTime function to determine remaining runtime.
NOTE: Refer to the Main Menu and Setup section for BatTime details.
Belt Clips
The wire belt clip may be removed by pulling the ends out of the holes in the sides of the case. Be sure to have a firm grip to avoid scratching the surface of the housing. An optional spring-loaded, hinged belt clip (model number BCSLEBN) is also available. This clip is attached by removing the plastic hole cap on the back of the housing and mounting the clip with the supplied screw.
IR (infrared) Port
The IR port is available on the top of the transmitter for quick setup using a receiver with this function available. IR Sync will transfer the settings for frequency from the receiver to the transmitter.
Status LED
Blue LED indicates ready (transmitting) status.
Connecting the Signal Source
Microphones, line level audio and digital sources can be used with the transmitter. Refer to the section entitled Input Connections for details on the correct wiring for line level sources and microphones to take full advantage of the Servo Bias circuitry.
Battery Installation
The transmitter is powered by two AA batteries. Lithium batteries are recommended for longest life. The battery status circuitry compensates for the difference in voltage drop between alkaline and lithium batteries across their usable life, so it’s important to select the correct battery type in the menu.
Because rechargeable batteries run down quite abruptly, using the Power LED to verify battery status will not be reliable. However, it is possible to track battery status using the battery timer function available in the receiver. Push outward on the battery compartment door and lift it to open.
Insert the batteries according to the markings on the back of the housing. If the batteries are inserted incorrectly, the door may close but the unit will not operate. The battery contacts can be cleaned with alcohol and a cotton swab, or a clean pencil eraser. Be sure not to leave any remnants of the cotton swab or eraser crumbs inside the compartment.
DCHT, DCHT/E01 Block Diagram
Powering On and Off
Powering On in Operating Mode
Press and hold the Power Button for a few seconds until the progress bar on the LCD finishes. When you release the button, the unit will be operational with the RF output turned on and the Main Window displayed. You can also use the programming switch if it is configured for this function.
Powering On in Standby Mode
A brief press of the power button , and releasing it before the progress bar finishes, will turn the unit on with the RF output turned off. In this Standby Mode the menus can be browsed to make settings and adjustments without the risk of interfering with other wireless systems nearby.
NOTE: After settings and adjustments are made, press the power button again to turn the unit off or navigate to menu item Xmit, RFOn? to choose to begin transmitting.
Powering Off
To turn the unit off, press and hold hold the Power Button for a few seconds and wait for the progress bar to finish, or use the programmable switch (if it is configured for this function). If the power button is released, or the top panel switch is turned back on again before the progress bar finishes, the unit will remain turned on and the LCD will return to the same screen or menu that was displayed previously.
NOTE: If the programmable switch is in the OFF position, power can still be turned on with the power button.
Entering the Main Menu
The LCD and keypad interface makes it easy to browse the menus and make the selections for the setup you need. When the unit is powered up in either the operating or the standby mode, press MENU/SEL on the keypad to enter a menu structure on the LCD. Use the and arrow buttons to select the menu item. Then press the MENU/SEL button to enter the setup screen.
The prompt in the upper right corner may display one or both arrows, depending upon what adjustment can be made. If the changes are locked, a small padlock symbol will appear.
Main Window Indicators
The Main Window displays the current settings, status, audio level and battery status.
If the programmable switch function is set for MUTE, the Main Window will indicate that the function is enabled.
When the switch is turned on, the mute icon appearance will change and the word MUTE will blink at the bottom of the display. The -10 LED on the top panel will also glow solid red.

LCD Menu Map
Settings will be stored when the BACK button is pressed.

NOTE: When StMode is set to Linked, a single gain value field will be shown.

NOTE: The key menu selections only show when DCHX compatibility mode (encryption) is selected and a key type other than Universal is selected.
NOTE: Make, Wipe and Send Key Menu options are only available in Shared, Standard and Volatile Key Types. They will not be displayed in the menu if Universal Key Type is chosen.
Input Menu
Adjusting the Input Gain for Digital Inputs
For gain adjustment, two multi-color LEDs on the top panel, one for each channel, provide a visual indication of the audio signal level entering the transmitter. The LEDs will glow either red or green to indicate modulation levels. It is best to go through the following procedure with the transmitter in the standby mode so that no audio will enter the sound system or recorder during adjustment.
- With fresh batteries in the transmitter, power the unit on in the standby mode (see previous section Powering On in Standby Mode).
- Navigate to the Gain setup screen.

- If using a microphone, position it the way it will be used in actual operation and have the user speak or sing at the loudest level that occur during use. Or, set the output level of the source audio device to the maximum level that will be used.
- Use the and arrow buttons to adjust the gain until the LED glows green most or all of the time, and flicker red during the loudest peaks.
- Turn the recorder or mixer gain down before setting the transmitter to the normal operating mode and enabling the audio output.
- If the audio output level of the receiver is too high or low, use only the controls on the receiver to make adjustments. Always leave the transmitter gain adjustment set according to these instructions, and do not change it to adjust the audio output level of the receiver.
- If the audio source drives the inputs into limiting, the audio level meter will move all the way to the right and terminate in a small box with an “L” in it, indicating limiting. If this happens on anything other than brief peaks, then the audio gain is set too high.

Selecting the Low Frequency Roll-off
The low frequency audio roll-off is adjustable to optimize performance for ambient noise conditions or personal preference. Low frequency audio content may be desirable or distracting, so the point at which the roll-off takes place can be set at 20, 35, 50, 70, 100, 120 and 150 Hz.
Selecting StMode (stereo mode)
The two channels can be set to Indep (independent) or Linked. Indep allows the gain to be adjusted separately on each channel. Linked employs the gain adjustment to both channels.
Selecting Input Type
AES digital or analog audio input is selected with the InType menu item. With the AES selected, there are no additional settings needed for the input. Analog input configuration is set with the InpCfg1 and InpCfg2 menu items.
Selecting Input Configuration
When the input type is set to Analog, InpCfg1 andInpCfg2 menus are used to configure the audio input for the respective channels. Use the and arrow buttons to select the input type.
| TYPE | DESC, BIAS, IMPEDANCE, POLARITY |
| Line In | Line level signals up to +24 dBu |
| Dynamic | Low-Z dynamic microphones |
| PSA | Point Source Audio lav microphones |
| DPA | DPA lavaliere; 4V, Mid-Z, (+) |
| B6 | Countryman B6; 2V, Low-Z, (+) |
| COS-11 | Sanken COS-11; 4V, Low-Z, (–) |
| MKE 2* | Sennheiser MKE 2; 4V, Low-Z, (+) |
| M152* | Lectrosonics M152; 4V, Low-Z, (+) |
| Oth Lav* | Other lavaliere; 4V, Low-Z, (+) |
| Custom | Manually configurable microphone level |
* Separate listings for these microphones are included for convenience, however, they are all the same configuration. The Custom option opens a setup screen that provides a variety of settings. Press SEL to select the custom setup item, then press the and arrow buttons to adjust the setting.
Available settings:
- Input impedance (Z): LOW, MID, HIGH
- Bias voltage: 0V, 2V, 4V
- Audio polarity: + (pos.), – (neg.)
Xmit Menu
Selecting Frequency
The setup screen for frequency selection offers multiple ways to browse the available frequencies. 
Press the MENU/SEL button to select each field. Use the and arrow buttons to adjust the frequency. Each field will step through the available frequencies in a different increment, or select the Frequency Group.
NOTE: When the frequency is highlighted, hold down the MENU/SEL button to increase or decrease frequency in higher increments.
Selecting Transmitter Output Power
The output power can be set to 10 mW, 25 mW or 50 mW.
Turning Rf On/Off
Turn Rf off to preserve battery power while setting other transmitter functions. Turn it back on to begin transmitting.
NOTE: When transmitter is off, a brief press of the Power Button will turn the transmitter on with Rf off. Use this function to turn Rf on when ready to transmit.
Compatibility Mode
Selecting Receiver Compatibility Mode
The transmitter can be set to operate with different receivers:
- Duet: M2R digital IEM/IFB receiver
- DCHX: DCHR and M2R-X encrypted (FW v3.x)

GetFrq
Sync to receive (get) frequency from the M2R transmitter via the IR port.
SendFrq
Sync to send frequency to the M2R transmitter via the IR port.
GetAll
Sync to receive (get) all available settings from the M2R transmitter via the IR port, including the performer’s name, (or whatever name the user chooses for the DCHT, DCHT/E01), frequency, mixer settings and limiter settings.
NOTE: The GetAll function is designed for trouble shooting and allows for settings to be cloned to transfer to another receiver if there is a problem to be identified. Not all copied settings are available on the DCHT, DCHT/E01.
SendAll
Sync to send all available settings to the M2R transmitter via the IR port, including the performer’s name, (or whatever name the user chooses for the DCHT, DCHT/ E01), frequency, mixer settings and limiter settings.
NOTE: The SendAll function is designed for trouble shooting and allows for settings to be cloned to transfer to another receiver if there is a problem to be identified. Not all settings are available on the DCHT, DCHT/E01.
Encryption Key Management
KeyType
The DCHT has four options for encryption keys:
- Universal: This is the most convenient encryption option available. All encryption-capable Lectrosonics transmitters and receivers contain the Universal Key. The key does not have to be generated by the DCHT. Simply set a Lectrosonics encryptioncapable receiver and the DCHT to Universal, and the encryption is in place. This allows for convenient encryption amongst multiple transmitters and receivers, but not as secure as creating a unique key.
NOTE: When the DCHT is set to Universal Encryption Key, Make Key, Wipe Key and Share Key will not appear in the menu. - Shared: There are an unlimited number of shared keys available. Once generated by the DCHT and transferred to an encryption capable receiver, the encryption key is available to be shared (synced) by the receiver with other encryption capable transmitters/ receivers via the IR port.
- Standard: Standard Keys are unique to the DCHT and there are only 255 key instances available to be transferred to a receiver.
- Volatile: This one-time only key is the highest level of encryption security. The Volatile Key exists only as long as the power in both the DCHT Transmitter and an encryption capable receiver remains on during a single session. If the receiver is powered off, but the DCHT has remained turned on, the Volatile Key must be sent to the receiver again. If the power is turned off on the DCHT, the entire session concludes and a new Volatile Key must be generated by the transmitter and sent to the receiver via the IR port. Similar to Standard Keys, there are only 255 key instances to be transferred to a receiver.
MakeKey
When the transmitter key type is set to Volatile, Standard or Shared, use this menu item to create a unique key that can be synced with an encryption capable receiver.
WipeKey
This menu item is only available if there is a key currently on the DCHT that can be deleted. Select Yes to wipe the current key and enable the DCHT to create a new key.
SendKey
This menu item (under IR&Key) is only available if Key Type is set to Volatile, Standard or Shared, and a new key has been created. Press Menu/Sel to sync the Encryption key to another transmitter or receiver via the IR port.
Flex List
Name
Name the DCHT, DCHT/E01 to allow easy identification on the M2R FlexList. The following are available for custom names:
- NameTx: Name the DCHT, DCHT/E01
- NameCh1: Name Channel 1
- NameCh2: Name Channel 2
Use the UP and DOWN arrows to choose which character you want and then MENU/SEL to move to next space (there are 8 spaces available for each name). Press BACK to save.
NOTE: Duplicate names are not allowed in a FlexList. Be sure to choose unique names for Tx, Ch1 and Ch2.
Sync DCHT, DCHT/E01 information to the M2R FlexList either as one stereo Channel or individual channels:
- SendTx: Send (sync) all receiver information to the M2R FlexList as one stereo channel
- SendCh1: Send (sync) Channel 1 unique information to the M2R FlexList
- SendCh2: Send (sync) Channel 2 unique information to the M2R FlexList
- SendM12: Send (sync) a mono mix of both channels to the M2R FlexList.

Selecting AutoOn Feature
If external power is switched off or batteries fail while the unit is transmitting, the unit will automatically turn back on after power is restored or fresh batteries are installed. This function is enabled by selecting Yes in the menu options
NOTE: AutoOn does not work when the transmitter is in the Standby mode.
Selecting Programmable Switch Functions
The programmable switch on the top panel can be configured using the menu to provide several functions:
- (none) – disables the switch
- Mute – mutes the audio when switched on; LCD will blink a message
- Power – turns the power on and off

Press the and arrow buttons to select the desired function or disable the switch.
NOTE: The programmable switch will continue to operate whether or not keypad changes are locked.
Enable/Disable Remote Control Function
The “dweedle tone” remote control is turned on or off with the Remote menu, setting the transmitter to react to tones received (Enable) or to Ignore the tones. 
NOTE: Remote control of settings is enabled using a third party smart phone app named DCHTRemote, published by New Endian, LLC.
Selecting Battery Type
The voltage drop over the life of different batteries varies by type and brand. Be sure to set the correct battery type for accurate indications and warnings. The menu offers alkaline or lithium types. 
If you are using rechargeable batteries, it is better to use the timer function on the receiver to monitor the battery life rather than the indicators on the transmitter. Rechargeable batteries maintain a fairly constant voltage across the operating time on each charge and stop working abruptly, so you will have little or no warning as they reach the end of operation.
Locking/Unlocking Changes to Settings
Changes to the settings can be locked to prevent inadvertent changes being made.
When changes are locked, several controls and actions can still be used:
- Settings can still be unlocked.
- Menus can still be browsed.
- Programmable switch still works (Mute and On/Off).
- Sync functions are still available (except Get Freq. and Get All).
Selecting Backlit Time
Adjusts the duration of the LCD back light to 30 seconds, 5 minutes, or to remain on.
Turning LEDs Off/On
Options to turn the control panel LEDs on or off.
Restoring Default Settings
This is used to restore the factory settings.
About
Displays model number and firmware version.
Firmware Update Instructions
Firmware updates are made with a file downloaded from the web site and the DCHT or DCHT/E01 connected via USB, and Wireless Designer software. The USB port on the transmitter requires a micro-B male plug on the connecting cable. The other end of the cable would normally be a USB A-Type male connector to fit the most common type of USB jack used on computers.
- Put the transmitter in UPDATE mode by simultaneously holding down the UP and DOWN arrow buttons on the transmitter control panel while powering it up. Refer to Help in Wireless Designer software for instructions.
- Once the Update has completed, turn off the transmitter, then turn it back on to verify that the firmware version on the transmitter LCD matches the firmware version shown on the web site. The firmware is the second LCD display during boot up sequence.
WARNING: Do not connect more than one Lectrosonics device to your computer while updating firmware. Wireless Designer may need to be updated to the current version to perform a firmware update on recent products.
Specifications
Operating Frequencies:
- DCHT 470.100 – 607.950 MHz
- DCHT/E01 470.100 – 614.375 MHz
NOTE: It’s the user’s responsibility to select the approved frequencies for the region where the transmitter is operating.
- Frequency Selection Steps: 25 kHz
- RF Power Output: Selectable; 10, 25 or 50 mW
- Frequency Stability: ± 0.002%
- Spurious Radiation: DCHT Compliant ETSI EN 300 422-1 v1.4.2 DCHT/E01 Compliant ETSI EN 300 422-1 v2.1.2
- Digital Modulation: 8PSK
- Encryption: AES 256-CTR (per FIPS 197 and FIPS 140-2)
- Equivalent Input Noise: –128 dBV
- Input Types:
- Analog; mic and line level
- AES digital
- Input Level (analog)
- Mic: Nominal 2 mV to 300 mV, before limiting Greater than 1V maximum, with limiting
- Line: +24 dBu before limiting Input Impedance:
- Mic: 300 or 4.5 k ohm; selectable
- Line: greater than 100 k ohm Input Limiter: Dual envelope type; 30 dB range Gain Control Range: 51 dB in 1 dB steps; digital control Modulation Indicators:
- Bicolor LED indicates modulation of -20 and 0 dB referenced to full modulation
- LCD bar graph Frequency Response: 15 Hz – 11.3 kHz, +0, -3 dB Controls:
- Top panel toggle switch; programmable as power, mute or none (off) function
- Front panel membrane switches with LCD interface for power on/off and all setup and configuration controls
- Audio Input Jack: Switchcraft 6-pin locking (TA6F) Antenna: Galvanized steel, flexible wire, SMA connector
- Battery: Two AA Lithium recommended
- Battery Life: 5 hours; top quality alkaline
- Weight: • 5.75 ozs. (163 grams); w/ belt clip and lithium AA batteries
- 6.40 ozs. (181 grams); w/ belt clip and Duracell
- Quantum AA batteries Overall dimensions: 3.45 x 2.44 x .742 in. (88 x 62 x 19 mm)
- Emission Designator: 200KG7E.
Specifications subject to change without notice.
Input Connections
The 6-pin input jack accommodates two discrete channels at microphone or line levels. The input connections are configured as follows:
| ANALOG | DIGITAL | |
| Pin 1 | CH 1 Shield/Gnd | AES GND |
| Pin 2 | CH 1 Mic level | |
| Pin 3 | CH 1 Line level | |
| Pin 4 | CH 2 Mic level | AES CH 1 |
| Pin 5 | CH 2 Shield/Gnd | AES CH 2 |
| Pin 6 | CH 2 Line level |

Refer to the Accessories section of this manual for details on the available adapter cables. The mating connector for the DCHT, DCHT/E01 input jack is a Switchcraft TA6FLX 6-pin female (nickel plated). Lectrosonics P/N 21932.
NOTICE: Any microphone wired using pin 2 for electret bias will NOT work with the DCHT, DCHT/E01 and MCTA6TA5M2 adapter. For example, see figures 1 and 2 (below) for servobias inputs that will not operate properly. 
NOTE: The Sanken CUB-01 is wired using pin 2 for the bias and will not work with the DCHT, DCHT/E01 and MCTA6TA5M2 adapter.
AES IEC Type 1 and 2 Wiring (TA6F to XLRF)
- Type 1 interface: Type I connections use balanced, 3-conductor, 110-ohm twisted pair cabling with XLR connectors. Most often used in professional installations and are considered the standard connector for AES3. Wire as shown.
- Type 2 interface: A 75-ohm unbalanced electrical or optical interface for consumer electronics applications (less common). Connect pin 4 to the center pin of the connector. Connect pin 5 to the connector shell. Shield (pin 1 of the TA6) is unused.
Microphone Cable Termination for Non-Lectrosonics Microphones
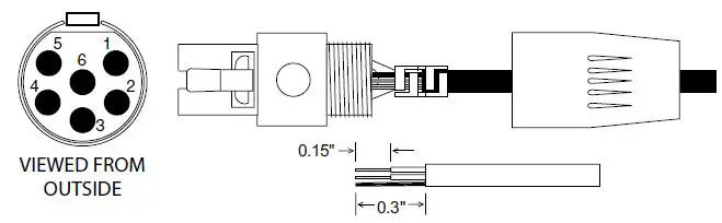
TA6F Connector Assembly
Mic Cable Stripping Instructions
Crimping to Shield and Insulation
Strip and position the cable so that the clamp can be crimped to contact both the mic cable shield and the insulation. The shield contact reduces noise with some microphones and the insulation clamp increases ruggedness.
DCHTRemote
By New Endian LLC
DCHTRemote is a mobile application for iOS operating systems to remotely control the Lectrosonics DCHT Transmitter. The app remotely changes settings on the transmitter through the use of encoded audio tones, which when received by the attached microphone, will alter the configured setting. The app is available for download and sells for about $25 on the Apple App Store. DCHTRemote’s remote control mechanism is the use of an audio sequence of tones (dweedles) that are interpreted by the transmitter as a configuration change. The settings available in DCHTRemote are:
- Audio Level (Gain)
- Frequency
- Sleep Mode
- Lock Mode
- Output Power
- Low Frequency Roll-off
- LED on/off

Activation
For the DCHT to respond to remote control audio tones, the transmitter must:
- The transmitter must not be turned off; it can however be in sleep mode.
- Remote control must be enabled. Please be aware this app is not a Lectrosonics product. It is privately owned and supported by New Endian LLC, www.newendian.com.
For body worn operation, this transmitter model has been tested and meets the FCC RF exposure guidelines when used with the Lectrosonics accessories supplied or designated for this product. Use of other accessories may not ensure compliance with FCC RF exposure guidelines. Contact Lectrosonics if you have any questions or need more information about RF exposure using this product..
This device complies with FCC radiation exposure limits as set forth for an uncontrolled environment. This device should be installed and operated so that its antenna(s) are not co-located or operating in conjunction with any other antenna or transmitter. This device complies with ISED Canada radiation exposure limits as set forth for an uncontrolled environment.
This radio transmitter [IC: 8024A-DCHT, DCHT/E01] has been approved by Innovation, Science and Economic Development Canada to operate with the antenna types listed below, with the maximum permissible gain indicated. Antenna types not included in this list that have a gain greater than the maximum gain indicated for any type listed are strictly prohibited for use with this device. Lectrosonics provides dipole “whip” antennas for use with the DCHT, DCHT/E01 transmitter. The antennas are cut to the frequency range shown below and include a 50 Ohm SMA connector.
Antenna Model Freq Range (MHz) Gain (dBi)
| AMM19 | 470.100 – 537.500 | 2.15 |
| AMM22 | 537.500 – 607.950 | 2.15 |
Accessories
Troubleshooting
Symptom: Possible Cause:
Transmitter Battery LED off when Power Switch “ON”
- Batteries are inserted incorrectly.
- Batteries are low or dead.
No Transmitter Modulation LEDs when Signal Should be Present
- Gain control turned all the way down.
- Batteries are inserted incorrectly. Check power LED.
- Mic capsule is damaged or malfunctioning.
- Input cable damaged or miswired.
Receiver Indicates RF But No Audio
- Audio source or cable connected to transmitter is defective. Try using an alternate source or cable.
- Ensure musical instrument volume control is not set to minimum.
Receiver RF Indicator Off
- Ensure that the transmitter and receiver are set to the same frequency.
- Transmitter not turned on, or battery is dead.
- Receiver antenna missing or improperly positioned.
- Operating distance is too great.
- Transmitter may be set to the Standby Mode.
No Sound (Or Low Sound Level), Receiver Indicates Proper Audio Modulation
- Receiver output level set too low.
- Receiver output is disconnected; cable is defective or miswired.
- Camera/Recorder/Mixer input is turned down.
Distorted Sound
- Transmitter gain (audio level) is too high. Check Modulation LEDs on transmitter and receiver while distortion is being heard.
- Receiver output level may be mismatched with the Camera Recorder/Mixer input. Adjust output level on receiver to the correct level for the device it is feeding.
- RF interference. Reset both transmitter and receiver to a clear channel. Use scanning function on receiver if available.
Wind Noise or Breath “Pops’”
- Reposition microphone, or use a larger windscreen, or both.
- Omni-directional mics produce less wind noise and breath pops than directional types.
Hiss and Noise — Audible Dropouts
- Transmitter gain (audio level) far too low.
- Receiver antenna missing or obstructed.
- Operating distance too great.
- RF interference. Reset both transmitter and receiver to a clear channel. Use scanning function on receiver if available.
Service and Repair
If your system malfunctions, you should attempt to correct or isolate the trouble before concluding that the equipment needs repair. Make sure you have followed the setup procedure and operating instructions. Check the interconnecting cables and then go through the Troubleshooting section in this manual. We strongly recommend that you do not try to repair the equipment yourself and do not have the local repair shop attempt anything other than the simplest repair. If the repair is more complicated than a broken wire or loose connection,
send the unit to the factory for repair and service. Don’t attempt to adjust any controls inside the units. Once set at the factory, the various controls and trimmers do not drift with age or vibration and never require readjustment. There are no adjustments inside that will make a malfunctioning unit start working. LECTROSONICS’ Service Department is equipped and staffed to quickly repair your equipment. In warranty repairs are made at no charge in accordance with the terms of the warranty. Out-of-warranty repairs are charged at a modest flat rate plus parts and shipping. Since it takes almost as much time and effort to determine what is wrong as it does to make the repair, there is a charge for an exact quotation. We will be happy to quote approximate charges by phone for out-of-warranty repairs.
Returning Units for Repair
For timely service, please follow the steps below:
A. DO NOT return equipment to the factory for repair without first contacting us by email or by phone. We need to know the nature of the problem, the model number and the serial number of the equipment. We also need a phone number where you can be reached 8 A.M. to 4 P.M. (U.S. Mountain Standard Time).
B. After receiving your request, we will issue you a return authorization number (R.A.). This number will help speed your repair through our receiving and repair departments. The return authorization number must be clearly shown on the outside of the shipping container.
C. Pack the equipment carefully and ship to us, shipping costs prepaid. If necessary, we can provide you with the proper packing materials. UPS is usually the best way to ship the units. Heavy units should be “double-boxed” for safe transport.
D. We also strongly recommend that you insure the equipment, since we cannot be responsible for loss of or damage to equipment that you ship. Of course, we insure the equipment when we ship it back to you.
Lectrosonics USA:
Mailing address: Lectrosonics, Inc.
PO Box 15900
Rio Rancho, NM 87174 USA
Web: www.lectrosonics.com
Lectrosonics Canada:
Mailing Address:
720 Spadina Avenue, Suite 600
Toronto, Ontario M5S 2T9
Shipping address: Lectrosonics, Inc.
561 Laser Rd. NE, Suite 102 Rio Rancho, NM 87124 USA
E-mail: [email protected]
[email protected]
Telephone:
(416) 596-2202
(877) 753-2876 Toll-free (877-7LECTRO)
(416) 596-6648 Fax
Telephone:
(505) 892-4501
(800) 821-1121 Toll-free (505) 892-6243 Fax
E-mail:
Sales: [email protected]
Service: [email protected]
LIMITED ONE YEAR WARRANTY
The equipment is warranted for one year from date of purchase against defects in materials or workmanship provided it was purchased from an authorized dealer. This warranty does not cover equipment which has been abused or damaged by careless handling or shipping. This warranty does not apply to used or demonstrator equipment.
Should any defect develop, Lectrosonics, Inc. will, at our option, repair or replace any defective parts without charge for either parts or labor. If Lectrosonics, Inc. cannot correct the defect in your equipment, it will be replaced at no charge with a similar new item. Lectrosonics, Inc. will pay for the cost of returning your equipment to you.
This warranty applies only to items returned to Lectrosonics, Inc. or an authorized dealer, shipping costs prepaid, within one year from the date of purchase.
This Limited Warranty is governed by the laws of the State of New Mexico. It states the entire liablility of Lectrosonics Inc. and the entire remedy of the purchaser for any breach of warranty as outlined above. NEITHER LECTROSONICS, INC. NOR ANYONE INVOLVED IN THE PRODUCTION OR DELIVERY OF THE EQUIPMENT SHALL BE LIABLE FOR ANY INDIRECT, SPECIAL, PUNITIVE, CONSEQUENTIAL, OR INCIDENTAL DAMAGES ARISING OUT OF THE USE OR INABILITY TO USE THIS EQUIPMENT EVEN IF LECTROSONICS, INC. HAS BEEN ADVISED OF THE POSSIBILITY OF SUCH DAMAGES. IN NO EVENT SHALL THE LIABILITY OF LECTROSONICS, INC. EXCEED THE PURCHASE PRICE OF ANY DEFECTIVE EQUIPMENT. This warranty gives you specific legal rights. You may have additional legal rights which vary from state to state.



























