PAiNT zoom PZP3000 Handheld HVLP Paint Sprayer Instruction Manual
CONGRATULATIONS
Congratulations on purchasing the Paint Zoom® Platinumunit, the new paint miracle breakthrough. Get rid of brushes, rollers and trays — and start painting the easy way!
Now you can paint like a pro — instantly transform any room into a magnificent space… and have fun doing it! Paint Zoom® Platinum’s advanced spray technology gives you beautiful, smooth 100% coverage. Perfect for flat walls or tricky textured surfaces like stucco, brick, paneling, crown molding. No more drips, spills or splatters — just pull the trigger and paint!
- Simple one-touch operation cuts your painting time in half and is easy to use
- Advanced spray technology delivers superior, one-coat coverage
- Eliminates the need for rollers, brushes and paint trays
- Ultra light and portable
- Industrial-strength, commercial-grade motor delivers 950 watts of spraying power
- Reach tight corners and angles with 3-way direct-dial spray head
For further details about painting instructions, please visit our web site at: paintzoom.com/demovideo
SAFETY INSTRUCTIONS
WARNING! FIRE AND EXPLOSION HAZARD![]()
- CAUTION: TO REDUCE THE RISK OF ELECTRIC SHOCK OR INJURY, DO NOT EXPOSE TO RAIN; STORE INDOORS.
- The materials used with this spray gun (paint, thinners, etc.) may contain hazardous, harmful, explosive or corrosive materials. ALWAYS COMPLY WITH THE SAFETY INSTRUCTIONS ISSUED WITH THIS PRODUCT AND THE MATERIAL BEING USED.
- Use only paints, solvents or other materials with a flash point of 73°F (22°C) or higher.
- Always ensure there is adequate ventilation when spraying.
- NEVER spray near an open flame, including an appliance pilot flame.
- NEVER smoke near the spray gun, paint or other flammable objects.
- Always disconnect the unit from the electrical outlet when cleaning the spray gun.
- Always ensure the spray area is safe and free from all debris that may present a fire or fall hazard.
- NEVER, under any circumstances, point the spray gun at another person or animal. In the event of an injury, seek immediate medical attention.
- NEVER allow children or unauthorized users to operate or play with the spray equipment.
- Always read the paint manufacturer’s thinning instructions before use.
- Always wear a protective face mask when spraying. We also recommend wearing gloves, goggles and overalls.
- You must clean the spray gun thoroughly after each use.
- Use only genuine manufacturer replacement parts.
- Use the spray equipment only as detailed in these instructions.
- Do not use the air hose or power cord to move the Paint Zoom® Platinum unit.
- Check the hoses, hose connectors and power cord frequently. Any worn or damaged parts should be replaced immediately.
- This Paint Zoom® Platinum unit is recommended for household use only.
- This Paint Zoom® Platinum unit is not intended for use by children or persons with reduced physical, sensory or mental capabilities, or lack of experience and knowledge.
- SAVE THESE INSTRUCTIONS.
HAZARD: EXPLOSION OR FIRE
Solvent and paint fumes can explode or ignite.
Severe injury or property damage can occur.
PREVENTION:
- Provide extensive exhaust and fresh air to keep the air within the spray area free from accumulation of flammable vapors.
- Do not use Paint Zoom® Platinum or place paint or other flammable materials near ignition sources such as static electric sparks, open flames, pilot lights, electrical appliances, or hot objects. Connecting or disconnecting power cords or working light switches can make sparks.
HAZARD: HAZARDOUS VAPORS
Paints, solvents, insecticides and other materials can be harmful if inhaled or if they come in contact with the body. Vapors can cause severe nausea, fainting or poisoning.
PREVENTION:
- Use a respirator or mask. Read all instructions supplied with the mask to be sure it will provide the necessary protection.
- Wear protective eyewear.
- Wear protective clothing as required by coating manufacturer.
HAZARD: GENERAL
Can cause severe injury or property damage.
PREVENTION:
- Read all instructions and safety precautions before operating equipment.
- Follow all appropriate local, state and national codes governing ventilation, fire prevention and operation.
- The United States Government Safety Standards have been adopted under the Occupational Safety and Health Act (OSHA). These standards, particularly part 1910 of the General Stan- dards and part 1926 of Construction Standards should be consulted.
IMPORTANT ELECTRICAL INFORMATION
- EXTENSION CORDS
Your Paint Zoom® Platinum unit is supplied with a power cord that is 1.5 feet long. Make sure your power cord is in good condition. When using an extension cord be sure to follow chart below.
- POLARIZED PLUG
The Paint Zoom® Platinum unit has a polarized plug (one blade is wider than the other). This plug will fit in a polarized outlet only one way. If the plug does not fully fit in the outlet, reverse the plug. If it still does not fit, contact a qualified electrician to install the proper outlet. Do not change the plug in any way. - DOUBLE INSULATED
The Paint Zoom® Platinum unit is a double-insulated appliance and as such, does not require three-way grounding. Servicing of double-insulated products requires extreme care and knowledge of the system, and should be done only by qualified service personnel.
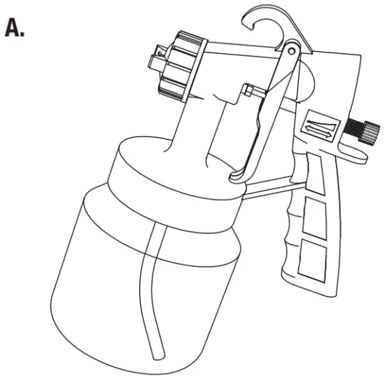
PRODUCT COMPONENTS




- Spray gun
- Air cap ring
- Spray pattern adjuster/
3-way dial spray head - Nozzle
- O-ring
- Nut
- Paint flow adjuster
- Gasket
- Viscosity cup
- Pick up tube
- Paint container
- Hose
- Motor Base
- Shoulder Strap
IMPORTANT: SELECTING PAINT
- Your Paint Zoom® Platinum unit can be used with a wide variety of paints, stains and coatings such as deck and fence stains, latex, sealers, varnishes, wood preservatives, enamels, oil-and water-based paints and automotive paints.
- However, there are some materials that cannot be sprayed, so please check with the recommendation of the manufacturer before buying the paint or other material. If the instructions refer to brush application only, then the material probably cannot be sprayed.
THIS UNIT CANNOT BE USED FOR TEXTURED PAINTS. USE OF THESE MATERIALS WILL CAUSE PREMATURE WEAR, WHICH WILL VOID YOUR WARRANTY. TO OBTAIN THE BEST RESULTS FROM YOUR PAINT ZOOM PLATINUM™ UNIT, PLEASE READ THE INSTRUCTIONS CAREFULLY.
HAZARD: HAZARDOUS VAPORS
PAINTS, SOLVENTS, INSECTICIDES AND OTHER MATERIALS CAN BE HARMFUL IF INHALED OR COME IN CONTACT WITH THE BODY. VAPORS CAN CAUSE SEVERE NAUSEA, FAINTING OR POISONING.
PREVENTION:
- Use a respirator or mask. Read all instructions supplied with the mask to be sure it will provide the necessary protection.
- Wear protective eyewear.
- Wear protective clothing as required by coating manufacturer.
SPECIFICATIONS
Name: Paint Zoom® Platinum
Model Number: PZP3000
Input: 120 volt | 60hz
Power: 950 watts / 7.9 Amps
Cord: 1.5 feet, 2-prong polarized
Paint Container: 900 ml | 30 oz
Hose Length: 5 feet
Nozzle Size: 1.8 mm
Max Paint Flow: 600 ml/min
Spraying Pressure: 0.18-0.24 bar/2.6-3.5 psi
Weight: 2.09 kg
UNIT SET UP
ATTACHING THE AIR HOSE
- Uncoil the air hose and attach one end to the back of the spray gun and the other end to the Paint Zoom® Platinum unit. Insert the air hose end to the guide at side of device firmly. (A) Insert the other side of air hose to the connector of gun side firmly (B).


MATERIAL PREPARATION
- Viscosity is a technical term used to indicate the thickness of a liquid. Having the correct viscosity of paint is important to ensure the paint atomizes correctly and sprays well, giving you a good quality finish. If your material is thin like water then the viscosity is said to be low, while if thick like latex interior paint, then viscosity is said to be high.
- You should always test the viscosity (or thickness) of paint before spraying to see if thinning is required. The correct viscosity is not too high or low, and it is important to ensure the paint atomizes correctly and sprays evenly.
Before spraying, the material being used may need to be thinned with the proper solvent as specified by the material manufacturer. Follow the instructions below.
- Stir the paint or other spraying material thoroughly before measuring the viscosity.
- Dip the viscosity cup completely into the spraying material.
- Hold the cup up and measure (in seconds) the time it takes to empty the liquid out of the cup. This time is referred to below as RUN OUT TIME. If the RUN OUT TIME is higher than indicated on the table on Page 8, refer to the instructions in the THINNING section on Page 9.
Material to be sprayed should always be strained to remove any impurities which may enter and clog the system. Impurities in the paint or other material will result in poor performance and a poor finish
THINNING CHART
| Material | Run out Time (Sec) |
| 1) Oil enamel | 25-60 |
| 2) Oil based primer | 30-60 |
| 3) Oil stain | No thinning required |
| 4) Clear sealer | No thinning required |
| 5) Polyurethane | No thinning required |
| 6) Varnish | 20-60 |
| 7) Lacquer sanding sealer | 25-35 |
| 8) Lacquer | 25-35 |
| 9) Automotive finishes | 20-40 |
| 10) Latex | 45-60 |
THINNING
Paint is “thinned” by adding the substance upon which the paint is based. If it is water-based paint then water is added; if oil-based then mineral spirit or manufacturer’s recommended thinner is added. If the paint requires thinning, start with a 10% dilution of the paint.
To do this, partially fill a container with one quart of paint. The viscosity cup supplied with the unit holds 1/10 of a quart. Block the hole in the viscosity cup with your finger and fill up with the required thinner. Add the thinner to the paint and stir, and re-measure the viscosity. If the paint requires additional thinning, repeat this step by adding 5% (5% will be equal to half a viscosity cup) with the required thinner until desired viscosity is achieved.
If mixing larger batches of paint, for instance a gallon, then add four viscosity cups of appropriate thinner, which is approximately 10% of a gallon. If further thinning is required, repeat by adding two viscosity cups (approximately 5% of a gallon) until desired viscosity is achieved.
Always follow the manufacturer’s guide for thinning in conjunction with a spray gun. If in doubt, please contact the paint manufacturer.
SURFACE & JOB PREPARATION
- With any job, you should always ensure that you have prepared your surface to get the best finish. You must ensure all surfaces are free from dust, dirt, rust and grease. Lightly pressure wash decks or exterior surfaces and ensure they are dry before painting.
- With pre-coated or pre-painted surfaces, lightly rub down with sandpaper to ensure a good bond for the paint. With bare wood surfaces, wipe with a wet rag to ensure the surface is free of dust.
- Because some paints, lacquers, stains and other spray able materials contain particles that are not fully dissolved, we recommend that you strain your material through either a funnel with a built-in filter, a paint strainer or through hosiery when filling the paint container. This will ensure that no large particles enter the paint container, preventing blockages and providing you with trouble-free spraying.
- Even though the Paint Zoom® Platinum system has very little over-spray, it is recommended that you mask the edges and other areas and use a drop cloth to ensure that you protect those areas you wish to remain untouched.
FILLING THE PAINT CONTAINER
Always make sure that the motor base is on a stable surface and free from dust and debris or other liquids.
- Unscrew the paint container from the spray gun.

- After the material has been properly thinned and strained, fill the container to the top of the neck.
DO NOT OVERFILL above the start of the threaded neck.
- Push the pick-up tube firmly into the base of the gun body. Carefully screw the cup back onto the spray gun.

An airtight seal is essential for the correct operation of this spray gun. Before operating the unit, please ensure that the paint container is securely fixed to the spray gun body and the gasket is in place.
ALIGNING THE SUCTION TUBE
By pointing the suction tube in the proper direction, you will not have to refill the container as often.
- A) If you are going to be spraying in an upward direction, the angled end of the suction tube should be pointing toward the rear of the gun.

- B) If you are going to be spraying in a downward direction, the angled end of the suction tube should be pointing toward the front of the gun.

HOW TO SPRAY PROPERLY
WARNING! ![]()
NEVER trigger the gun while adjusting the ears on the spray pattern adjuster.
NEVER point the spray gun at yourself or any other person.
- Set the material volume by turning the regulator on the rear part of the spray gun.
- Position the spray gun perpendicular to and approximately 6 to 12 inches from the spray surface, depending upon the spray pattern size desired.
- Spray parallel to the surface with smooth passes at a consistent speed as illustrated below.
Doing this will help avoid irregularities in the finish (i.e., runs and sags). - Always apply a thin coat of material on the first pass and allow to dry before applying a second, slightly heavier coat
EVEN COAT THROUGHOUT
CORRECT: KEEP STROKE SMOOTH AND AT AN EVEN SPEED
- When spraying, always trigger the spray gun after spray pass has begun and release trigger before stopping the pass. The best results are achieved when making 20-inch passes. Always keep the gun pointed squarely at the spray surface and overlap passes slightly to obtain the most consistent and professional finish possible.
INCORRECT: DO NOT FLEX WRIST WHILE SPRAYING
STARTING TO SPRAY
ADJUSTING THE FLOW OF PAINT
We recommend you spend some time practicing on cardboard, newspaper or scrap wood to familiarize yourself with how the spray gun works and the flow rate (i.e., how fast the material will spray) before starting.
- Start with the PAINT FLOW ADJUSTER at its minimum setting so the trigger cannot be pulled.
The paint flow adjuster controls the quantity of paint sprayed. Slowly increase the paint flow until the flow has reached a level you are comfortable with.

ADJUSTING SPRAY PATTERNS
- The gun has 3 spray patterns which can be changed by the spray pattern adjuster from a horizontal oval fan pattern to a round detailed pattern to a vertical fan pattern. When adjusting through patterns, you will notice the oval fan pattern width decrease and increase as it moves from horizontal to vertical positions. This is useful when you have particular-size items you need to spray. For the round pattern, the maximum width you can spray is 8 inches and the minimum is 1inch.
- The horizontal position of air cup (figure 1.)
The spraying shape is vertical: for vertical surface. - The vertical position of air cup (figure 2.)
The spraying shape is horizontal: for horizontal surface. - The oblique position of air cup (figure 3.)
The spraying shape is circular: for corners, edges and others.
- The horizontal position of air cup (figure 1.)
TECHNIQUE
It is recommended you spend some time practicing on cardboard to familiarize yourself with how the spray gun works and the flow rate of the material. When spraying, always keep your arm at the same distance from the surface and avoid turning your wrist as this will help give you an even paint distribution. You should spray a maximum of 8-12 inches from a surface, which will allow maximum spray width.
BE CAREFUL NOT TO APPLY TOO MUCH PAINT IN THE SAME AREA, AS THIS WILL LEAD TO SAGS AND DRIPS—APPLYING LIGHT COATS IS ALWAYS BETTER UNTIL YOU GAIN CONFIDENCE, AS YOU CAN ALWAYS GO BACK OVER WHAT YOU HAVE SPRAYED.
The most commonly used technique for painting a large surface is the ‘crisscross’ technique, i.e., you spray the paint in a horizontal strip and then cross over these strips by spraying the paint in vertical strips.
- To achieve a horizontal strip, adjust to the horizontal position, then pull the trigger and move your arm up and down.
- When you get to the end of the line, release the trigger for a moment and then spray in the opposite direction, slightly overlapping the last strip.
- Next, to achieve a vertical strip, adjust the spray direction dial to the horizontal position and then pull the trigger and move your arm up and down over the horizontal strips you just have sprayed, slightly overlapping the last strip you sprayed.
TOP TIPS
- Always test spray onto cardboard to set up the gun, as the flow rate will vary depending on what you are spraying.
- Evenly control the speed of movement of the spray gun. A fast speed will give a thin coat and a slow speed will give a heavy coat.
- If spraying small areas or objects, keep the paint flow dial low, as this will avoid excessive use of paint and will minimize over-spray.
- Avoid stopping and starting when spraying a surface, as this can lead to too much or not enough material on a surface.
- To ensure edges are covered, start spraying just to the side or above/below the area being sprayed.
- If using a latex paint, regularly wipe the needle tip to ensure airflow and paint flow are not restricted.
- Do not spray outside when humidity is above 60% or temperature is above 90°F or below 45°F.
- Watch our Paint Zoom® Platinum instructional video at: www.paintzoom.com/demovide
CLEAN UP
WARNING!
SPECIAL CLEANUP INSTRUCTIONS FOR USE WITH FLAMMABLE SOLVENTS:
- Always flush spray gun, preferably outside, at a hose length from motor base.
- Area must be free of flammable vapors.
- Cleaning area must be well ventilated.
- Turn the motor base OFF.
- Trigger the spray gun so that the material inside the spray gun flows back into the container.
- Unscrew the container. Empty any remaining material back into the paint container.
- Pour a small amount of the appropriate cleaning solution into the cup (warm, soapy water for latex materials; mineral spirits for oil-based materials). Clean cup and properly dispose of cleaning solution.
- Again pour a small amount of the appropriate cleaning solution into the cup.
- Attach the cup to the gun, turn on the motor base, and spray the solution through the gun for 20 seconds in a safe area or until the solution looks clean. Properly dispose of remaining cleaning solution.
- Turn motor base OFF.
- Wipe the exterior of the cup and gun until clean.
- Unscrew the nut and remove the spray pattern dial and nozzle.
- Clean the container, suction tube, spray pattern dial and nozzle with a cleaning brush and the appropriate cleaning solution. When cleaning the spray gun, completely disassemble per diagram below.

CAUTION ![]()
Never clean nozzle or air holes in the spray gun with sharp metal objects.
TROUBLESHOOTING
| PROBLEM | CAUSE | SOLUTION |
| A. Little or no material flow |
|
|
| B. Material leaking |
|
|
| C. Atomization is too coarse |
|
|
| D. Spray jet pulsates |
|
|
| E. Pattern runs or sags |
|
|
| F. Too much over-spray |
|
|
| G. Pattern is very light and splotchy |
|
|
| H. Large cloud of paint |
|
|
ONE YEAR LIMITED WARRANTY
Your Paint Zoom® Platinum multifunction paint sprayer is warranted to be free from defects in materials and workmanship for one year from the original purchase date. Should the product have a defect in materials or workmanship, we will repair or replace it without charge to you (a shipping and processing fee will apply). To obtain service under warranty, simply call our Customer Service Center toll free at 1.800.793.2303.
This warranty does not cover damage caused by accident, misuse or any use other than as intended and described in this product manual, or damage resulting from failure to maintain and clean this product as specified in this product manual. This warranty applies only to the original purchaser of the Paint Zoom® Platinum.
ALL EXPRESS AND IMPLIED WARRANTIES FOR THIS PRODUCT, INCLUDING IMPLIED WARRANTIES OF MERCHANTABILITY AND FITNESS FOR A PARTICULAR PURPOSE, ARE LIMITED IN DURATION TO THE WARRANTY PERIOD, AND NO WARRANTIES, WHETHER EXPRESS OR IMPLIED, WILL APPLY AFTER THIS PERIOD.
Some states do not allow limitations on the duration of implied warranties, so the above limitation may not apply to you. While this warranty gives you specific legal rights, you may also have other rights which may vary from state to state.
CONTACT INFO FOR WARRANTY SERVICE:
Paint Zoom®
P.O. Box 9169 | Van Nuys, CA | 91409-8291
800-793-2303 | paintzoom.com
[email protected]
© 2021 Ideal Living, LLC. All Rights Reserved.
Patents pending worldwide
ARBITRATION AGREEMENT
PLEASE READ THIS AGREEMENT CAREFULLY. YOU ACCEPT THE TERMS OF THIS AGREEMENT BY RETAINING THE PRODUCT(S) SHIPPED IN CONNECTION WITH THIS AGREEMENT (THE “PRODUCTS”) FOR MORE THAN THIRTY (30) DAYS AFTER RECEIPT. IF YOU DO NOT AGREE TO THE TERMS OF THIS AGREEMENT, YOU MAY RETURN THE PRODUCT TO COMPANY WITHIN THIRTY (30) DAYS OF RECEIPT FOR A FULL REFUND.
THIS ARBITRATION AGREEMENT (“AGREEMENT”) AFFECTS YOUR LEGAL RIGHTS AND REMEDIES BY PROVIDING THAT DISPUTES BETWEEN YOU AND THE MANUFACTURER, DISTRIBUTOR AND/OR SELLER OF THIS PRODUCT (COLLECTIVELY, “COMPANY”), MUST BE RESOLVED THROUGH BINDING ARBITRATION AND NOT IN COURT. IT ALSO PROVIDES THAT ANY DISPUTE CANNOT BE RESOLVED IN A CLASS ACTION OR OTHER PROCEEDING WHERE YOU REPRESENT OTHER PERSONS OR OTHER PERSONS REPRESENT YOU, AND THAT NO CLASS OR REPRESENTATIVE ARBITRATIONS ARE PERMITTED. PLEASE CAREFULLY READ ALL TERMS IN THIS AGREEMENT.
- RESOLUTION OF CLAIMS OR DISPUTES.
Any claim or dispute between you and Company (or any of Company’s subsidiaries or affiliates) arising out of or relating in any way to the Product or this Agreement shall be resolved through final, binding arbitration. This arbitration obligation is reciprocally binding on both you and the Company and applies regardless of whether the claim or dispute involves a tort, fraud, misrepresentation, product liability, negligence, violation of a statute, or any other legal theory. Both you and Company specifically acknowledge and agree that you waive your right to bring a lawsuit based on such claims or disputes and to have such lawsuit resolved by a judge or jury. - LIMITATION OF LEGAL REMEDIES.
All arbitrations under this Agreement shall be conducted on an individual (and not a class-wide) basis, and an arbitrator shall have no authority to award class-wide relief. You acknowledge and agree that this Agreement specifically prohibits you and the Company from commencing arbitration proceedings as a representative of others or joining in any arbitration proceedings brought by any other person. The parties agree that no class or representative actions of any type are permitted. - ARBITRATION PROCEDURES.
- Before instituting an arbitration, if you have any dispute, we strongly encourage you to contact the Company to try to resolve the matter by calling 800-218-3560, although you are not required to do so.
- The arbitration of any claim or dispute under this Agreement shall be conducted in accordance with the expedited procedures set forth in the JAMS Comprehensive Arbitration Rules and Procedures as those Rules exist on the date you receive the Product, including Rules 16.1 and 16.2 of those Rules. These rules and procedures are available by calling JAMS or by visiting its web site at www.jamsadr.com. The arbitration of any claim or dispute under this Agreement shall be conducted by an arbitrator who has at least five years of experience conducting arbitrations.
- The arbitration of any claim or dispute under this Agreement shall be conducted in the State of California or the location in which you received this Agreement. For claims of $10,000 or less, you may choose whether the arbitration proceeds in person, by telephone, or based only on submissions.
- The Company shall pay costs for the arbitration of claims, including any JAMS Case Management Fee and all professional fees for the arbitrator’s services. The Company shall pay the fees and costs of its own counsel, experts and witnesses and shall not be able to recoup them from you even if you do not prevail in the arbitration. Unless otherwise provided by law, you acknowledge and agree that you shall pay the fees and costs of your own counsel, experts and witnesses.
- CHOICE OF LAW.
The arbitration provisions of this Agreement and any arbitration conducted pursuant to the terms of this Agreement shall be governed by the Federal Arbitration Act (9 U.S.C. Secs. 1-16). In this respect, the parties acknowledge that this Agreement involves a transaction conducted in interstate commerce. Otherwise, this Agreement and the rights of the parties hereunder shall be governed by and construed in accordance with the laws of the State of California, exclusive of conflict or choice of law rules. - SEVERABILITY.
If any provision of this Agreement is declared or found to be unlawful, unenforceable or void, such provision will be ineffective only to the extent that it is found unlawful, unenforceable or void, and the remainder of the provision and all other provisions shall remain fully enforceable.

































