MODULARO wc192070 Wooden Sheds
WHAT INCLUDED
PARTS
DIMENSION
INSTALLATION






TOOLS REQUIRED
ACCESSORIES NOT INCLUDED
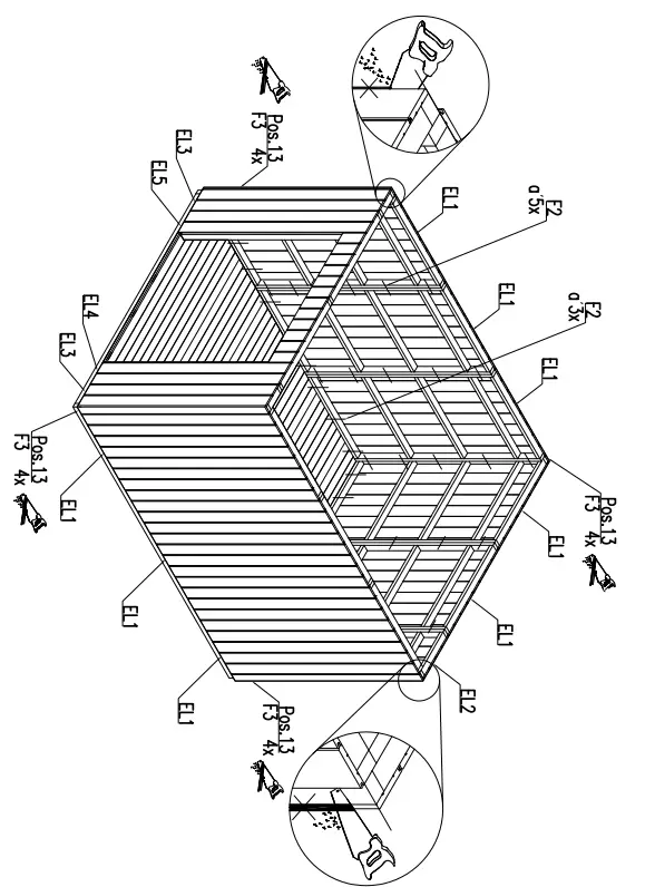
INSTALLATION






The producer shall have the right to make technical changes to the product
General information
Dear client,
We are glad that you have decided in favour of our garden house!
Please read the assembly manual carefully before proceeding with the house installation! You will thus avoid problems and will not waste time.
Recommendations:
- Keep the house package until its complete assembly in a dry place, but not in direct contact with the ground, protected from weather conditions (moisture, the sun, etc.). Do not keep the house package in a heated room!
- When selecting the garden house location, make sure that the house will not be subjected to extreme weather conditions (areas of strong snowfall or winds); otherwise you should attach the house (for instance, with anchors) to the subsoil.
Warranty
Your house is made from high quality spruce and delivered in the natural (unprocessed) form. If, despite our thorough inspection, you should have complaints, please submit the filled out control sheet and purchase invoice to the product seller.
ATTENTION: Please be sure to keep the documentation accompanying the house package! The control sheet includes the control number of the house. We can only review complaints if you submit the control number of the house to the seller!
The warranty does not cover:

- Peculiarities of wood as a natural material
- Wooden details already painted (processed with a wood preservative)
- Wooden details containing whole branches that do not endanger the stability of the house
![]()
- Colour tone variations caused by wood structure differences that do not influence wood lifetime
- Wooden details containing (caused by drying) small cracks/gaps that do not pass through and do not influence the structure of the house
- Twisted wooden details if they can nevertheless be installed
![]()
- Roof and floor boards that may have on their concealed surfaces some non-planed areas, colour differences and waning
- Complaints resulting from an incompetent manner of the installation of the house or the house subsiding due to an incompetently made foundation
- Complaints caused by introducing self-initiative changes to the house, such as the deformation of wooden details and doors/windows due to an incompetent manner of wood processing; the attachment of storm braces too rigidly, doorframes being screwed onto wall logs, etc.
The complaints covered by the warranty are satisfied to the extent of replacing the deficient/faulty material. All other demands will be excluded!
Garden house painting and maintenance
Wood is a natural material, growing and adapting depending on weather conditions. Large and small cracks, colour tone differences and changes, as well as a changing structure of wood are not errors, but a result of wood growing and a peculiarity of wood as a natural material.
Unprocessed wood (except for foundation joists) becomes greyish after having been left untouched for a while, and can be turn blue and become mouldy. To protect the wooden details of your garden house, you must immediately process them with a wood preservative.
We recommend that you cover the floor boards in advance with a colourless wood impregnation agent, especially the bottom sides of the boards, to which you will no longer have access when the house is assembled. Only this will prevent moisture penetration.
We definitely recommend that you also process the doors and windows with a wood impregnation agent, and do that namely both inside and outside! Otherwise the doors and windows can become twisted.
ATter the house assembly Is Completed, we recommend for the conclusIve finishing a weather protection paint that will protect wood from moisture and UV radiation.
When painting, use high quality tools and paints, follow the paint application manual and manufacturer’s safety and usage instructions. Never paint a surface in strong sunlight or rainyweather. Consult a specialist regarding paints suitable for unprocessed softwood and follow the paint manufacturer’s instructions.
Having been properly painted, your garden house’s lifetime will increase substantially. We recommend that you inspect the house thoroughly once every six months.
Preparation for assembly
Tools and preparation of components
To assemble the garden house, you will need the following tools:
- assembly aid
- water-level
- knife
- ladder
- screwdriver
- measuring tape
- hammer
- saw
- pliers
- drill
ADVICE: To avoid splinters, we recommend that you wear the corresponding protective gloves during the assembly process.
We wish you total success with the garden house installation and much joy with this house for many years to come!
Installation instructions
Note: Product that is used outdoors, needs to be painted before usage.



























