MINI GARDEN SHED
MODEL NO: CIS666
PART NO: 3503579
ASSEMBLY INSTRUCTIONS
ORIGINAL INSTRUCTIONS
INTRODUCTION
Thank you for purchasing this CLARKE Garden Shed. Before attempting to use this product, please read this manual thoroughly and follow the instructions carefully. In doing so you will ensure the safety of yourself and that of others around you, and you can look forward to your purchase giving you long and satisfactory service.
When erected, the CIS666 Shed will be of the dimensions shown on page 4. The product weight is 20.65 kg (unpacked) 22.4 kg (packed).
SAFETY WARNINGS
WARNING: READ THESE SAFETY INSTRUCTIONS TO REDUCE THE RISK OF INJURY. RETAIN THESE INSTRUCTIONS FOR FUTURE REFERENCE.
SERIOUS INJURY TO PERSONS OR PROPERTY COULD RESULT IF THE SHED IS NOT SECURELY ANCHORED.
DO NOT use this product in environments for which it is not Intended (i.e. extreme cold, high winds, extreme heat, heavy rainfall, etc).
DO NOT use open flames or cooking or heating devices inside or in close proximity to the shed including all types of stoves, gas heaters, gas lanterns, torches, fly killers, etc. The fabric will burn if left in continuous contact with a naked flame.
DO NOT store flammable liquids (petrol, kerosene, propane, etc.) in the shed or operate petrol powered vehicles/equipment in or around the shed.
ALWAYS follow the instructions for anchoring the shed.
GUARANTEE
This product is guaranteed against faulty manufacture for a period of 12 months from the date of purchase. Please keep your receipt which will be required as proof of purchase.
This guarantee is invalid if the product is found to have been abused or tampered with in any way, or not used for the purpose for which it was intended.
Faulty goods should be returned to their place of purchase, no product can be returned to us without prior permission. This guarantee does not effect your statutory rights.
POSITIONING AND INSTALLATION OF THE SHED
POSITIONING THE SHED
This shed is a temporary structure and is not recommended as a permanent building. It is designed to offer protection from sun, rain, light snow, tree sap and bird droppings etc. It is not designed to shelter equipment from excessively high winds or heavy snow.
Choose your shed location carefully. Check for overhead power lines, tree branches, etc. DO NOT install near roofs or other structures that may shed snow, ice or excessive run-off onto your shed.
SITING THE SHED
Erect your shed on level ground over a firm, level area. Allow enough space near each corner for the ground anchors and tie-down straps supplied to be used as intended. If the ground area is of tarmac or concrete, the use of ground anchor holding-down bolts will be required to anchor the shed to the floor.
Choose a dry location where dampness arising from ground water in the environment will not undermine the protection offered by the shed.
A masonry floor such as block paving or concrete is ideal, but if this is not being supplied, a timber or shuttering plywood floor, protected by a suitable groundsheet should be used. This will help to create a dry storage environment by insulating the storage space from ground moisture.
Proper anchoring and keeping the cover tight and free of snow and debris is the responsibility of the user. Damage caused by improper anchoring is not covered under warranty.
CARE OF THE SHED STRUCTURE
This shed is NOT designed to support heavy snow. Snow or ice accumulation may cause your shed to collapse. To avoid overload, brush snow and ice off the roof top with a broom or mop to prevent collapse with the resultant damage to property or personal injury.
NEVER clear the roof of snow or debris from inside the shed.
DO NOT use hard-edged tools or instruments, such as rakes or shovels to remove snow. These can cause punctures to the cover.
DO NOT use bleach, alkaline or harsh detergents for cleaning. Doing so will damage the material. Soap and warm water are recommended.
In order to reduce risk of burning and avoid damage, DO NOT- cook, smoke, refuel or use any open flame devices in or around the shed.
USING THE STORAGE SPACE
Never run the engine of any machine inside a closed shed. Ensure that there is adequate ventilation for engines or for any work with paints, cleaners. etc. by opening the door panel and keeping it raised.
CONDENSATION
Take steps to avoid the buildup of condensation inside the shed. Cool, damp winter days and moisture from the breath and body heat of personnel may cause condensation on the inside of the top cover.
A supply of fresh air through the doorway will at least partly remove this issue.
For long term storage of moisture sensitive belongings in all weathers, the use of a dehumidifier may be required, such as those in the CLARKE range. A suitable extension lead to a locally available power supply will be required.
Condensation will be much less of an issue during the summer months.
CONSTRUCTION
Have an overview of all parts before attempting installation and make sure all components are supplied.

COMPONENT PARTS LIST
| No | Description | IIIusintion | Qty |
| 1 | Rafter Pole | 4 | |
| 2 | Extension Pole with Dimples | 7 | |
| 3 | Common Tube-male union | 3 | |
| 4 | Cross Rail-male union | 2 | |
| 5 | Cross Rail with punched hole | 2 | |
| 6 | Bent Corner Leg | 4 | |
| 7 | 3-Way Peak Connector | 2 | |
| 8 | 3-Way Side Connector-left | 2 | |
| 9 | 3-Way Side Connector-right | 2 | |
| 10 | 3-Way Cross Rail Clamp | 8 | |
| 11 | Ratchet Tie Down | 8 | |
| 12 | M6 Nut | 4 | |
| 13 | M6X40 Bolt | 4 | |
| 14 | M6 Washer | 4 | |
| 15 | Roof Tarp | 1 | |
| 16 | Back Panel | 1 | |
| 17 | Front Door Panel (with Zipper) | 1 | |
| 18 | Anchor | 4 | |
| 19 | Cable-1’/30cm | 4 | |
| 20 | Cable Clamp | 4 |
ASSEMBLY
WARNING: DO NOT PLACE THE PRODUCT UNDER TREES FROM WHICH HARD FRUIT SUCH AS APPLES, WALNUTS OR HEAVY PINE CONES, ETC., MAY FALL. KEEP CHILDREN AWAY DURING ASSEMBLY. THIS PRODUCT CONTAINS SMALL PARTS WHICH CAN BE SWALLOWED BY CHILDREN. DO NOT ATTEMPT TO ASSEMBLE THE PRODUCT IF ANY PARTS ARE MISSING.
WARNING: DO NOT LEAVE THE SHED UNATTENDED DURING ASSEMBLY IN CASE PERSONAL INJURY OR DAMAGE MAY OCCUR.
- Place all parts in a clear area and arrange them on the ground. Check for completeness and for any transport damage.
- Remove all packaging materials and place them back in the box. Do not dispose of the packaging materials until assembly is complete.

Tools required for assembly (not included)

STEP 1: ASSEMBLING THE ROOF FRAME
- Select a suitable location for the shed. The layout of the roof parts is shown.
Note: The three connectors are different and individually numbered. When using them, ensure the welded socket for the cross rail is below the bend.
- Connect the extension pole with dimples (2) and common tube-male union (3) together. Assemble the centre section of the roof using the connectors (2/3) and 3-way peak connectors (7). Insert the rafter poles (1) into the connectors afterwards.
NOTE: Be sure that all tubes are fully inserted. Use a rubber mallet if necessary. When using the connectors, be sure to remove the protective caps first.
STEP 2: ATTACHING THE LEGS
There are 4 corner legs for the whole shed.
These comprise the extension poles 2 (with dimple) and the bent corner legs (6).
- Insert the corner legs into the 3-way side connectors (8/9).

- Repeat the same procedure on the opposite side.

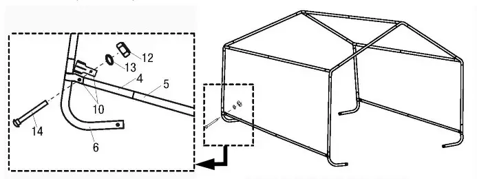
STEP 3 ATTACHING THE BOTTOM CROSS-RAIL
- Connect the cross rail male union (4) and cross rail with punched hole (5) together. Attach the bottom cross rail connectors (4/5) to the legs and cover the joints with the cross rail clamps (10). Align all hole and insert the fittings (12, 13, 14).

- Repeat the same procedure on the opposite side.
- Adjust the bottom cross rail connectors (4/5) so that they are of the same height from the ground. Now tighten the fittings 12, 13 & 14, below.

STEP 4: SQUARE AND ANCHOR THE FRAME
WARNING: SERIOUS INJURY TO PERSONS OR PROPERTY COULD RESULT IF THE SHED IS NOT SECURELY ANCHORED, WITH EITHER THE GROUND ANCHORS SUPPLIED OR IF SITED ON CONCRETE OR TARMAC USE SUITABLE SUBSTANTIAL GROUND ANCHOR BOLTS.
- Ensure the frame is standing at the desired location.
- Level the frame both end to end and side to side.
- Check the frame measures 6’ (183cm) in width.
- Measure the distance between the interior of the frame diagonally. The sections A to B and C to D should be equal length. If not, tap the corner leg of the longer section using a rubber mallet inward until both diagonals are equal.

STEP 5 ANCHORING THE FRAME
- Four anchors are provided to secure the shed. They are to be installed around the bent corner legs at each corner of the shed.
- Screw the anchor head into the ground.
- Insert the cable (19) through the eyelets of the anchor (18) and the bent corner leg (6). Secure the cable (19) with the cable clamp (20).
- Repeat for the other three anchors.
• Ensure the clamps are gripping the cables tightly.

STEP 6: INSTALLING THE FRONT AND BACK COVERS
The front cover has a zippered door to allow entry to the shed. Be sure to locate this cover at the desired end and ensure the zipper is in the fully closed position while installing. The back cover is a solid piece of fabric. Both covers are installed in the same fashion.


- Thread the webbing strap though the spindle of the ratchet. Raise and lower the handle several times to wind the strap onto the spindle as shown above.

- Locate the top part of the front door panel (17) near the 3-way peak connector (7). Disconnect the shoulder cross rail (3) from the 3-way peak connector (7) and pull the strap onto the connector (7). Re-insert the cross rail (3) to its proper position.
- Attach the other two corners of the front door panel (17) to the 3-way side connectors (8/9) in the same way

- Insert the S-hook of the ratchet into the hole of the bent corner leg (6). Pump the ratchet handle repeatedly to tighten the strap.
STEP 7: INSTALLING THE ROOF COVER
NOTE: The roof cover (15) is pre-assembled with pipe sleeves along its lower part on each side.

- Lay the cover on the ground next to the frame. Make sure that the ends with the black straps are alongside the front door/back panels (16/17) and the tube sleeves are facing upwards.
- Stretch the roof cover (15) over the shed frame and make sure it is centred on the frame. Use a ladder if necessary.
- If small adjustments are needed, two people should pull the roof cover from the same side so that it does not twist.

- Remove the fittings (12, 13, 14) and 3-way cross rail clamps (10) to loosen the bottom cross rail connectors (4/5). Slide the cross rail connectors (4/5) through the tube sleeves on one side of the roof cover (15). Re-insert the clamps (10) and fittings (12,13,14) and tighten gently.

Repeat the same procedure for the opposite side of the roof.
Check and ensure all bottom cross rail connectors (4,5) are level and horizontal, and are all the same height from the ground.
Tighten all nuts and bolts at this stage.
Fasten the black straps at the four corners with the ratchet tie-down (11).
The shed is now ready for use.
USING THE SHED
- Check periodically (two to three times in the first week) and tighten the ratchet tie-downs and all hardware if needed. You may need to remove and re-set the ratchet to allow for more strap material becoming wound around the ratchet spindle.
WARNING: IF POSITIONING THE SHED IN A WINDY LOCATION ALWAYS ENSURE THE FRONT DOOR IS KEPT FULLY CLOSED TO PREVENT IND LIFTING THE SHED FROM INSIDEAND THAT THE SHED IS SECURELY ANCHORED TO THE GROUND. - Open the door with the help of an assistant, rolling the fabric up until the door can be held in position above the opening using the webbing straps and buckles as shown above. (When not in use, tie the ends of the straps to the webbing loops provided for that purpose.)
DISASSEMBLY
To dismantle, execute all instructions in reverse order.
When disassembling the shed depress the spring-loaded bar to disengage the ratchet and open the ratchet handle completely to allow the webbing strap to pull through.
Store your shed in a cool, dry location between seasons to prolong the usable life of all components. Components are not equally durable and will require replacement over time at differing intervals.
PLEASE RE-READ ALL WARNINGS ON PAGE 2 OF THESE INSTRUCTIONS. SAVE THESE INSTRUCTIONS FOR FUTURE USE.
ADDITIONAL ANCHORING
Please note that when the instant shed is to be sited on soft ground an additional, or alternative method of anchoring may be required.
This can take the form of an additional Auger Securing Set GA2 (already supplied with CLARKE Instant Garages), which can add greater security for exposed, windy locations.
Alternatively the Easy Hook Anchoring System GHA2, can be used to provide greater security on soft ground. Available from your CLARKE dealer.

WARNING: SERIOUS INJURY TO PERSONS OR PROPERTY COULD RESULT IF THE SHED IS NOT SECURELY ANCHORED.
PARTS & SERVICE: 0208 988 7400
Parts Enquiries
[email protected]
Servicing & Technical Enquiries [email protected]
SALES: UK 01992 565333 or Export 00 44 (0)1992 565335
INTERNATIONAL Hymnal Street, Epping, Essex CM16 4LG
www.clarkeinternatunational.com
Parts & Service: 020 8988 7400
E-mail: [email protected] or
[email protected]
Note: The three connectors are different and individually numbered. When using them, ensure the welded socket for the cross rail is below the bend.
NOTE: Be sure that all tubes are fully inserted. Use a rubber mallet if necessary. When using the connectors, be sure to remove the protective caps first.






















