
MOBILITY SOLUTIONS, LLC
Halo Safety Ring or Halo Safety Wing with ALC Bracket System
Models: 77121-01, 77121-02, 77121-W1, 77121-W2
This manual outlines the pads, hardware, tools, specifications and instructions required to install the Halo Safety Ring or Halo Safety Wing with the ALC bracket system to a traditional bed (twin to queen sizes) with a standard box spring, mattress and metal L-frame.

Halo Safety Ring (77301 / 77302) Halo Safety Wing (77701 / 77702)



WARNING
Entrapment, serious injury or death can occur if the Halo Safety Ring or Halo Safety Wing is not properly installed and if users are not properly assessed and monitored. A user’s movement in bed can increase the risk of entrapment, injury or death from mattress compression or the creation of gap space.
Never install the Halo Safety Ring or Halo Safety Wing with ALC bracket system on any commercially available articulating beds, or on beds with wooden slats.
Ensure the mattress is the proper length and width per the bed frame manufacturer’s standard.
Measure, test and evaluate each bed system and user individually per state and federal guidelines. Variations in mattress thickness, size, density, etc. and a user’s movement in bed can increase the risk of injury or death from mattress compression or the creation of gap space.
Ensure the mattress remains in firm contact with the Halo Safety Ring or Halo Safety Wing bracket system on both sides of the bed after installation, and that detent pins are always engaged prior to use.
Never use the Halo Safety Ring or Halo Safety Wing for restraint purposes, or to transport or move a bed.
For further guidance on the risks of bed entrapment and the use of bed systems and bed accessories visit the FDA’s website.
Ensure You Have the Correct Device: Ring or Wing

The Halo Safety Ring is a bed mobility device designed to promote a user’s independence and movement, build strength and decrease skin breakdown. The Halo Safety Ring is not intended to prevent bed entrapment or a user from inadvertently rolling out of bed.
- Circular design with vertical mounting bar
- A locking mechanism to allow for rotation to assist users during transfers
- 1,000 lb. weight capacity
The Halo Safety Wing is a bed mobility device that when measured by the device approved by the FDA, it reliably eliminates the four most critical zones of bed entrapment. An assessment by medical professionals can determine if a user requires protection against these entrapment zones due to a decline in cognitive or physical abilities (diagnosed dementia, living in memory care facility etc.), and properly document the implementation of a Halo Safety Wing.
- Circular design with vertical mounting bar and additional wing bars that reliably eliminate the four most critical zones of bed entrapment
- A locking mechanism to allow for rotation to assist users during transfers
- 1,000 lb. weight capacity
Required Items
QTY Name
1-2 Halo Safety Ring or Halo Safety Wing
2 Rubber tube separators
2 L-frame mounting brackets
2 Threaded tube connecters, bolts attached
2 Floor plates and floor plate screws
2 Width extenders
2 Tool kit: 3/4 x 10in dowel and 8in detent pin remover
1 Hardware kit
1 9/16in open-ended wrench (not included)
1 1/2in closed-ended wrench (not included)
1 1/2in extension socket with ratchet wrench (not included)
Included in Hardware Kit
QTY Name
1 Adjustable turnbuckle
2 Tension bar
2 Bolts (5/16in, zinc-plated)
2 Washers (5/16in, zinc-plated)
2 Lock washers (5/16in, zinc)
2 Nuts (5/16in, zinc)
2 Detent pins

Instructions:
1. Remove the bedding, mattress and any existing hardware from the bed’s metal L-frame. Place a lock washer on the floor plate screw and put it through the floor plate – convex side up. Attach the threaded tube connector to the floor plate screw and floor plate, then tighten with a ratchet wrench. Repeat with the other side.


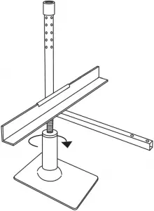
2. Position both floor plates so the L-frame mounting brackets will lay centered between the user’s shoulder and wrist. Lift the bed frame off the ground and angle one L-frame mounting bracket to securely clasp the lip on and around the L-frame. Repeat on the other side.

3. Adjust the height of the bracket system to accommodate the height of the bed frame by rotating the threaded tube connector until the floor plate connects with the floor on both sides.

4. Slide a width extender over each L-frame mounting bracket Loosen the turnbuckle on both sides leaving about 1.5″ of thread on each side, then adjust the width extenders so the turnbuckle’s circular ends lay over the innermost holes.

5. Place a turnbuckle bolt through a washer and pass it through one of the turnbuckle’s circular ends and the corresponding width extender hole. Repeat with hardware on the other side. Place the tension bar beneath the width extender and through each turnbuckle bolt, then secure loosely with a lock washer and nut on each side.
Adjustable turnbuckle

6. Place a bolt with a lock washer through the hole closest to the metal L-frame revealed in each width extender. Slowly and evenly tighten the hardware to secure each width extender.

7. Tighten the turnbuckle with a 9/16″ open-ended wrench. Then, tighten all hardware equally and fully.

8. Return the box spring and mattress to the L-frame.
9. Squeeze the detent pin inside the neck of the Halo Safety Ring or Halo Safety Wing with pins facing holes. Push the pin with the plastic dowel to the desired position.

To remove the detent pin, insert the detent pin remover. With your other hand, squeeze the detent pin to disengage it, then turn the detent pin remover to allow the pin to slide gently along the solid area past each hole.

10. Slide the Halo Safety Ring or Halo Safety Wing through the rubber tube separator and engage the detent pin to lock it into position. Repeat if applicable on the opposite side.


Test the various entrapment zones. The Halo Safety Ring and Halo Safety Wing are adjustable in height to accommodate variations in mattress thickness and compression. If the device fails a test for Zone 4, adjust the height by moving the detent pin per the instructions and test again.
Rotating the Halo Safety Ring or Halo Safety Wing
WARNING 
- Detent pins must be engaged prior to use.
- The Halo Safety Ring and Halo Safety Wing must be perpendicular to the bed to assist a user out of a chair.
- Failure to return the Halo Safety Ring or Halo Safety Wing to the parallel position when the bed is in use can cause an entrapment hazard.

- Squeeze the detent pin to disengage it. Grasp the top of the Halo Safety Ring or Halo Safety Wing. Rotate the device 90 degrees.
- Ensure detent pins re-engage prior to use.
- Return the Halo Safety Ring or Halo Safety Wing to the original position (parallel with the bed) with detent pins engaged.

















