
OWNER’S MANUAL Model: 1620E1977000-1
Please carefully read this entire manual before operating your new indoor cycle.
ATTENTION: Before returning your Sole product to any retailer, or if you require any assistance with assembly or I V , technical support please call us first for assistance at 1-888-707-1880. Thank you for your Sole purchase.
THIS INDOOR CYCLE IS INTENDED FOR RESIDENTIAL USE ONLY AND IS WARRANTED FOR THIS APPLICATION. ANY OTHER APPLICATION VOIDS THIS WARRANTY IN ITS ENTIRETY.
CONGRATULATIONS ON YOUR NEW INDOOR CYCLE TRAINER, AND WELCOME TO THE SOLE FAMILY!
Thank you for your purchase of this quality Sole indoor cycle from Dyaco Canada Inc. Your new indoor cycle has been manufactured by one of the leading fitness manufacturers in the world and is backed by one of the most comprehensive warranties available. Dyaco Canada Inc. will do all we can to make your ownership experience as pleasant as possible for many years to come.
If you have any questions about your new Sole product or questions about the warranty, contact Dyaco Canada Inc.
at 1-888-707-1880.
Please take a moment at this time to record below the name of the dealer, their telephone number, and the date of purchase for easy contact in the future. We appreciate your confidence in SOLE, and we will always remember that you are the reason that we are in business. Please go to www.dyaco.ca/warranty.html and complete the online
warranty registration.
Yours in Health,
Dyaco Canada Inc.
Name of Dealer__________________
Telephone Number of Dealer________
Purchase Date____________________
PRODUCT REGISTRATION
RECORD YOUR SERIAL NUMBER
Please record the Serial Number of this fitness product in the space provided below.
Serial Number_____________

IMPORTANT SAFETY INSTRUCTIONS
WARNING – Read all instructions before using this equipment.
- Use this equipment only for its intended use as described in this manual. Do not attempt to ride this bike at high pedal speeds until you have ridden the bike for some time and are comfortable riding at slower pedal speeds.
- The bike is NOT equipped with a freewheel system which means that when the flywheel is in motion, the pedals will be in motion. Do not attempt to stop the unit by applying backward pressure to pedals while they are turning, as knee injury may occur. Do not attempt to remove your feet from pedals while they are moving.
- Wait for the flywheel to coast to a stop before dismounting the bike. If you want to stop the flywheel, push down on the brake knob.
- Serious injury or death may occur from over-training. Consult a medical doctor or qualified fitness instructor to determine an exercise program appropriate for your level of fitness.
- Do not attempt to turn the pedal cranks by hand. Do not touch any driving mechanism while it is in motion as possible injury could occur.
- In a home setting, keep children away from the bike when it is not in use. Keep children and pets away from the unit while it is in use.
- Do not attempt to perform dip movements on handlebars.
- Never drop or insert any object into any opening of the bike.
- Only use the bike on a stable, level floor.
- Follow instructions for safe use of the equipment, including proper seat position, handlebar position, and use of foot positioning system of pedals. Do not attempt to pull up the handlebar post and seat post over the ‘MAX.’ graduation.
- For safe operation, allow for at least 1foot (30cm) of free space to either side of the unit and Two feet (60cm) of free space to the rear of the unit.
- Regularly examine the bike for damage and wear. Inoperable components should be replaced immediately, or the equipment should not be used until it is repaired.
- Failure to follow all guidelines may compromise the effectiveness of the exercise experience, expose yourself (and possibly others) to injury, and reduce the longevity of the equipment.
SAVE THESE INSTRUCTIONS – THINK SAFETY!
IMPORTANT OPERATION INSTRUCTIONS
WARNING – AS THE OWNER OF THIS EXERCISE EQUIPMENT, YOU SHOULD INSIST THAT ALL USERS FOLLOW THE SAME GUIDELINES: YOU SHOULD MAKE THIS MANUAL AVAILABLE TO ALL USERS.
- Obtain a complete physical examination from your medical doctor and enlist a health/ fitness professional’s aid in developing an exercise program suitable for your current health status.
- When working out for the first time, start out slowly for a minimum of five minutes. After your muscles are warmed up, gradually increase the pedalling speed and/or resistance.
- The speed and duration of your exercise program should always be subject to how you feel.
Never permit peer pressure to exceed your personal judgment while exercising. - Overweight or severely de-conditioned individuals should be particularly cautious when using the equipment for the first time. Even though such individuals may not have histories of serious physical problems, they may perceive the exercise to be far less intense than it really is, resulting in the possibility of overexertion or injury.
- Proper installation and regular maintenance are required to ensure the user’s safety.
Maintenance is the sole responsibility of the owner.
SB700 ASSEMBLY PACK CHECKLIST
- HARDWARE STEP 1

- HARDWARE STEP 2

- HARDWARE STEP 4

- HARDWARE STEP 6

ASSEMBLY TOOLS

SB700 ASSEMBLY INSTRUCTIONS
PRE-ASSEMBLY
- Using a razor knife (Box Cutter), cut the outside, bottom, edge of the box along the dotted line. Lift Box over the unit and unpack.
- Carefully remove all parts from the carton and inspect for any damage or missing parts. If damaged parts are found or parts are missing, contact your dealer immediately.
- Locate the hardware package. Remove the tools first. Remove the hardware for each step as needed to avoid confusion. The numbers in the instructions that are in parenthesis (#) are the item number from the assembly drawing for reference.
STABILIZER TUBES

HARDWARE STEP 1
#82. 3/8″ Nut (4 pcs)
#81. 3/8″ x 3-1/2″
Button Head Socket
Bolt (4 pcs)
#83. 3/8″ x 23mm
Curved Washer (4 pcs)
- Attach the Front (2) (stabilizer with the wheels mounted at the bottom of the tube) & Rear stabilizer (3) tubes by inserting two Button Head Socket Bolts (81) through each tube. Fasten two Curved Washers (83) and two Nuts (82) on each tube using the wrench (85) provided.
REAR STABILIZER COVER

HARDWARE STEP 2
#91. M5 x 10mm
Screw (2 pcs)
- Attach the Rear Stabilizer cover (59) with two Screws (91). Tighten using the Combination M5 Allen Wrench & Phillips Head Screwdriver (86).
CONSOLE

Sole Indoor Cycling Console Battery Installation:
- Remove the battery cover from the back of the computer.
- Insert 2 AAA batteries into the battery compartment and reinstall the battery cover.
- When the battery’s working voltage is too low, The “Low battery” indicator will show up on the console display, indicating it is time to change the batteries.
Speed Sensor Transmitter Battery Installation
- Remove the battery cover from the transmitter.
- Install 2 AAA batteries in the battery compartment and reinstall the battery cover.
- When new batteries are installed in the transmitter or console, you must perform the synchronizing procedure below for the console to work properly
Synchronizing the transmitter to the console:
After installing the batteries, and before attaching the console and transmitter to the bike, you must synchronize the two, so they can ‘talk’ to each other.
- Press and hold the two keys on the front of the console for about 3 seconds until the display shows ID – –
- Now press and hold the blue button on the transmitter for 3 seconds and release. The console display should show ID 0. NOTE: You must press the blue button within 10 seconds after the console is showing ID – – otherwise, the console will show: ID ER. If the console shows this error, then restart the procedure again.
- It may be necessary to remove and reinstall the batteries in both the console and transmitter if you continue to receive an error.
Console Installation:
- Install the mounting clamp (2) to the back of the console (1) with the clamp mounting screw (3).
- Install and slightly tighten the thumbscrew (4), then adjust the console angle for optimal visibility.
Once the console is adjusted, continue to tighten the screw until it is securely attached to the handlebar.
Transmitter Installation:
- Make sure to route the speed sensor wire behind the frame member. Plug the sensor wire into the transmitter as shown below
- Install the transmitter, at the angle shown below, onto the pre-installed Velcro strip located on the back of the chain cover. Make sure the sensor wire connection is at the top left when mounting the transmitter.
- Make sure the sensor wire is routed away from the spinning flywheel

HARDWARE STEP 4

HARDWARE STEP 4
#49. 5/16″ Split
Washer (4 pcs)
#48. 5/16″ x 16mm
Flat Washer (4 pcs)
#36. 5/16″ × 3/4″_” Button
Head Socket Bolt (4 pcs)
- Attach the handlebar (6) (make sure it is oriented as in the illustration) with four Button Head Socket Bolt (36), four Split Washers (49), and four Flat Washers (48). Tighten firmly using the Combination M5 Allen
Wrench & Phillips Head Screwdriver (86).
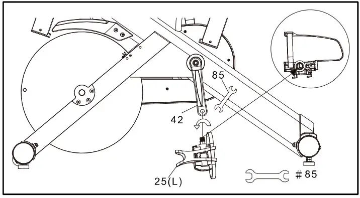
LEFT/RIGHT PEDALS


- Attach the Right and Left pedals to the appropriate crank. The pedals have an “R” and an “L” stamped on the end of the threaded area to distinguish them. Check the illustrations to make sure you are attaching each to the correct side. Note: the left side has left-hand threads; therefore, you will screw it on in a counterclockwise direction. Tighten each pedal as firmly as possible with the wrench (85) provided. If you hear a thumping sound when you are pedaling, this usually means one or both pedals are loose. You may need to retighten them after use.
TABLET HOLDER
HARDWARE STEP 5
#93. M5 × 12L_
Tapping Screw (2 pcs)
#101. 4 × 16L_
Sheet Metal Screw (3 pcs)
- Install the Tablet Holder (138) on the Handlebar (6) with 3pcs of Sheet Metal Screws (101) by using the M5_Combination M5
Allen Wrench & Phillips Head Screwdriver (86). - Install the Drink Bottle Holder (23) on the Main Frame (1) with 2 pcs of Tapping Screw (93) by using the M5 Allen Wrench & Phillips Head Screwdriver (86).
OPERATION OF YOUR INDOOR CYCLE
GETTING FAMILIAR WITH THE CONTROL PANEL
SB700 CONSOLE

PLEASE NOTE:
- The Sole Indoor Cycling Console system is designed as a sealed unit and not meant to be opened other than for the sole purpose of installing batteries. Any opened units will void the warranty.
- To clean the Sole Indoor Cycling Console, use a clean damp cloth. Use of any caustic cleaning solutions will void the warranty.
- The Sole Indoor Cycling Console system is NOT waterproof, only water-resistant. Any excessive exposure to water will void the warranty.
The Sole Indoor Cycling Console carton consists of a computer console and a speed sensor transmitter. The transmitter counts the number of times the magnet, which is mounted on the crank assembly, passes the sensor. The speed sensor transmitter will then send a coded signal to the console, which contains the measured value (Speed and Cadence).
CONSOLE OPERATION
TIME
Time is measured in min: sec. There is a time of day clock and a workout timer clock. The workout timwill count up or count down during pedaling. If pedaling stops, the time will stop counting after 3sec.
RPM/CADENCE
Cadence is the measurement of how fast the cranks are rotating in RPM. The approximate speed of the bike can also be displayed in MPH or KPH. In addition to MPH/KPH, the RPM section of the display has a bar graph that allows the rider to visually keep track of the approximate RPM.
DISTANCE
Distance is the measurement of the virtual distance traveled on the bike. This distance is based on the user riding a bike with tires that are the same size as the Sole group bike’s flywheel.
KCAL
Kcal is the approximation of calories burned during your workout. The calories are an estimate only.
HEART RATE
This is the approximation of heart rate detected from the chest strap (sold separately) during your workout.
Changing from metric to standard data or vice versa
Note: you will have to press the buttons quickly, or the screen will return to the prior setting.
- Press the left key repeatedly until workout DISTANCE is displayed
- Press and hold the right key down until workout TIME is displayed
- Press the left key 4x
- Press the right key one time
- Press the left key one time
- Press and hold the left key down until the switch is complete
QUICK START
When the console is in Power Saving Mode, hold down any key to wake up the console and go to the start-up screen, also called the “Quick Start” active state.

MODE SELECT
Press the left-hand key to select the SPEED, DIST, TIME or CLOCK at the bottom of the display.

RESET/HEART RATE ALARM SELECT
- Press the right-hand key to activate the heart rate (this will only register if you are wearing the chest strap, which is sold separately). If the alarm is
on, the alarm icon will flash, and a beep will sound to indicate that your heart rate is either above or below the selected target zone. - To clear exercise TIME, AVG SPEED, AVG PULSE, DISTANCE, and KCAL, press the left key until TIME is displayed, then press and hold the right
key until data is reset.

HEART RATE TARGET ZONES
- Press the left-hand key until ‘SPEED’ is displayed, then hold the right-hand key for 3 seconds. The TIME will be flashing; press the left-hand key to
select the heart rate target zone settings. - Press the right-hand key to increase the maximum heart rate limit. After setting the maximum heart rate, press the left-hand key to adjust the minimum heart rate limit.

HEART RATE TARGET ZONES
- GENDER: Press the left-hand key until SPEED is displayed, then press the right-hand key for 3 seconds. The TIME will be flashing; press the left-hand key until the gender icon is blinking. Press the right-hand key to select gender.
- Press the left-hand key to set the measuring value for weight (Lb or Kg); press the right-hand key to select.
- BODYWEIGHT: Press the left-hand key to set the body weight. Press the right-hand key to increase the weight. Press and hold the right-hand key for rapid advance.

USING HEART RATE TRANSMITTER (optional)
How to wear your wireless chest strap transmitter:
- Attach the transmitter to the elastic strap using the locking parts.

- Adjust the strap as tightly as possible as long as the strap is not too tight to remain comfortable.
- Position the transmitter with the SOLE logo centered in the middle of your body facing away from your chest (some people must position the transmitter slightly left of center). Attach the final end of the elastic strap by inserting the round end and, using the locking parts, secure the transmitter and strap around your chest.

- Position the transmitter immediately below the pectoral muscles.
- Sweat is the best conductor to measure very minute heartbeat electrical signals.
- However, plain water can also be used to pre-wet the electrodes (2 ribbed oval areas on the reverse side of the belt and both sides of the transmitter). It’s also recommended that you wear the transmitter strap a few minutes before your workout. Because of body chemistry, some users have a more difficult time achieving a strong, steady signal at the beginning. After “warming up,” this problem lessens. As noted, wearing clothing over the transmitter/strap doesn’t affect performance.
- Your workout must be within range – the distance between transmitter/receiver – to achieve a strong, steady signal. The length of range may vary somewhat but generally stay close enough to the console to maintain good, strong, reliable readings. Wearing the transmitter immediately against bare skin assures you of proper operation. If you wish, you may wear the transmitter over a shirt. To do so, moisten the areas of the shirt that the electrodes will rest upon.
Note: The transmitter is automatically activated when it detects activity from the user’s heart. Additionally, it automatically deactivates when it does not receive any activity. Although the transmitter is water-resistant, moisture can have the effect of creating false signals, so you should take precautions to
completely dry the transmitter after use to prolong battery life (estimated transmitter battery life is 2500 hours). The replacement battery is Panasonic CR2032.
ERRATIC OPERATION
Caution! Do not use this treadmill for Heart Rate unless a steady, solid Actual Heart Rate value is being displayed. High, wild, random numbers being displayed indicate a problem.
Areas to look for interference that may cause erratic heart rate:
- Microwave ovens, TVs, small appliances, etc.
- Fluorescent lights.
- Some household security systems.
- Perimeter fence for a pet.
- Some people have problems with the transmitter picking up a signal from their skin. If you have problems, try wearing the transmitter upside down. Normally the transmitter will be oriented, so the SOLE logo is right-side up.
- The antenna that picks up your heart rate is very sensitive. If there is an outside noise source, turning the whole machine 90 degrees may de-tune the interference.
- Loos e treadmill console or bolts in the upright tube.
- Another Individual wearing a transmitter within 3′ of your machine’s console.
If you continue to experience problems, contact your dealer.
FIRST TIME USER INSTRUCTIONS
ADJUSTING THE BIKE FOR A PROPER FIT
Take some time to learn how to properly adjust the bike to your body; it will make your workouts more pleasant and a safer experience too. Riding the bike when it is incorrectly adjusted can result in discomfort and increase your risk of injury.
ADJUSTMENT OF SEAT POSITION
Seat Height Adjustment
- Standing next to the bike, adjust the seat until it is about hip height.
- Rotate the crank arms until the pedals are in the vertical position: 12 and 6 o’clock.
- Place your foot in the toe cage of the pedal closest to the floor and mount the bike.
Ensure that the ball of your foot is over the center of the pedal. Your leg should be slightly bent at the knee, about 5 degrees. - If your leg is too straight or your foot cannot touch the pedal, you will need to lower the seat height. If your leg is bent too much, you will need to raise
the seat height. - Dismount the bike. Then loosen the quick release lever on the seat post and adjust up or down as necessary.
- When the seat is in the desired position, tighten the quick release to secure the seat post.
- Note the final position mark on the seat post for future reference.

Seat Forward/Aft Adjustment
- Sit on the bike with the crank arms in the 3 and 9 o’clock positions. A proper forward/aft position (for road bike training) of the seat is achieved when the
A small bump at the top of your shin is above the pedal axle. - Dismount the bike. Loosen the quick release under the seat and slide the seat forward or backward as desired; tighten the quick-release lever.

HANDLEBAR ADJUSTMENT
Handlebar Height Adjustment
- The handlebar height is a matter of preference. Start with a handlebar height that is the same as the seat’s height. Adjusting the handlebar higher will give
the rider a more upright position; lower will result in a more crouched position. - Raise or lower the handlebar by loosening the quick release on the handlebar post and adjust by sliding the handlebar mount up or down as desired. Then tighten the quick release to secure the handlebar post. Note the final position mark on the handlebar post for future reference.

Adjustment of Handlebar’s Forward/Aft Position
- Loosen the quick release under the handlebar and slide the handlebar forward or backward as desired. A suitable forward/aft position should allow the rider to comfortably grasp the handlebar with a slight bend at the elbow.
- Tighten the quick release to secure the handlebar assembly.
DUAL FUNCTION PEDAL
ADJUSTING THE PEDAL STRAPS
Place your feet in between the aluminum surface of the pedal and the nylon foot strap that wraps around it. If the opening is too narrow, depress the spring-loaded clasp with one hand and pull on the nylon strap with the other to increase the opening area. If it is too loose or to tighten the strap, depress the spring-loaded clasp, then pull on the open end of the nylon strap until the strap is snug around each foot.

BASIC OPERATION
Now that you have established a proper riding position, take a few minutes to ride the bike and determine that your position is comfortable. Start pedaling at a slow pace with your toes and knees pointed directly forward. Hold the handlebar lightly and in a position that allows your shoulders and upper body to relax. Pedal easily, at a low resistance until you feel confident that you could ride in that position for the duration of your workout.
WARNING!
IF AT ANY TIME DURING YOUR WORKOUT, YOU FEEL CHEST PAIN, EXPERIENCE SEVERE MUSCULAR DISCOMFORT, FEEL FAINT, OR ARE SHORT OF BREATH, STOP EXERCISING AT ONCE. IF THE CONDITION PERSISTS, YOU SHOULD CONSULT YOUR MEDICAL DOCTOR IMMEDIATELY.
- Pedaling resistance is controlled by the tension knob. Resistance can be changed at any time by turning the tension knob: clockwise for more resistance; counterclockwise for less resistance.
- To apply the brake, press down on the tension knob.
- Before dismounting, apply the brake to stop the flywheel or increase resistance and let the flywheel come to a stop.
TROUBLESHOOTING
No Display on Console
- Hold down any key to bring the console to “Quick Start” mode.
- Ensure that the batteries are correctly installed in the console and transmitter. If they are, install for batteries.
No Heart Rate signal displayed (chest strap transmitter sold separately)
- Ensure that your chest strap is worn correctly and that there is moisture under the electrodes.
- Relocate the bike away from any equipment that could potentially interrupt the radio frequency signal, such as a DVD player or television, etc.
Cadence number jumps high or low
- Separate bikes that may be set to the same console code and are cross-talking or re-synchronize transmitter and console.
- Relocate the bike to a different part of the room, away from any RF interference areas.
Heart Rate signal gets interrupted or drops out (chest strap transmitter sold separately)
- Ensure that there is a minimum distance of 36 inches between bikes.
- Verify that your chest strap is secure and that the electrodes are making contact with your chest times.
CAUTION!!
EXTERNAL INTERFERENCE MAY BE CAUSED BY OTHER ELECTRONIC DEVICES, SUCH AS NEARBY TELEVISIONS, STEREO EQUIPMENT, SPEAKERS, ELECTRICAL WIRE CABLING, ETC. IF YOU EXPERIENCE DISTURBANCES IN THE CONSOLE DISPLAY, TRY MOVING YOUR BIKE(S) AWAY FROM POTENTIAL RF INTERFERENCE AREAS.
MAINTENANCE GUIDELINES
MAINTENANCE SCHEDULE
| PART | RECOMMENDED ACTION | FREQUENCY | CLEANER | LUBRICANT |
| Pedals | Ensure that pedals are tight in crank arms; that all screws on pedals are tight; and that the pedal straps are not frayed | Before each use | N/A | N/A |
| Frame | Wipe down by using a soft, damp clean cloth | Daily | Water | N/A |
| Flywheel | Wipe down by spraying on a rag and applying a light coat to sides of the flywheel | Weekly | WD-40 spray. | N/A |
| Brake Pad | Inspect for excessive wear or squealing | Weekly | N/A | Silicone Spray |
- Do not service internal parts of pedals. If they are found to be worn internally, we recommend replacing the pedal.
- Use of lubricants or cleaning solutions other than those so specified will result in diminished performance and a shorter life span for that part.
EXPLODED VIEW DIAGRAM

PARTS LIST
| Key | Part | Part Description | City |
| 1 | 9770001 | Main Frame | 1 |
| 2 | 9770002 | 7ront Stabilizer | 1 |
| 3 | 9770003 | ‘ear Stabilizer | 1 |
| 4 | 9770004 | Handlebar Post | 1 |
| 5 | 9770005 | Seat Post | 1 |
| 6 | 9770006 | Handlebar | 1 |
| 7 | 9770007 | Sliding Seat Mount | 1 |
| 8 | 9770008 | Sliding Handlebar Mount | 1 |
| 9 | 9770009 | Brake Pad Bracket | 1 |
| 10 | 9770010 | drake Pad • Wool Felt | 1 |
| 11 | 9770011 | Bushing | 1 |
| 12 | 9770012 | tit | 1 |
| 14 | 9770014 | Spring | 2 |
| 15 | 9770015 | M10 x P125 x 3T_Luck Nut | 2 |
| 16 | 9770016 | 3rake Tension Knob | 1 |
| 18 | 9770018 | 1A6 X 15mm Phillips Head Screw | 4 |
| 19 | 9770019 | 3 x 40nVm_Quick Release lever | 2 |
| 20 | 9770020 | 3 x 25nVm_Quick Release Lever | 2 |
| 21 | 9770021 | Aluminum Locking V•Blodcs | 4 |
| 22 | 9770022 | 5/16″ x 35 x 3.0T_Flat Washer | 1 |
| 23 | 9770023 | Drink Bottle Holder | 1 |
| 25 | 9770025 | Pedal Set ( 25L25R ) | 1 |
| 26 | 9770026 | Anti-Rotation Washer | 1 |
| 27 | 9770027 | Seat | 1 |
| 29 | 9770029 | 5 x 16m/m_Tapping Screw | 2 |
| 30 | 9770030 | 35 x 12m/m_Sheet Metal Screw | 3 |
| 31 | 9770031 | flywheel | 1 |
| 32 | 9770032 | Bearing Housing | 2 |
| 33 | 9770033 | 7lywheel Axle | 1 |
| 34 | 9770034 | Woodruff Key | 1 |
| 35 | 9770035 | flywheel Pulley | 1 |
| 36 | 9770036 | 5/16′ x 3/4″_Button Head Socket Bolt | 5 |
| 37 | 9770037 | Ø 5/16- x 20 x 3.0T_Flat Washer | 1 |
| 38 | 9770038 | 5/16″×3/4″_Button Head Socket Bolt | 6 |
| 39 | 9770039 | M6 x 10L Flat Phillips Head Screw | 6 |
| 40 | 9770040 | Belt | 1 |
| 41 | 9770041 | Drive Pulley | 1 |
| 42 | 9770042 | Frank Arm ( L ) | 1 |
| 43 | 9770043 | Frank Arm ( R ) | 1 |
| 44 | 9770044 | Frank Arm Dust Cap | 2 |
| 45 | 9770045 | Frank Axle | 1 |
| 48 | 9770048 | Ø 5/16′ x 16 x IT Flat Washer | 4 |
| 49 | 9770049 | 5/16″ x 15T Split Washer | 9 |
| 50 | 9770050 | Transportation Wheel | 2 |
| 53 | 9770053 | Rubber Foot | 2 |
| 55 | 9770055 | Stabilizer End Cap | 4 |
| 56 | 9770056 | and Cap, Eye Tube | 2 |
| 57 | 9770057 | Jlastic Slide Insert. Eye Tube | 2 |
| 58 | 9770058 | 3ottom End Cap. Eye Tube | 2 |
| 59 | 9770059 | Rear Stabilizer Cover | 1 |
| 60 | 9770060 | Chain Cover ( Outer ) | 1 |
| 61 | 9770061 | Chain Cover ( Inner ) | 1 |
| 62 | 9770062 | 7lywheel Fender | 1 |
| 63 | 9770063 | ‘ulley Cover | 1 |
| 64 | 9770064 | 5004 Bearing (SO) | 2 |
| 65 | 9770065 | 5203_Bearing | 2 |
| 66 | 9770066 | 5004_Bearing (TMT) | 2 |
| 67 | 9770067 | 017_C Ring | 1 |
| 68 | 9770068 | 020_C Ring | 3 |
| 69 | 9770069 | 1/4″ x 3″ Hex Head Bolt | 1 |
| 70 | 9770070 | 1/4″ x ST Hex Head Bolt | 1 |
| 71 | 9770071 | 1/4″ x 5.5T_Nyloc Nut | 1 |
| 73 | 9770073 | 016.7 x 2.5T_Star Washer | 1 |
| 74 | 9770074 | dler Axle | 1 |
| 75 | 9770075 | dler Adjustment Carriage Bolt | 1 |
| 76 | 9770076-1 | Console Assembly (Optional) | 1 |
| 77 | 9770077 | loam Stop. Handlebar Eye Tube | 1 |
| 78 | 9770078 | 05/16″ x 23 x 2.0T Flat Washer | 1 |
| 80 | 9770080 | M10 x P1.25 x 10T_Nut | 2 |
| 81 | 9770081 | 3/8″ x 3-1/2″ Button Head Socket Bolt | 4 |
| 82 | 9770082 | 3/8″ x UNC16 x 12.5T_Cap Nut | 4 |
| 83 | 9770083 | 3/8″ x 23 x 1.5T Curved Washer | 4 |
| 85 | 9770085 | 14/15m/m Wrench | 1 |
| 86 | 9770086 ‘Ms | MS_Combination MS Allen Wrench & Phillips Head Screwdriver | 1 |
| 87 | 9770087 | Drink Bottle (Optional) | 1 |
| 88 | 9770088 | 5/16″ x 5/8″ Screw | S |
| 89 | 9770089 | M5 x 10m/m Socket Head Cap Screw | 2 |
| 90 | 9770090 | 05 x 10m/m Tapping Screw | 4 |
| 91 | 9770091 | M5 x 10m/m Phillips Head Screw | 2 |
| 92 | 9770092 | M5 Speed Nut Clip | 2 |
| 93 | 9770093 | M5 x 12m/m Tapping Screw | 11 |
| 94 | 9770094 | Spring | 1 |
| 96 | 9770096 | Safety Sleeve | 1 |
| 97 | 9770097 | 5/16″ x 1″ Button Head Socket Bolt | 1 |
| 98 | 9770098 | Sleeve Bushing | 1 |
| 99 | 9770099 | 3/8″ x 3/4″ Button Head Socket Bolt | 2 |
| 100 | 97700100 | 3/8″ x 21 x 2T Flat Washer | 2 |
| 101 | 97700101 | 4 x 16L Sheet Metal Screw | 3 |
| 102 | 97700102 | 3.5 x 12L Sheet Metal Screw | 4 |
| 136 | 97700136 | Rubber Pad(017.5×023.5×0.3T) | 1 |
| 138 | 97700138 | Tablet Holder (Bottom) | 1 |
| 138-1 | 97700138-1 | Tablet Holder Adjustable Clip | 1 |
| 138-2 | 97700138-2 | Tablet Holder (Front) | 1 |
MANUFACTURER’S LIMITED WARRANTY
Dyaco Canada Inc. warrants all its fitness bike parts for a period of time listed below from the date of retail sale, as determined by sale receipt. Dyaco Canada nc.’s responsibilities include providing new or remanufactured parts at Dyaco Canada Inc.’s option and technical support to our independent dealers and servicing organizations. In the absence of a dealer or service organization, these warranties will be administered by Dyaco Canada Inc. directly to a consumer. The residential warranty period applies to the following components:
Frame Lifetime
Parts 3 years
Labour 1 year
This warranty applies only to products in ordinary household use, and the consumer is responsible for the items listed below:
- The warranty registration can be completed online: Go to www.dyaco.ca/warranty.html and complete the online warranty registration
- Proper use of the fitness bike in accordance with the instructions provided in this manual.
- Proper installation in accordance with instructions provided with the fitness bike.
- Expenses for making the fitness bike accessible for servicing, including any item that was not part of the fitness bike at the time it was shipped from the factory.
- Damages to the fitness bike finish during shipping, installation or following installation.
- Routine maintenance of this unit as specified in this manual.
EXCLUSIONS
This warranty does not cover the following:
- CONSEQUENTIAL, COLLATERAL, OR INCIDENTAL DAMAGES SUCH AS PROPERTY DAMAGE AND INCIDENTAL EXPENSES RESULTING
FROM ANY BREACH OF THIS WRITTEN OR ANY IMPLIED WARRANTY.
Note: Some areas do not allow the exclusion or limitation of incidental or consequential damages, so this limitation or exclusion may not
apply to you. - Service call reimbursement to the consumer. Service call reimbursement to the dealer that does not involve malfunction or defects in workmanship or material, for units that are beyond the warranty period, for units that are beyond the service call reimbursement period, for fitness bike not requiring component replacement, or fitness bike not in ordinary household use.
- Damages caused by services performed by persons other than authorized Dyaco Canada Inc. service companies; use of parts other than original Dyaco Canada Inc. parts; or external causes such as corrosion, discoloration of paint or plastic, alterations, modifications, abuse, misuse, accident, improper maintenance, or acts of God.
- Products with original serial numbers that have been removed or altered.
- Products that have been: sold, transferred, bartered, or given to a third party.
- Products that do not have a warranty registration card on file at Dyaco Canada Inc. Dyaco Canada Inc. reserves the right to request proof of purchase if no warranty record exists for the product.
- THIS WARRANTY IS EXPRESSLY IN LIEU OF ALL OTHER WARRANTIES EXPRESSED OR IMPLIED, INCLUDING THE WARRANTIES OF
MERCHANTABILITY AND/OR FITNESS FOR A PARTICULAR PURPOSE. - Product used in any environment other than a residential setting.
- Warranties outside of Canada may vary. Please contact your local dealer or Dyaco Canada for details.
SERVICE
The sales receipt establishes the labor warranty period should service be required. If service is performed, it is in your best interest to obtain and keep all receipts. This written warranty gives you specific legal rights. Service under this warranty must be obtained by following these steps, in order:
- Contact your selling authorized SOLE dealer or Dyaco Canada.
- If you have any questions about your new product or questions about the warranty, contact Dyaco Canada Inc. at 1-888-707-1880.
- If no local service is available, Dyaco Canada Inc. will repair or replace the parts, at Dyaco Canada Inc.’s option, within the warranty period at no charge for parts. All transportation costs, both to our factory and upon return to the owner, are the owner’s responsibility.
- The owner is responsible for adequate packaging upon return to Dyaco Canada Inc. Dyaco Canada Inc. is not responsible for damages that occur during shipping. Make all freight damage claims with the appropriate freight carrier. DO NOT SHIP ANY UNIT TO OUR
FACTORY WITHOUT A RETURN AUTHORIZATION NUMBER. All units arriving without a return authorization number will be refused. - For any further information, or to contact our service department by mail, send your correspondence to:
Dyaco Canada Inc.
5955 Don Murie Street
Niagara Falls, ON
L2G 0A9
Product features or specifications as described or illustrated are subject to change without notice.
All warranties are made by Dyaco Canada Inc.
Customer Service 1-888-707-1880
Email: [email protected]

Please visit us online for infort by Dyaco Canada Inc.

spiritfitness.ca
xterrafitness.ca
dyaco.ca/UFC/UFC-home.html
solefitness.ca
dyaco.ca/products/everlast.html
spiritfitness.ca/johnnyg.html
trainorsports.ca

























