FW-500IC Fitness Indoor Cycle
User Manual
SAFETY GUIDELINES
Regular maintenance of the bike should be performed and is essential to keep your Indoor Cycle in top operating condition. Without preventative maintenance, normal wear and tear may cause cumulative effects, such as misalignment or early replacement of parts.
- Once assembled, please inspect to make sure that all hardware parts such as bolts, nuts and washers are positioned and tightened correctly.
- Be sure to wear shoes when exercising and tighten the pedal cage and straps. When using SPD shoes, make sure that the buckle is fully inserted. Do not remove your foot from the pedal when the flywheel is spinning, and do not get off the bike until the flywheel, pedals and cranks stop moving completely.
- We recommend lubricating all moving parts monthly with silicon lubricant.
- Water bottle cages are easily damaged when over-sized bottles are forced to fit within them. Checking and tightening the screws will help prevent damage, but never force a bottle into the holder as it could lead to breakage.
- Wipe down the bike at the end of each use. Consider using mildly alkaline cleaning or neutral cleaning liquids, never use oil-based cleaning liquids when wiping down the bike, to avoid surface damage.
- Please keep children away while riding. The bike is designed for adults and is not suitable for children.
- If you have any pain or tightness in your chest, an irregular heartbeat, shortness of breath, feel faint or have any discomfort while you exercise, STOP IMMEDIATELY, and seek medical assistance.
- Do not place fingers or any other objects into moving parts of the Indoor Cycle. Do not wear loose clothes while using this or any piece of fitness equipment.
- Before starting any exercise program, consult with your physician first. He or she can help establish the exercise frequency, time and intensity appropriate for your particular age and condition.
- After exercising, please turn the adjustment control knob clockwise (+) to increase tension so the pedals will not rotate freely and possibly hurt a passerby or the next user.
- This Indoor Cycle has passed the standard test of EN 957-1:2005 and EN 957-10:2005, suitable for home use. The max user weight should be within 120 kg.
EXPLODED VIEW

PARTS LIST
| Part No. | Part Name | Specification | QTY |
| 1 | Main Frame | 1 | |
| 2 | Seat Post | 1 | |
| 3 | Handlebar Post | 1 | |
| 4 | Rear Foot Tube | 1 | |
| 5 | Front Foot Tube | 1 | |
| 6 | Seat Slider | 1 | |
| 7 | Handlebar | 1 | |
| 8 | Washer | 030’010.5’4T | 1 |
| 9 | Seat Horizontal Adjust Knob | M10.052 | 1 |
| 10 | Seat Post Plug | Match 25*50*1 .5T Flat Oval Tube | 2 |
| 11 | Seat | 1 | |
| 12 | PJ Belt Wheel | 0200×20(With magnet) | 1 |
| 13 | PJ Belt | 6PJ 50.5 inches | 1 |
| 14 | Axle | 020*144L | 1 |
| 15 | Distance Ring | 024*020.4*5T | 1 |
| 16 | Left Crank | 1 | |
| 17 | Right Crank | 1 | |
| 18 | Left Pedal | 1 | |
| 19 | Right Pedal | 1 | |
| 20 | Bearing | 6004 i Black Plastic Shell ) | 2 |
| 21 | C-Shape Spring | 20 | 1 |
| 22 | Spacer | External027*Intema1020.5*0.3T | 1 |
| 23 | Screw | M6’40L | 2 |
| 24 | Chain Cover A | 1 | |
| 25 | Chain Cover B | 1 | |
| 26 | Chain Cover B Gland | 1 | |
| 27 | Decorative Cover | 1 | |
| 28 | Phone Holder | 1 | |
| 29 | Left Sweat Cover | 1 | |
| 30 | Right Sweat Cover | 1 | |
| 31 | Small Chain Cover | 1 | |
| 32 | Flywheel | 0420x25Wx6.5KG | 1 |
| 33 | Flywheel Left Decorative Cover | 0386*060*2.5T | 1 |
| 34 | Flywheel Right Decorative Cover | 0386*060*2.5T | 1 |
| 35 | Flywheel Spindle | M10*P1.0139L | 1 |
| 36 | Flywheel Distance Sleeve | 014’010.2`19.5L | 1 |
| 37 | Flywheel Distance Sleeve | 014.010.2`50L | 1 |
| 38 | Bearing | 6000 ( Black Plastic Shell ) | 2 |
| 39 | Brake Knob | M8 | 1 |
| 40 | Brake Pole | 08`225L | 1 |
| 41 | Rubber Mat | ❑13`2T | 1 |
| 42 | Sleeve | 012*08.2`17L | 1 |
| 43 | Brake Pad Holder | 1 | |
| 44 | Circuit Board | 1 | |
| 45 | Magnet | D25.4*6.4T 4000 Gauss | 3 |
| 46 | Magnet Fix Plate | 1 | |
| 47 | Brake Tension Spring | 02*017*59L | 1 |
| 48 | Brake pad | 30*20*10T | 1 |
| 49 | Sensor Bar Fix Plate | 1 | |
| 50 | Circuit board Regulator | 2T | 1 |
| 51 | Button Battery | 1 | |
| 52 | Hexagon Socket Cap Screw | M8*10 8.8 Grade | 4 |
| 53 | Washer | External016*Internal08`2T | 4 |
| 54 | Hexagon Flat Head Screw | M10*16 8.8 Grade | 4 |
| 55 | Washer | External020*Intema1010.1*1.5T | 4 |
| 56 | Cap Nut | M8 | 1 |
| 57 | Hexagon Thin Nut | M10*1.0*4T | 3 |
| 58 | Hexagon Flange Nut | M10*P1.25`8T 8.8 Grade | 2 |
| 59 | Hexagon Flange Nut | M10*1.0. 8.8 Grade | 2 |
| 60 | Hex Nut | M10`8T | 4 |
| 61 | Base Leveler | M10 | 4 |
| 62 | Riveted hexagon Nut | M10 | 4 |
| 63 | Cross Head Self-Tapping Locking Screw | M4*10 | 10 |
| 64 | Cross Flat Head Self-Tapping Screw | ST4.0*15 | 7 |
| 65 | Cross Recessed Countersunk Head Screw | M5*10 ( Head diameter09.3 ) | 2 |
| 66 | Hexagon Flat Head Screw | M6`12 | 1 |
| 67 | Brake Sleeve | 916*09*33L | 1 |
| 68 | Seat Vertical Adjust Knob | M16*P1.5 | 1 |
| 69 | Front Sleeve | Flat Oval 30`70`1.5T—Flat Oval 20*60`148L | 2 |
| 70 | L-Shape Handle | 3 | |
| 71 | Bottom Sensor Wire | 1 | |
| 72 | Middle Sensor Wire | 2 | |
| 73 | Carriage Screw | M10*45 Thread Length -15 | 1 |
| 74 | Handlebar Foam Cover | 1 | |
| 75 | Handlebar Plug | 2 | |
| 76 | Handlebar Fix Plate | 4T | 1 |
| 77 | Crosshead Self-tapping Tail Screw | ST4*11L | 6 |
| 78 | Transit Wheel | 2 | |
| 79 | Hexagon Flat Head Screw | M8’35 | 2 |
| 80 | Nylon Nut | M8 | 2 |
| 81 | Nylon Nut | M6 | 2 |
| 82 | Washer | p6x916x2T | 2 |
| 83 | Cross Head Self-Tapping Screw – small head | ST4*11 | 1 |
| 84 | Hexagon Bolt | M6x16 | 3 |
| 85 | Hexagon Flange Nut | M6 | 3 |
| 86 | Right Crank Decorative Cover | 1 | |
| 87 | Left Crank Decorative Cover | 1 | |
| 88 | Hexagon Flat Head Screw | M6’12 | 1 |
| 89 | Computer Holder | 1 | |
| 90 | Computer | 1 | |
| 91 | Hand Pulse Sensor Pad | 2 | |
| 92 | Cross Self-tapping Screw | ST3.8″20 | 2 |
| 93 | Cross Countersunk Head Screw | M5*10L | 2 |
| 94 | Hand Pulse Sensor Wire | 1 | |
Tools
| Tool Name | Tool No. | QTY |
| Open Spanner | A | 1 |
| Multi-functional Wrench | B | 1 |
| Internal Hexagonal Wrench | C | 1 |
ASSEMBLY INSTRUCTIONS

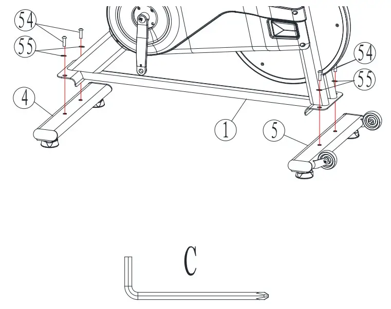
STEP 1: Assemble Front and Rear Foot Tubes
Attach the Rear Foot Tube to the Frame with Hexagon Flat Head Screw (54) and Washer (55). Next, attach the Front Foot Tube with the same way with the same hardware. 
STEP 2: Attach the Pedals
Gently insert the Left Pedal into the Left Crank, make sure the pedal is at a 90° Angle to the crank. Slowly rotate the Left Pedal (18) into the left crank using Open Spanner Wrench (A) towards the direction of Handlebar (counterclockwise). Note, the left side is designed with reverse threading so the pedal will not come loose during use. Make sure the pedal is firmly fixed.
Fix the Right Pedal (19) in the same with the same method. Make sure the rotate direction of Left or Right Pedal should both toward the direction of Handlebar (clockwise).
Pay attention to ensure the correct pedals are used on the correct side otherwise you risk damage to the pedals and cranks, and potentially could have the pedals fall off during exercise. 
STEP 3: Attach the Seat
Slide the Seat post (2) into the Frame (1) and tighten it with Seat Vertical Adjust Knob (68). Then connect the Seat Slider (6) to the Seat Post (2), tighten it with Seat Horizontal Adjust Knob (9) and Washer (8). Finally, attach the Seat (11) to the Seat Slider (6) by using Open Spanner Wrench (A).

STEP 4: Attach the Handlebar Post/Handlebar/Tablet Holder/Console
- Connect the Handlebar Post (3) to the Frame (1). Tighten the Handlebar Vertical Adjust Knob (97). Attach the Handlebar (7) to the Handlebar Post (3) with Hexagon Socket Cap Screw (52) and Washer (53).
- Attach the Phone Holder (28) to the Handlebar (7).
- Using Multi-functional Wrench (B) to attach the Computer Holder (89) to the Handlebar (7) and tighten it with Cross Countersunk Screw (93). Then attach the Computer (90) to the Computer Holder (89).

SAFETY CHECK, TRASPORT & MAINTENANCE
- Before using your Indoor Cycle, please kindly check that all the moving parts (screws, nuts, adjustment levers, etc.) are firmly tightened and secured. Please check your equipment regularly.
If any damaged parts are found, discontinue use, and replace them immediately. Do not exercise with your Indoor Cycle until relevant worn parts are repaired or replaced. - Please pay special attention to the most easily worn parts such as belts, cranks, seats, etc.
- Inspect the cranks and pedals before use, to ensure they are assembled and tightened correctly. If not, please repeat the installation steps before use.
- After each use, we advise to use furniture polish/wax or weak alkaline cleaner for routine maintenance. At minimum we suggest wipe down the cycle with a soft, dry cloth.
- To move the Indoor Cycle, stand in front of the bike, push down on the tips of the handlebars, and tilt the bike forward onto the wheels. Then push or pull the bike to the desired location
COMPUTER OPERATION
POWERING ON AND OFF
The computer turns on when any button is pressed or when you start cycling. The computer will turn off automatically after 4 minutes of no use.
MODE
The computer can be set to allow you to work towards a specific goal. Press the MODE button to cycle through the following stats:
SPEED/TIME/DISTANCE/CALORIES/TOTAL DISTANCE / PULSE
Note, to use the pulse function, a Polar® Compatible Chest Strap must be worn (sold separately)
CONGRATULATIONS
Thank you again and congratulations on your purchase of this FitWay Indoor Cycle. Should you
have any questions or concerns please contact us at:
[email protected]
Full Warranty details can be obtained at:
fitwayequip.com
-or-
By emailing us at: [email protected]
Enjoy your new Indoor Cycle. Your Fit, Your Way!


















