OSMOACTION
Charging Hub
User Guide
Disclaimer and Warning
By using this product, you hereby signify that you have read this disclaimer and warning carefully and that you understand and agree to abide by the terms and conditions herein. You agree that you are solely responsible for your own conduct while using this product, and for any consequences thereof. You agree to use this product only for purposes that are proper and in accordance with all applicable laws, rules, and regulations, and all terms, precautions, practices, policies, and guidelines DJI OSMO has made and may make available. Congratulations on purchasing your new DJI OSMOTM product. The information in this document affects your safety, legal rights, and responsibilities. Read this entire document carefully to ensure proper configuration before use. Failure to read and follow the instructions and warnings in this document may result in serious injury to yourself or others, damage to your DJI OSMO product, or damage to other objects in the vicinity. This document and all other collateral documents are subject to change at the sole discretion of DJI OSMO.
DJI OSMO accepts no liability for damage, injury, or any legal responsibility incurred directly or indirectly from the use of this product. The user shall observe safe and lawful practices including, but not limited to, those set forth in this document.
Notwithstanding the above, your statutory rights under the applicable national legislation are not affected by this disclaimer.
OSMO is a trademark of SZ DJ I OSMO TECHNOLOGY CO., LTD. (abbreviated as “DJI OSMO”) and its affiliated companies. Names of products, brands, etc., appearing in this document are trademarks or registered trademarks of their respective owner companies. This product and document are copyrighted by DJI OSMO with all rights reserved. No part of this product or document shall be reproduced in any form without prior written consent or authorization from DJI OSMO.
Safety Guidelines
- The Osmo Action Charging Hub is only compatible with the supported battery adapters. Refer to the Specifications section for a list of supported battery adapters
- The Osmo Action Charging Hub is only compatible with AB1-1300mAh-3.85V batteries. DO NOT use the charging hub with other battery models
- Place the Osmo Action Charging Hub on a flat and stable surface when in use. Make sure the device is properly insulated to prevent fire hazards
- DO NOT touch the metal terminals on the charging hub
- Clean the metal terminals with a clean, dry cloth if there is any noticeable buildup.
- If the battery falls into water, put it in a safe and open area Maintain a safe distance from the battery until it is completely dry. DO NOT use the battery again, and properly dispose of the battery as described in point 30.
- Put out a battery fire using water, sand, a fire blanket, or a dry powder fire extinguisher
- DO NOT use a non-DJI OSMO DJI OSMO takes no responsibility for any damage caused by a non-DJI
OSMO battery. Purchase a new battery at www.dji.com. - DO NOT use or charge swollen, leaky, or damaged battery
- The battery should be used in a temperature range from 14° to 104° F (-10° to 40° C). Use of the battery in an environment above 104° F (40° C) can lead to a fire or Use of the battery below 14° F (-10° C) can lead to permanent damage.
- DO NOT use the battery in a strong electrostatic or electromagnetic environment
- DO NOT disassemble or pierce the battery in any way. Otherwise, the battery may leak, catch fire, or explode
- DO NOT drop or strike the battery. DO NOT place heavy objects on the battery or
- Electrolytes in the battery are highly corrosive. If any electrolytes make contact with your skin or eyes, immediately wash the affected area with fresh running water for at least 15 minutes, and then see a doctor
- DO NOT use the battery if it is dropped or impacted in any way.
- DO NOT heat the DO NOT use a hairdryer to dry the battery or put the battery in a microwave oven or a pressurized container.
- DO NOT manually short-circuit the battery.
- DO NOT attach the battery to a power outlet or car charger socket directly. The battery must be charged through Osmo Action or the Osmo Action Charging DJI OSMO takes no responsibility if the battery is charged using a non-DJI OSMO charger.
- DO NOT charge the battery near flammable materials or on flammable surfaces such as carpet or wood. DO NOT leave the battery unattended during charging.
- DO NOT charge the battery immediately after use, as the battery temperature may be too high.
- DO NOT charge the battery until it cools down to near room temperature. Charging the battery outside of the temperature range of 41° to 104° F (5 to 40° C) may lead to leakage, overheating, or battery damage.
- Disconnect the charger when not in use. Examine the charger regularly for damage to the cord, plug, and other parts of the DO NOT clean the charger with denatured alcohol or other flammable solvents. DO NOT use a damaged charger.
- Keep the battery out of the reach of children and animals.
- DO NOT leave the battery near heat sources such as a furnace or heater. DO NOT leave the battery inside of a vehicle on hot DO NOT store the battery in an environment with a temperature higher than 140″ F (60″ C). The ideal storage temperature range is 71.6° to 82.4° F (22° to 28° C).
- Store the battery in a ventilated location and keep the battery dry.
- DO NOT store a fully discharged battery for an extended Otherwise, it will over-discharge, which will lead to permanent damage to the battery.
- Before taking a battery on an airline flight, fully discharge the Make sure to discharge the battery in a fireproof location.
- Keep the battery away from metal objects such as glasses, watches, jewelry, and hairpins.
- DO NOT transport a damaged battery or a battery with a power level higher than 50%.
- Only dispose of a battery after completely discharging it. DO NOT dispose of a battery in a regular trash container. Strictly follow your local regulations regarding the disposal and recycling of the battery.
- The battery is designed to stop charging when it is fully It is a good practice, however, to monitor the charging progress and disconnect the battery when it is fully charged.
- Discharge the battery to 40-65% if it will not be used for 10 days or more. This can greatly extend the battery life.
- The battery will enter hibernation mode if depleted and stored for an extended period. Recharge the battery to bring it out of hibernation.
- Remove the battery from Osmo Action when it is stored for an extended period.
- The battery life may be reduced if it is not used for an extended period.
- Discharge and charge the battery completely once every three months to keep it in good condition.
Introduction
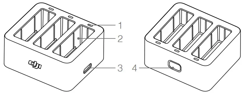
The Osmo Action Charging Hub can charge up to three batteries for Osmo Action. When using an official DJI USB adapter, the charging hub charges the two batteries with the higher battery level simultaneously first and takes approximately 130 minutes to fully charge three batteries.* When using a non-official DJI USB adapter, the charging hub charges the batteries one at a time in order of the battery level from high to low. The three LED indicators indicate the battery level and the charging status.

- LED Indicators
- Battery Ports
- USB-C Port
- Button
* Charging time is for reference only.
Usage
Place the battery into the battery ports as shown in the figure below. Connect the USB adapter to the USB-C port on the charging hub to begin charging. Refer to the LED Indicators Description section for more information about charging.

LED Indicators Description
When a battery is attached but there is no power source, hold the button for one second. The LED indicator will display the battery level twice. When there is no battery attached, the corresponding LED indicator will be off.
| Blinking Patterns | Battery Level |
| Off | 0%<Battery Levels3% |
| Blinks green once | 3%< Battery Levels25% |
| Blinks green twice | 25%< Battery Levels50% |
| Blinks green three times | 50%< Battery Levels75% |
| Blinks green four times | 75%< Battery Levels98% |
| Solid green | 98%< Battery Levels 100% |
When a battery is attached and there is a power source, the LED indicators show the following information.
| Blinking Patterns | Descriptions |
| Three LEDs blink green No batteries attached in order | No battery is attached |
| Off | No battery is attached to the battery corresponding battery port or has entered Hibernation mode after an extended period with 0% battery level. |
| Solid yellow | The battery is queued to be charged and the battery level is more than 0% |
| Blinks green once | The battery is charging and the number of blinks displays the current battery level. 0< Battery Love15.25% |
| Blinks green twice | 25%< Battery Levek50% |
| Blinks green three times | 50%< Battery Levek75% |
| Blinks green four times | 75%< Battery Levek98% |
| Solid green | 98%< Battery Levek100% |
| Blinks red quickly | The battery is abnormal due to overheating or not being properly connected |
| Three LEDs blink read quickly | The charging hub and/or all batteries are abnormal. |

- The button is disabled when a power source is connected.
- If the battery is in hibernation mode, charging will automatically wake up the battery. No further action is required.
- The battery level displayed may not be completely accurate.
Specifications
| Model | 0A1 CH |
| Supported DJI Batteries | AB1 -1300mAh-3.85V QC 18-CN/QC18-EU USB Adapter |
| Supported USB Adapters | Intelligent Adapter, 5 V / 2 A |
| Operating Temperature | 41° to 113° F (5° to 45° C ) |
| Input | 5 V 3 A/9 V 2 A/ 12 V 1.5 A |
| Output | 4.4 V 2 A |
| Battery | |
| Capacity | 1300 mAh |
| Voltage | 3.85 V |
| Charging Limit Voltage | 4.4 V |
| Type LiPo | 1S |
| Energy | 5.005 Wh |
This content is subject to change. Download the latest version from https://www.dji.com/osmo-action
OSMO is a trademark of DJI OSMO. Copyright © 2019 DJI OSMO All Rights Reserved.
FCC Compliance
This device complies with Part 15 of the FCC Rules. Operation is subject to the following two conditions: (1) This device may not cause harmful interference, and (2) This device must accept any interference received, including interference that may cause undesired operation. Any changes or modifications not expressly approved by the party responsible for compliance could void the user’s authority to operate the equipment.
EU Compliance Statement: SZ DJI Osmo Technology Co., Ltd. hereby declares that this device is in compliance with the essential requirements and other relevant provisions of the Directive 2014/30/EU. A copy of the EU Declaration of Conformity is available online at www. dji.com/euro-compliance EU contact address: DJI GmbH, Industriestrasse 12, 97618, Niederlauer, Germany

Environmentally-friendly disposal
Old electrical appliances must not be disposed of together with the residual waste, but have to be disposed of separately. The disposal at the communal collecting point via private persons is for free. The owner of old appliances is responsible to bring the appliances to these collecting points or to similar collection points. With this little personal effort, you contribute to recycling valuable raw materials and the treatment of toxic substances.
IC Compliance
This device complies with the ICES-003 standards. Operation is subject to the following two conditions: (1) this device may not cause interference, and (2) this device must accept any interference, including interference that may cause undesired operation of the device.
CAN ICES-3(B)/NMB-3(B)
If you have any questions about this document, please contact DJI by sending a message to [email protected].
Printed in Chaina

















