MEEC TOOLS 011639 1700W Demolition Hammer

SAFETY INSTRUCTIONS
WARNING
Failure to follow all the instructions and safety instructions can result in the risk of electric shock, fire and/or serious personal injury.
SAFETY IN THE WORK AREA
- Keep the work area clean and well lit.
- Dark and cluttered work areas increase the risk of accidents and injuries.
- Do not use power tools in explosive environments, such as in the vicinity of flammable liquids, gases or dust.
- Power tools produce sparks that can ignite dust and fumes.
- Keep children and onlookers at a safe distance when working with a power tool.
- You can lose control of the tool if you are distracted.
ELECTRICAL SAFETY
- The plug on the power tool must match the power point.
- Never modify the plug in any way.
- Never use adapters with earthed power tools. Intact plugs and matching outlets reduce the risk of electric shock.
- Avoid body contact with earthed surfaces such as pipes, radiators, cookers and refrigerators.
- There is an increased risk of electric shock if your body is earthed.
- Do not expose power tools to rain or moisture.
- There is a greater risk of electric shock if water gets into a power tool.
- Be careful with the power cord.
- Never use the power cord to carry or pull the power tool, or to pull out the plug from the mains.
- Keep the power cord away from heat, oil, sharp edges and moving parts.
- Damaged or tangled power cords increase the risk of electric shock.
- When you use a power tool outdoors, use an extension cord intended for outdoor use.
- Using cords intended for outdoor use reduces the risk of electric shock.
- If an extension cord is used the cross sectional area of the wires must be dimensioned for the power supply to the product.
- If you have to use a power tool in damp conditions, use a mains connection protected by a residual current device RCD.
- Using an RCD reduces the risk of electric shock.
PERSONAL SAFETY
- Stay alert, pay attention to what you are doing, and use your common sense when working with power tools.
- Never use power tools if you are tired or under the influence of drugs, alcohol or medication.
- A moment of inattention when using a power tool can result in serious personal injury.
- Use safety equipment.
- Always wear safety glasses.
- The correct use of safety equipment such as a dust filter mask, non-slip safety shoes, helmets and ear protection, reduces the risk of personal injury.
- Avoid accidental starting.
- Check that the power switch is in the OFF position before connecting to the mains and/or the battery, or lifting/carrying the tool.
- Carrying a power tool with your finger on the switch, or connecting a tool to the mains supply when the switch is in the ON position, increases the risk of accidents.
- Remove all Allan keys/spanners etc. before switching on the power tool.
- A spanner left in a rotating part of the power tool can result in personal injury.
- Do not overreach. Always maintain a firm footing and good balance.
- This will ensure you have better control over the tool in unexpected situations.
- Wear suitable clothing. Do not wear loose fitting clothing or jewellery.
- Keep your hair, clothing and gloves away from moving parts.
- Loose fitting clothing, jewellery and long hair can get caught in moving parts.
SERVICE
- Make sure that the power tool is serviced by qualified technicians that on ly use identical spare parts.
- This will ensure that the power tool remains safe to use.
- Never attempt to repair damaged batteries.
- Batteries must only be serviced by an authorised service centre or other qualified personnel.
- For battery operation only.
SAFBY INSTRUCTIONS FOR BELT SANDERS AND UNIVERSAL SANDERS
Hold the product by the insulated grips when working in areas where it may come into contact with concealed electrical cables or its own power cord. Contact with a live cable will cause the metal parts on the product to also become live – risk of electric shock.
SAFBY INSTRUCTIONS FOR HAMMER DRILL
- Wear ear protection.
- Exposure to loud noise can cause hearing impairments.
- Use the support handle, if the tool is supplied with one. otherwise, you could lose control of the tool and be injured.
- Hold the power tool by the insulated grips when working in areas where the tool may come into contact with concealed electrical cables or its own power cord.
- Contact with a live cable will cause the metal parts on the tool to also become live and give the user an electric shock.
REDUCTION OF NOISE AND VIBRATIONS
- Plan the work so that exposure to heavy vibrations is spread over a longer period.
- To reduce noise and vibrations when in use, limit the time the tool is in use, and use low power/vibration mode and suitable safety equipment.
- Take the following precautions to minimise the risks of exposure to vibrations and/or noise.
- Only use the tool in accordance with these instructions
- Check that the tool is in good condition.
- Use accessories in good condition, and which are suitable for the purpose.
- Keep a firm grip on the handles/grips.
- Maintain and lubricate the tool in accordance with these instructions.
SYMBOLS

TECHNICAL DATA
| Rated voltage | 230 V ~ 50 Hz |
| Rated output | 1700W |
| Stroke rate | 1850 /min |
| Percussion force | 60 J |
| Tool holder | SDS-Max |
| Weight | 16 kg |

Always wear ear protection
The declared values for vibration and noise, which have been measured according to a standardised test method, can be used to compare different tools with each other and for a preliminary assessment of exposure. The measurement values have been determined in accordance with EN 60745-2-6:2010.
WARNING
The actual vibration and noise level when using tools may differ from the specified maximum value, depending on how the tool is used and the material. It is therefore necessary to determine which safety precautions are required to protect the user, based on an estimate of exposure in actual operating conditions taking into account all stages of the work cycle, e.g. the time when the tool is switched off and when it is idling, in addition to the start up time.
DESCRIPTION
Robust demolition hammer. The following accessories are included
- Flat chisel 30×410 mm
- Pointed chisel 30×410 mm
- Transport case with roller
- Extra handle
- VDE plug and cord
USE
- Check that the mains voltage corresponds to the rated voltage on the type plate.
- Switch off the product, pull out the plug and wait until all moving parts have completely stopped before adjusting, replacing parts, cleaning and/or carrying out maintenance.
- Check that there are no electrical cables, gas and/or water pipes in the work area.
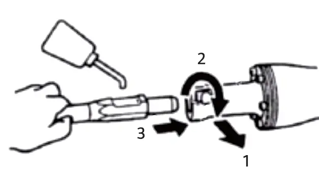
BITS


The product has a quick chuck for SDS-Max bits. The product is supplied with two bits.
STARTING/STOPPING

Press the power switch to start the product, and release to stop.
HOW TO USE
IMPORTANT
Use suitable safety equipment

Hold the product firmly with both hands, ALWAYS use the extra handle.
MAINTENANCE
WARNING
Switch off the product and pull out the plug before checking, cleaning, maintenance or adjustments, and before changing accessories.
LUBRICATION
The product does not require daily lubrication. The product should be lubricated after 6 months of use.
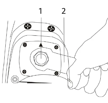
- Switch off the product and pull out the plug.
- Remove the cap (1) with a 23 mm spanner and fill up with new grease (60 g).
- Do not overfill, this can cause malfunctioning and/or damage the product.
- Replace the cap and tighten with the spanner.


REPLACING THE CARBON BRUSHES

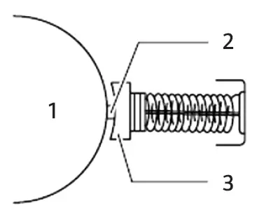
The motor switches off automatically when the insulated resin tip in the carbon brush comes into contact with the commutator. Replace both carbon brushes when this occurs. Keep the carbon brushes clean so that they slide easily in the holders. Both carbon brushes should be replaced at the same time. Only use carbon brushes of the same type.
- Commutator
- Insulated tip
- Carbon brush.



















