PARKSIDE PBK 4 A2 4-In-1 Petrol Multi-Tool Instruction Manual
Introduction
Congratulations on the purchase of your new tool. You have chosen a high-quality product. The operating instructions are a part of this product. They contain important information about safety, usage and disposal. Before using the product, please familiarise yourself with all operating and safety instructions. Use the product only as described and for the range of applications specified. Please also pass these operating instructions on to any future owner.
Intended use
Long-handled hedge trimmer
This tool is intended for cutting and trimming hedges, bushes and flowering shrubs in the home garden. This is a hand-held tool with an integrated engine unit and linear reciprocating cutting blades.
WARNING
Hedge trimmers are not suitable for use by children.
Pole pruner
This tool is intended for trimming branches in trees
3-tooth cutting blade/strimmer
Use with 3-tooth cutting blade: for cutting high grass, undergrowth and light scrub.
Use with strimmer: for cutting grass and small weeds.
Extension attachment
ATTENTION
Do not use the extension attachment/boom53 in combination with the 3-tooth cutting blade/strimmer attachment!
Any other use that is not expressly permitted in these operating instructions may damage the tool and represents a serious risk for the user. Please observe the restrictions in the safety instructions. Comply with all national regulations that may restrict the use of the appliance. Any other usage of or modification to the tool is deemed to be improper and carries the risk of serious personal injury.
Not intended for commercial use.
PROHIBITED APPLICATIONS!
Due to the physical risk posed to the user, the tool may not be used to perform the following activities: cleaning footpaths and as a shredder for shredding tree and hedge sections. Furthermore, the tool may not be used to level ground elevations such as molehills. For safety reasons, the tool may not be used as a drive unit for any other devices. The user, not the manufacturer, is liable for any resulting damage or injuries of any kind.
Features
Engine unit PBK 4 A2-1
- Safety lock-out
- On/Off switch
- Carrying lug
- Round handle
- Rubber ring
- Clamping shell
- Locking screw
- Locking screw
- Boom
- Throttle control
- Spark plug connector
- Choke lever
- Starter pull cord
- Petrol tank
- Filler cap
- Fuel pump (primer)
- Air filter housing cover
Hedge trimmer attachment PBK 4 A2-3 - Handle
- Lock/release
- Gearbox casing
- Cutter bar
- Base plate (hedge trimmer)
- Control lever
- Front boom (hedge trimmer)
- Locking pin
- Drive shaft
Pole pruner attachment PBK 4 A2-4 - Front boom (pole pruner)
- Safety ring
- Oil filler cap
- Oil tank
- Blade
- Saw chain
- Bench grinder support
- Stop
- Locking pin
- Drive shaft
- Nut
- Thread
- Sprocket cover
- Blade guide
- Blade hole
- Guide rail
- Oil dispenser
- Chain sprocket
- Oil adjusting screw
- Chain tensioner pin
- Chain tensioning screw
Strimmer/cutter attachment PBK 4 A1-2 - 4 x screws (with washer)
- Protective guard
- 3-tooth cutting blade
- Strimmer with cutting filament
- Front boom (strimmer/3-tooth cutting blade)
- Locking pin
- Drive shaft
Extension attachment - Boom
- Locking screw
- Locking pin
- Drive shaft
Accessories - Carrying harness
- Protective cover for blade
- Chain guard
- Organic chain oil
- Oil/petrol mixing canister
- Safety goggles
- 4 mm hex key
- Spark plug wrench/flat-head screwdriver
- Tool bag
- Nut M19 x 1.0 (left-hand thread)
- Pressure plate cover
- Pressure plate
- Drive plate
- Cutting filament
- Funnel



Package contents
- 1 engine unit
- 1 hedge trimmer attachment PBK 4 A2-3 (hereinafter hedge trimmer)
- 1 pole pruner attachment PBK 4 A2-4 (hereinafter pole pruner)
- 1 strimmer/cutter attachment PBK 4 A2-2
- 1 extension attachment
- 1 handle with barrier bar
- 1 strimmer with cutting filament
- 1 cutting filament (filament Ø: 2.4 mm/filament length: 6 m)
- 1 3-tooth cutting blade
- 1 carrying harness
- 1 chain guard
- 1 blade guard
- 1 oil/petrol mixing canister
- 1 100 ml organic chain oil
- 1 tool bag
- 1 4 mm hex key
- 1 spark plug wrench/flat-head screwdriver
- 1 safety goggles PBKZ 1 A1
- 1 funnel
- 1 set of operating instructions
Technical specifications
Engine unit PBK 4 A2-1
- Engine type 2-stroke engine, air-cooled,
- chrome cylinder
- Engine output (max.) 1.45 kW/1.97 hp
- Cylinder capacity 51.7 cm³
- Engine idle speed 3000 rpm
- Max. engine speed
- with 3-tooth cutting blade 9200 rpm
- with strimmer 8700 rpm
- with chainsaw 9200 rpm
- with hedge trimmer 9200 rpm
- Max. cutting speed
- with 3-tooth cutting blade 6900 rpm
- with strimmer 6525 rpm
- with chainsaw 20 m/s
- with hedge trimmer 1490 strokes/min
- Ignition electronic
- Drive centrifugal clutch
- Weight (empty tank) approx. 5.6 kg
- Tank capacity 1200 cm3
- Spark plug CDK L8RTC
- Fuel consumption at maximum engine output 0.78 kg/h
- Specific fuel consumption at maximum engine output 560 g/kWh
Hedge trimmer PBK 4 A2-3
- Cut length 480 mm
- Tooth spacing 27 mm
- Weight (ready for use) approx. 2.24 kg
Pole pruner PBK 4 A2-4
- Weight (ready for use) approx. 1.6 kg Oil tank, recommended fill level 140 ml3
- Cut length approx. 300 mm
- Blade Oregon type 120SDEA041
- Saw chain Oregon 91P045X
Strimmer/cutting blade attachment PBK 4 A2-2
Strimmer with cutting filament (IAN 352083)
- Filament cutting circle Ø 430 mm
- Filament length 6.0 m
- Filament Ø 2.4 mm
3-tooth cutting blade (IAN 352083)
- Cutting blade cutting diameter Ø 255 mm
Noise and vibration information:
Noise measurement determined in accordance with ISO 22868, EN ISO 10517. The A-rated noise level is typically as follows:
Hedge trimmer
| Sound pressure level | LpA = | 98.8 | dB(A) |
| Uncertainty | KWA= | 3 | dB(A) |
| Sound power level | LWA = | 109.7 | dB(A) |
| Guaranteed sound power level | LWA = | 114.00 | dB(A) |
| Pole pruner | |||
| Sound pressure level | LpA = | 99.0 | dB(A) |
| Uncertainty | KWA= | 1.98 | dB(A) |
| Sound power level | LWA = | 108.8 | dB(A) |
| Uncertainty | KWA= | 3 | dB(A) |
| 3-tooth cutting blade | |||
| Sound pressure level | LpA = | 98.9 | dB(A) |
| Uncertainty | KpA = | 3 | dB(A) |
| Sound power level | LWA = | 109.6 | dB(A) |
| Uncertainty | KWA= | 1.98 | dB(A) |
| Strimmer | |||
| Sound pressure level | LpA = | 99.5 | dB(A) |
| Uncertainty | KpA = | 3 | dB(A) |
| Sound power level | LWA = | 110.10 | dB(A) |
| Uncertainty | KWA= | 1.98 | dB(A) |
Wear ear muffs to prevent hearing damage!
Vibration values (vector total of three directions) determined in accordance with EN 11806-1, EN ISO 10517, EN ISO 11680-1
Hedge trimmer
| Vibration on the front handle | vibration emission value ah,D = 6.15 m/s2 Uncertainty K = 1.5 m/s |
| Vibration on the rear handle | vibration emission value ah,D = 8.37 m/s2 Uncertainty K = 1.5 m/s2 |
| Pole pruner Vibration on the front handle | vibration emission value ah,D = 7.96 m/s2 Uncertainty K = 1.5 m/s2 |
| Vibration on the rear handle | ibration emission value ah,D = 7.41 m/s2 Uncertainty K = 1.5 m/s2 |
| Strimmer Vibration on the front handle | Vibration emission value ah,D = 7.99 m/s2 Uncertainty K = 1.5 m/s |
| Vibration on the rear handl | vibration emission value ah,D = 7.39 m/s2 Uncertainty K = 1.5 m/s |
| 3-tooth cutting blade Vibration on the front handle | vibration emission value ah,D = 6.2 m/s2 Uncertainty K = 1.5 m/s2 |
| Vibration on the rear handle | vibration emission value ah,D = 8.49 m/s2 Uncertainty K = 1.5 m/s2 |
NOTE
The vibration level specified in these instructions has been measured in accordance with the standardised measuring procedure specified in EN 11806-1,EN ISO 10517, EN ISO 11680-1 and can be used to make equipment comparisons. The specified vibration emission value can also be used to make an initial exposure estimate.
WARNING
The vibration level varies in accordance with use and may be higher than the value specified in these instructions in some cases. There is a risk of underestimation of the vibration load if the tool is used regularly in this manner. To estimate the vibration load during a specific working period accurately, periods during which the tool is switched off (or running, but not being used) must also be taken into account. This can significantly reduce the vibration load over the total working period.
WARNING
You can reduce the vibration risk, for example, the risk of Raynaud’s phenomenon, by taking regular breaks during which you rub your hands together.
Explanation of the symbols used





Safety instructions
MPORTANT! READ CAREFULLY BEFORE USE! KEEP FOR YOUR RECORDS.
Operational safety instructions for hedge trimmers
NOTE
- The hedge trimmer is supplied completely assembled.
- Instructions and illustrations regarding the settings and use of the hedge trimmer and/or its controls, maintenance and lubrication by the user can be found in these instructions and on the fold-out page.
- Notes on the working position (see fold-out page).
- Notes on the operating controls (see fold-out page).
- Note on the safe handling of fuel (see section “Preparation”, point f).
- These instructions contain information on the recommended replacement or repair of parts, the customer service and specification of spare parts to be used, inasmuch as they affect the health and safety of the user.
- The explanation of all graphical symbols, information, features and
technical specifications on the hedge trimmer as well as the procedure in the event of accidents and malfunctions can be found in these instructions. - Blocked tool: remove the jammed material from the cutter bar 18.
WARNING
- Do not allow children to use the hedge trimmer under any circumstances.
- Stay alert, watch what you are doing and use common sense when operating the tool. Do not use the tool while you are ill, tired or under the influence of drugs, alcohol or medication. A moment of inattention while operating the tool may result in serious personal injury.
- Avoid improper use. Use the appliance only as described in the section “Intended use”.
Familiarise yourself with the operating instructions before you operate the tool.
Preparation
a) THE HEDGE TRIMMER CAN CAUSE SERIOUS INJURIES! Read the instructions on correct handling, preparation, maintenance, starting and stopping the hedge trimmer very carefully. Familiarise yourself with all manual controls and the proper use of the hedge trimmer.
b) Do not allow children to use the hedge trimmer under any circumstances. Children, adolescents and people with reduced physical, sensory or mental capabilities must not use the hedge trimmer. The only exception to this are young people over the age of 16 who are being trained by a specialist.
c) Beware of overhead power lines.
d) Do not use the hedge trimmer while anyone, especially children, is in the vicinity.
e) Wear appropriate clothing! Do not wear loose clothing or jewellery that could get caught in moving parts. We recommend wearing heavy-duty gloves, non-slip footwear and goggles.
f) Handle fuel carefully. It is highly flammable and the vapours are explosive.
The following points should be followed:
– Use only specially-designed containers.
– Never open the tank filler cap or top up the petrol tank while the engine is running or hot. Allow the engine and the exhaust components to cool down before refuelling.
– Do not smoke.
– Refuel outside only.
– Never store the hedge trimmer or the fuel tank in a room where there is an open flame, for example, in a hot water boiler.
– If the petrol has overflowed, do not attempt to start the engine. Remove the appliance from the fuel-contaminated area before restarting.
– Always replace the filler cap after refuelling and close it securely.
– Draining the tank should only be done in the open.
g) If the cutting unit comes in contact with a foreign object or if the operating noise increases or the hedge trimmer starts to vibrate abnormally, stop the engine and allow the hedge trimmer to come to a standstill. Pull the spark plug connector off the spark plug and take the following action:
– check for damage;
– check for loose parts and secure all the loose parts;
– replace damaged parts with equivalent parts or have them repaired.
Wear ear muffs!
Wear safety goggles!
Familiarise yourself with the operation of the hedge trimmer so that you know how to stop the tool immediately in an emergency
Operation
a) Switch off the engine before:
– cleaning or removing blockage;
– inspection, maintenance or work on the hedge trimmer;
– setting the working position of the cutting unit;
– if the hedge trimmer is to be left unattended.
b) Always make sure that the hedge trimmer is in the proper working position before the engine is started.
c) During operation of the hedge trimmer, always ensure that you have firm footing.
d) Do not use the hedge trimmer if it has a defective or badly worn cutting unit.
e) To minimise the risk of fire, ensure that the engine and the silencer are free of residues, leaves or leaked lubricant.
f) Ensure that all supplied handles and safety guards are mounted when operating the hedge trimmer. Never attempt to operate an incompletely assembled hedge trimmer or a hedge trimmer with non-approved modifications.
g) Always use both hands if the hedge trimmer is equipped with two handles.
h) Always familiarise yourself with your environment and be aware of potential dangers that you may not be able to hear because of the noise of the hedge trimmer.
Maintenance and storage
a) When you stop working with the hedge trimmer in order to carry out maintenance, inspection or storage, switch off the engine, pull the spark plug connector from the spark plug and ensure that all rotating parts have come to a standstill. Allow the appliance to cool down before carrying out an inspection, adjustments, etc.
b) Store the hedge trimmer where the petrol vapours cannot come into contact with flames or sparks. Always allow the hedge trimmer to cool down before storage.
c) When transporting or storing the hedge trimmer, cover the cutting unit with the protective cover for the cutting unit.
Supplementary safety instructions for hedge trimmers
Environmental safety
- Only operate the hedge trimmer in daylight or good artificial light.
- While trimming, make sure that you do not come into contact with objects such as wire fences or plant supports. They could cause damage to the cutter bar 18. Inspect the hedge to be cut carefully and remove any wires or other foreign bodies.
- Be aware of your environment and all possible hazards that you may be unable to hear while cutting the hedge.
DANGER
In the event of imminent danger or an emergency, switch off the engine immediately.
Electrical safety
Hold the power tool only by the insulated grips as the cutting blades could come into contact with hidden power lines. Contact between the blades and a live wire may make exposed metal parts of the power tool live and could give the operator an electric shock.
Personal safety
- During operation, no other person or animal may be within a radius of 15 metres. The operator is responsible for third parties within the working area.
- During operation, ensure that you have proper footing and balance at all times.
- Never touch the cutter bar 18 of the hedge trimmer.
- Keep your hands away from the cutting blades. Do not attempt to clear cuttings or hold onto the material you are cutting while the blades are still in motion. Remove any jammed clippings only when the tool has been switched off. A moment of inattention while operating the hedge trimmer may result in serious personal injury.
- Wait until the tool has come to a standstill before putting it down.
Use and handling
ATTENTION!
Between tasks or after completion of a task, do not set the cutter bar 19 down on its tip as this could cause damage to the cutter bar 19.
- Before use, always check that the blades, the blade screws and other parts of the cutting tool are not worn or damaged. Never work with a damaged or heavily worn blade.
- After making adjustments to the working angle, check whether both setting levers are clicked firmly into place. If one of the setting levers remains open, the second could be unintentionally released by a branch,and the cutter bar 19 could swing down.
- Never use the hedge trimmer with defective or missing safety guards.
- Never grasp the hedge trimmer by the safety guards.
- Carry the hedge trimmer by the front handle when switched off, with the cutter bar facing away from your body. When transporting or storing the hedge trimmer, always put on the protective cover. Careful handling of the tool reduces the likelihood of accidental contact with the moving blades.
- Store the hedge trimmer in a dry, high or locked location, out of the reach of children.
- Do not attempt to repair the equipment unless you have received the necessary training.
- For safety’s sake, change worn or damaged parts.
DANGER
In the event of imminent danger or an emergency, switch off the engine immediately.
Operational safety instructions for pole pruners
CAUTION! RISK OF INJURY!
To prevent injuries, never touch the tool above the safety ring 26 while it is running.
Preparation
- Always wear a hard hat, ear muffs and safety gloves. Also wear safety goggles to prevent splashes of oil or sawdust from getting into your eyes. Wear a dust mask to protect yourself from dust.
- Wear sturdy, non-slip boots.
- Do not use the tool in the rain.
- Before use, check the tool’s safety condition, especially the blade and the saw chain.
- Do not use the tool near power lines. Maintain a minimum distance of 10 m to above-ground power lines.
Electrical safety
- Do not use the tool in a potentially explosive environment containing flammable liquids, gases or dusts. The sparks generated by the appliance could ignite the vapours or gases.
- Tools with defective switches must be repaired immediately to avoid damage or injuries.
Personal safety
- Never use the tool while standing on a ladder.
- Do not lean too far forward while using the tool. Ensure that you are standing firmly, and keep your balance at all times. Use the supplied carrying harness to distribute the weight evenly on your body.
- To avoid injuries due to falling branches, do not stand under the branches that you want to cut off. Be aware of branches that may spring back and cause injuries. Work at an angle of approximately 60°.
- Be aware that the tool can kick back.
- Keep an eye on the branches being cut as well as on falling material to avoid tripping.
- Cover the guide rail and the chain with the cover during transport and storage.
- Avoid unintentional starting of the tool.
- Store the tool out of the reach of children. Only those who are fully acquainted with the operating instructions and the tool may operate the tool.
Use and handling
- Never start the tool before the blade, saw chain and sprocket covers have been fitted correctly.
- Do not cut any wood that is lying on the ground and do not attempt to saw roots that are protruding from the soil. Avoid dipping the saw chain into the soil at all costs, as this could blunt the saw chain.
- If the tool accidentally comes into contact with a solid object, switch off the engine immediately and inspect the tool for damage.
- After 30 minutes of work, take a break of at least one hour. Change your working position frequently.
- If the pole pruner is shut down for maintenance, inspection or storage, switch off the engine, pull the spark plug connector from the spark plug and ensure that all rotating parts have come to a standstill. Allow the appliance to cool down before carrying out an inspection, adjustments, etc.
- Service the tool carefully. Check for misalignment or binding of moving parts, breakage of parts and any other damage that may impair the tool’s operation. If damaged, have the power tool repaired before use.Many accidents are caused by poorly maintained tools.
- Keep cutting tools sharp and clean. Properly maintained cutting tools with sharp cutting edges are less likely to bind and are easier to control.
- Have the tool checked by qualified specialists. Use only replacement parts recommended by the manufacturer.
Precautionary measures against kickback
CAUTION! KICKBACK
Be aware of the danger of kickback when working with the tool. There is a risk of personal injury. You can avoid kickbacks by being careful and using the correct sawing technique.
- Contact with the tip of the rail can in some cases lead to an unexpected backward reaction resulting in the guide rail flying upwards towards the operator (see Fig. A)

- Kickbacks can occur if the tip of the guide rail touches an object or if the wood bends and the saw chain gets caught in the cut (see Fig. B).

- If the saw chain jams in the upper edge of the guide rail, the rail can kick back violently towards the operator.
- Any such reaction can lead to you losing control over the saw and possibly injuring yourself. Do not rely solely on the chainsaw’s built-in safety devices. As the user of a chainsaw, you can take a number of measures to avoid accidents and injury. A kickback is caused by incorrect use or misuse. It can be avoided by taking proper precautions as given below:
- Hold the saw firmly with both hands, with your thumb and fingers around the handles of the chainsaw. Position your body and arms so you can withstand kickback forces. If suitable measures are taken, the operator can control the kickback forces. Never let go of the chainsaw.
- Avoid any abnormal posture and do not saw above shoulder height. This will prevent inadvertent contact with the tip of the rail and allows better control of the chainsaw in unexpected situations.
- Always use replacement rails and saw chains specified by the manufacturer. Incorrect replacement rails and saw chains can lead to tearing of the saw chain and/or kickback.
- Follow the manufacturer’s instructions for sharpening and maintenance of the saw chain. Setting the depth limiter too low can increase the risk of kickback.
- Do not saw with the tip of the blade. It can cause kickbacks.
- Ensure that there are no objects on the ground that you can trip over.
Operational safety instructions for strimmers
Preparation
- Wear close-fitting clothes that offer good protection, such as long trousers, sturdy work shoes, heavy-duty protective gloves, a hard hat, a protective mask for your face or safety goggles to protect your eyes and good ear plugs or other hearing protection against noise.
- Always use the supplied carrying harness.
- Always ensure that the handles are dry and clean and that no petrol mixture is present.
- Prior to starting work, check the area for objects such as pieces of metal, bottles, stones, etc, that could get thrown up and cause injuries to the user.
- Before starting the engine, make sure that the strimmer is not in contact with any obstacles.
- Do not use the tool until you have familiarised yourself with its use.
Electrical safety
- Never use the tool near highly flammable liquids or gases, either inclosed rooms or in the open. This may result in explosions and/or fire.
- Do not work with a damaged or incomplete tool or a tool that has been modified without the consent of the manufacturer. Never use the tool with defective protective equipment. Do not use the tool if it has a defective On/Off switch. If the tool has been dropped, check for significant damage or defects.
Personal safety
- This tool may only be operated, adjusted and maintained by appropriately trained individuals and adults.
- If you are not familiar with the tool, practice handling the tool while the engine is off.
- Do not touch the exhaust.
- Do not operate the tool under the influence of alcohol or drugs.
- Always hold the tool with both hands. Your thumbs and fingers should completely grip the handles.
- Working posture: Do not operate the tool in an uncomfortable position, when you are unbalanced, with arms fully stretched or with only one hand.
- Always ensure that you have a solid and firm stance.
- Do not use the tool if bystanders or animals are in the direct vicinity. Maintain a minimum distance of 15 metres between the operator and other people or animals when trimming. Maintain a minimum distance of 30 metres between the operator and other people or animals when mowing down to the ground.
- When mowing on a slope, always stand at a lower level than the cutting tool. Never cut or trim on an icy, slippery hill or slope.
- Any modifications to the product may risk personal safety and void the manufacturer’s warranty.
- Children should be supervised to ensure that they do not play with the tool.
- Do not use the tool if it is damaged or if there are visible defects.
Use and handling
- Use the tool only for its intended purpose: cutting grass, mowing, pruning branches, cutting and trimming hedges and bushes.
- Do not use the tool for extended periods; take frequent breaks.
- Ensure that screws and connecting elements are firmly tightened. Never operate the tool if it is not correctly adjusted, incomplete or if it is not properly assembled.
- Open the petrol tank slowly in order to allow any pressure that may have built up in the tank to dissipate. To prevent the risk of fire, move at least 3 metres away from the refuelling area before starting the tool.
- Guide the strimmer to the desired height. Avoid contact with small objects (e.g. stones) when using the strimmer.
- Always hold the strimmer on the ground when the tool is in operation.
- Do not use the tool unless the appropriate protective guard has been installed and is in good condition.
- Do not use any other cutting tools. For your own safety, only use the accessories and additional devices that are indicated in the operating instructions. The use of cutting tools or accessories other than those recommended in the operating instructions can put you at risk of injury
- Always trim and cut using the high speed range. Do not let the engine run at a low speed when starting to mow or trim.
- When starting and operating the tool, ensure that it does not come into contact with the ground, stones, wire or other foreign material. Switch off the tool before you put it down.
- Switch off the tool before you put it away.
- Always switch the engine off before working on the cutting too
Operational safety instructions for cutting blades
Preparation
- The cutting blade flings objects and soil with great force. They can cause blindness or other injuries. Wear eye, face and leg protection. Always remove objects from the work area before using the cutting blade.
- The cutting blade continues running after the throttle lever has been released. A running-down cutting blade can inflict cuts to yourself or other people standing nearby. Switch the engine off and make sure that the cutting blade has come to a complete stop before performing any work on the cutting blade.
Personal safety
- The tool can cause blindness or other injuries to bystanders. Maintain a minimum distance of 15 metres in all directions between the tool and other people or animals.
Use and handling
- Do not use the tool if any of the cutting blade accessories have not been properly installed.
- The cutting blade can kick back from objects with force. It can cause injuries to your arms and legs. If the tool comes into contact with a foreign body, immediately shut down the engine and wait until the cutting blade has come to a complete stop. Check the cutting blade for damage. Always replace the cutting blade if it is bent or cracked.
Safety devices/equipment
The corresponding plastic protective guard for the cutting blade or filament operation must be installed when working with the tool in order to prevent objects from being flung away.
WARNING
- Never mow/trim while other individuals, especially children oranimals, are in the vicinity.
- Maintain a safety distance of 15 m. Switch off the tool immediately if this distance is not maintained.
ATTENTION! RISK OF POISONING!
Exhaust gases, fuels and lubricants are toxic. Exhaust gases must never be inhaled.
WARNING
- Petrol is highly flammable. Store petrol only in the containers provided.
- Refuel only outdoors and do not smoke.
- The filler cap must not be opened and refuelling must not take place while the engine is running or when the tool is hot.
- Do not attempt to start the engine if the petrol has overflowed. Instead, remove the tool from the area polluted by petrol. Do not attempt to restart the tool until the petrol fumes have dissipated.
- For safety reasons, the petrol tank and filler cap must be replaced if they are damaged.
Limit the noise generation and vibrations to a minimum!
- Only use tools that are in good condition.
- Maintain and clean the tool on a regular basis.
- Adapt your working method to the tool.
- Do not force the power tool.
- Have the tool inspected, if necessary.
- Switch the tool off when not in use.
- Wear protective gloves.
Before use
ATTENTION
- Always wear non-slip footwear and appropriate safety clothing such as protective gloves, a hard hat, a protective mask and safety goggles as well as ear muffs.
- Check the area in which the tool is to be used and remove any objects that may be caught and slung away.
- Before each use and after dropping it or other impacts, always visually inspect the tool to check whether the cutting tool, mounting bolts and the entire cutting unit is damaged. Worn or damaged cutting tools and mounting bolts must be replaced.
- Always carry out a visual inspection before use to check whether the cutting tools are worn or damaged. To prevent imbalance, worn or damaged cutting tools and mounting bolts should only be replaced as complete sets.
Attaching the round handle
- Start by fitting the rubber ring 4a on the boom 7.
- Attach the round handle 4, as shown in the diagram, onto the rubber ring 4a from above.

- Now press the clamping shell 4b of the round handle 4 onto the rubber ring 4a of the boom 7 from below.
- Insert the locking screw and tighten it.
Fitting the quick release mechanism
- Hook in the carabiner and secure it with the red strap on the quick release mechanism (see illustrations). Pull on the red strap if you have to release the tool quickly.

Securing/attaching the carrying harness
- Hook the carrying harness 57 into the carrying lug 3.
- Adjust the carrying harness 57 to your size so that the carrying lug 3 is at hip height when the strap is hooked in place.
Fitting the hedge trimmer
- First, undo the locking screw 6 on the boom 7 of the engine unit.
- Push the pin on the front boom 27 of the hedge trimmer into the opening on the boom 7 on the engine unit as far as the stop. You have to make sure that the spring-loaded ball engages in the hole provided.
- Tighten the locking screw 6.
NOTE
The assembly for the pole pruner/strimmer/3-tooth cutting blade/ extension attachment is done in the same order.
Removing the hedge trimmer
- Undo the locking screw 6 and pull the front boom 22 of the hedge trimmer out of the boom 7 on the engine unit.
Note; Dismantling the pole pruner/strimmer/3-tooth cutting blade/extension attachment is done in the same order.
Swivelling the hedge trimmer
- Release the lock/release 17.
- Press the control lever 21 and swivel the hedge trimmer into the desired position.
WARNING
- The cutter bar 19 must not be pivoted completely backwards parallel to the front boom 22 in order to work with it. There is a risk of injury! This position only serves as a transport position.
- Allow the control lever 21 to click into the recess in the base plate (hedge trimmer) 20.
Mounting the saw chain and blade
WARNING
Wear protective gloves! There is a risk of injury from the sharp cutting teeth
NOTE
Pay close attention to the running direction of the saw chain 30 on the blade 29 and at the base plate (hedge trimmer)
.
Depending on wear, the blade 29 can be turned.
- Undo the nut 35 using the spark plug wrench 64.
- Remove the sprocket cover 37.
- Place the saw chain 30 around the blade 29 starting at the tip.
- Now fit the blade 29 and saw chain 30.
- Lay the guide rail 40 over the blade guide 38, while inserting the chain tensioner pin 44 in the blade hole 39. At the same time, lay the saw chain 30 over the chain sprocket 42.
- Now you can tighten the saw chain 30(see section “Tightening and checking the saw chain”).
- Replace the sprocket cover 37 and tighten the nut 35 firmly
Removing the saw chain
- You may have to loosen the saw chain 30 to remove the blade 29 and the saw chain 30 (see section “Tightening and checking the saw chain”). Follow these instructions in reverse order.
Tightening and checking the saw chain
WARNING
Wear protective gloves! There is a risk of injury from the sharp cutting teeth.
- Turn the chain tensioning screw 45 clockwise using the flat-blade screwdriver 64 to increase the tension.
- The saw chain 30 must lie against the underside of the blade. Check whether the saw chain 30 can be drawn by hand over the blade 29.
NOTE
A new saw chain 30 stretches and must be tightened more regularly
Chain lubrication
- Remove the oil filler cap 27.
- Fill the oil tank with approx. 100 ml of organic chain oil 60.
- The chain 28 lubrication can be increased or decreased using the oil adjusting screw 43.
- Press and then turn the oil adjusting screw 43 clockwise to decrease the chain lubrication.
- Press and then turn the oil adjusting screw 43 anticlockwise to increase the chain lubrication.
WARNING
Never work without chain lubrication!
If the saw chain runs dry, the cutting equipment may become irreparably damaged within a short time. Always check chain lubrication and oil level in the tank before starting work
NOTE
Use only saw chain oil, preferably biodegradable. Do not use waste oil, motor oil, etc.
While working, check whether the chain lubrication is working correctly.
NOTE
- A bench grinder can be attached to the grinder support 31 for a secure grip during grinding.
- You will find detailed information on sharpening in a sharpening set, e.g. from Oregon.
- Alternatively, you can use an electrical saw chain sharpening device and follow the instructions of the manufacturer.
- If you have any doubts about carrying out the work, the saw chain should be replaced.
Assembling the extension attachment
ATTENTION
- Do not use the extension attachment/boom 53 in combination with the 3-tooth cutting blade/strimmer attachment!
NOTE
Use the extension attachment/boom 53 for working at greater heights
- Fit the extension attachment/boom 53 between the engine unit and the hedge trimmer or the pole pruner. The assembly is carried out in the same manner as previously described for the attachments.
Fitting/removing the protective guard
WARNING
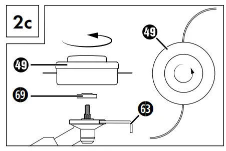
- When working with the 3-tooth cutting blade 48, the protective guard 47 must be fitted. The protective guard 47 is positioned under the metal panel of the boom 50. The protective guard 47 can now be attached to the front boom 50 with 4 screws 46 . Use the supplied hex key 63 to do this (see fig. 2a–2c).
Cutting equipment
3-tooth cutting blade 48
Strimmer 49
Protective equipment
Protective guard 47
Protective guard 47+ cutting filament
protective guard C
WARNING
Do not use any other cutting equipment apart from that which is supplied with the product. The use of any other cutting equipment or protective equipment is deemed to be improper and carries a significant risk of accidents
Installing/replacing the cutting blade






- Fit/remove the 3-tooth cutting blade 48 as shown in figures 1a–1f. ATTENTION! Left-hand thread!
- Find the hole in the drive plate 69, align it with the adjacent hole and block it with the supplied hex key 63.
- Place the 3-tooth cutting blade 48 on the drive plate 69 (see Fig. 1b). The inscription must be visible from above when holding the tool in the working position (see fold-out page). Both sides of the 3-tooth cutting blade 48 can be used.
- Fit the pressure plate 68 over the thread on the splined shaft (see Fig. 1c).
- Fit the pressure plate cover 67(see Fig. 1d).
- Tighten the nut 66 with the spark plug wrench 64 anticlockwise. ATTENTION! Left-hand thread! (see Fig. 1f).
- The 3-tooth cutting blade 48 is fitted with a plastic cover on delivery. It must be removed before use and refitted during periods when the tool is not in use.
- The plastic cover can now be removed
ATTENTION! SHARP EDGES, WEAR PROTECTIVE GLOVES!
- Fit the cutting filament protective guard C on the protective guard 47.
- The cutting filament protective guard C must be fitted when working with the cutting filament. The cutting filament protective guard C (pre-fitted on delivery) is fitted as shown in figure 2a.

- Ensure that the cutting filament protective guard C is correctly clicked into place. There is a blade A on the inside of the cutting filament protective guard C . It is protected with a safety cover B (see Figs. 2a and 2b).

- Remove the safety cover B before starting work and replace it after finishing work.
ATTENTION! SHARP EDGES, WEAR PROTECTIVE GLOVES!
To remove the cutting filament protective guard C from the protective
guard 47, take a tool, such as a screwdriver, to carefully remove the three mounting pins. ATTENTION! RISK OF INJURY!
Installing/replacing the strimmer
- Install/replace the strimmer 69 as shown in figure 2c. ATTENTION! Left-hand thread!

- Find the hole in the drive plate 69, align it with the adjacent hole and block it with the supplied hex key 63.
- Screw the strimmer 49 anticlockwise onto the thread.
Putting on the carrying harness









NOTE
- The following adjustments can be made to make sure that you can work without becoming fatigued. The settings may vary depending on your body size.
- Before starting work, adjust the carrying harness 57 to fit your body size.
- Balance the tool with the fitted cutting tool so that the cutting tool swings just above the ground without the need to move the tool with
your hands.
- Put on the carrying harness 57 and close the clasp so that it clicks into place (see Fig. 3a).
- As shown in figure 3b, pull on the belt 57 to position the carrying harness 57 centrally on your body and adjust the upper body sizeas required.
- To tighten the two shoulder straps, pull on the two shoulder straps as shown in figure 3c.
- To ensure to the correct position of the tool on the carrying harness, pull the belt as shown in figure 3d.
- Hook in the carabiner E (see Figs. 3e–3g) and secure it with the red strap F on the quick release mechanism.
- Now take the tool and hang it so that the carrying lug 3 clicks into the carabiner E as shown in figure 3h. The carrying lug 3 can also be moved by loosening the screw G and sliding it to achieve optimum orientation of the tool.
Setting the cutting height





- Put on the carrying harness 57 and hook the tool (see section “Putting on the carrying harness”).
- Use the various adjusting straps on the carrying harness 57 to adjust the optimum working and cutting position (see section “Putting on the carrying harness”).
- Perform a few circular movements without starting the engine in order to find the ideal carrying strap length (see Fig. 5a).
- The carrying harness 57 is equipped with a quick release mechanism. Pull on the red strap F if you have to release the tool quickly (see Fig. 3i)
ATTENTION
- Always use the carrying harness 57 when working with the tool. Put on the carrying harness 57 as soon as you have started the engine and it is idling. Switch off the engine before removing the carrying harness 57.
Fuel and oil
- Only use a mixture of unleaded petrol (at least RON 95) and special 2-stroke engine oil (JASO FD/ISO-L-EGD). Mix the fuel mixture in accordance with the fuel mix table.
- Add the respective correct amounts of unleaded petrol and 2-stroke oil to the supplied oil/petrol mixing canister 61 (see “Fuel mix table”). Then shake the canister well.
Fuel mix table
Fuel mix table
Mixing ratio: 40 parts petrol to 1 part oil
Petrol: 0.5 litres
2-stroke oil: 12.5 m
Use
ATTENTION
Please pay attention to the statutory provisions in the relevant noise protection regulations.
Before starting the tool, always check that:
- The fuel system is not leaking.
- The protective equipment and cutting equipment is complete and in perfect working order.
- All screw connections are firmly tightened.
- All moving parts can move smoothly and freely.
Starting when the engine is cold
ATTENTION
Never allow the starter pull cord to whip back. This could cause damage.
- Fill the petrol tank 12 using the funnel 71 (see also the section “Fuel and oil”).
- Push the fuel pump (primer)14 6 times.
- Pull the choke lever 10 into the position “ ”.
- Hold the tool firmly and pull out the starter pull cord 11 to the point of first resistance. Now pull hard on the starter pull cord 11. The tool starts.
- If the engine does not start, repeat steps 1-4.
- As soon as the engine is running, first press the safety lock-out 1 and then the throttle 8 to activate the automatic choke. If the engine does not start after several attempts, see the section “Troubleshooting”
ATTENTION
Always pull the starter pull cord 11 straight out. Hold the handle of the starter pull cord 11 firmly when the starter pull cord 11 retracts. Do not allow the starter pull cord 11 to whip back.
NOTE
At very high ambient temperatures, it is possible that even a cold engine has to be started without using the choke!
Starting when the engine is hot
(The tool has been shut down for less than 15–20 minutes)
- The choke lever 10 does not need to be pulled out to start a warm engine.
- Hold the tool firmly and pull out the starter pull cord 11 to the point of first resistance. Now pull hard on the starter pull cord . The tool should start after 1–2 pulls. If the tool still has not started after 6 pulls, repeat steps 1–4 from the section “Starting when the engine is cold”.
Switching the engine off
Emergency stop sequence
If you need to stop the tool immediately, push the On/Off switch forwards
Normal sequence
- Release the throttle lever 8 and wait until the engine has slowed down to its idling speed. Then push the On/Off switch 2 forwards.
ATTENTION
The 3-tooth cutting blade must be stationary when the engine is idling. If the 3-tooth cutting blade is turning, adjust the carburettor!
Working procedures
Before using the tool, practice all working techniques (see Figs. 5a–5c) with the engine stopped.
Extending the cutting filament
To extend the cutting filament, run the engine at full speed and tap the strimmer on the floor. The filament extends automatically. The blade A on the cutting filament protective guard C cuts the thread to an appropriate length (see Fig. 5d).
ATTENTION
Grass/weed residues can get caught under the protective guard .
Switch the engine off and remove the residue using a scraper or similar item.
Various
Trimming/mowing (3-tooth cutting blade or strimmer)
- Swing the tool in a scything motion (see Fig. 5a).
- Hold the cutting tool parallel to the floor and set the desired cutting height
Low trimming (with strimmer)
- Hold the tool at a slight angle to the ground (see Fig. 5b). Always cut away from your body. Never pull the tool towards you.
Short mowing (with strimmer)
- Short mowing removes all the vegetation right down to the ground. Angle the strimmer 30° to the right. Set the handle to the desired position (see Fig. 5c).
Cutting against trees/fences/foundations (with strimmer)
NOTE
- The filament will wear or fray quickly if it comes into contact with trees, rocks, walls or foundations. The filament will break off if it strikes fence mesh.
ATTENTION
Do not use the tool to remove any objects from footpaths, etc.! The tool is powerful and can fling small stones or other objects 15 metres or more and may cause injuries or damage to cars, houses and windows
Wear safety goggles!
Seizing
Immediately switch off the engine if the cutting tool becomes blocked. Remove all grass and scrub from the tool before restarting the tool.
Prevent kickback
When working with the 3-tooth cutting blade there is a risk of kickback if the blade strikes against solid obstacles (tree trunks, branches, tree stumps, rocks or similar). It will result in the cutting tool being thrown back against the rotational direction. This can lead to losing control of the tool. Do not use the cutting blade near fences, metal posts, boundary stones or foundations. To cut weak shrubs, position the tool as shown in Fig. 5e to avoid kickbacks.
Working with the hedge trimmer
Cutting techniques
- The double-sided cutter bar allows cutting in both directions or by using swinging movements from one side to the other.
- For a vertical cut, move the hedge trimmer evenly forwards or up and down in an arc.
- For a horizontal cut, move the hedge trimmer in a scything motion along the edge of the hedge so that cut branches fall to the ground.
- See fold-out page (figure A).

NOTE
Remove thicker branches with a branch cutter
Working with the pole pruner
Sawing techniques
WARNING
- Watch out for falling clippings.
- Be aware of the danger of branches whipping back
NOTE
- Place the stop 32 on the branch. This will help you work more safely and quietly.
- Now you can begin sawing
Sawing off small branches
Saw small branches (Ø 0–8 cm) from the top down (see figure).

Sawing off larger branches
- Before sawing larger branches (Ø 8–25 cm), first make a relief cut A (see figure). A relief cut also prevents peeling of the bark on the main trunk.
- Saw from the top B to the bottom A

Saw in sections
Trim long or thick branches before you make the final cut (see figure).

Working safely
- Keep the tool, the cutting mechanism and the chain guard in good condition to prevent injury.
- If the tool has been dropped, check for significant damage or defects.
- Observe the specified working angle max. 60°±10° to ensure safe working (see figure).

- Do not use the tool while standing on a ladder or with unsteady footing.
- Do not be tempted into making a poorly considered cut. You could endanger yourself and others.
- Children should be supervised to ensure that they do not play with the tool.
- Change your working position regularly. Using the tool for a long time can lead to vibration-related circulation disorders of the hands. You can extend the usage duration by using appropriate gloves or by taking regular breaks. Note that any personal predisposition to poor blood circulation, low external temperatures or large gripping forces can reduce the usage period
Transport
- Use the protective cases 58,59 when transporting the tool.
- To prevent injuries, ensure that the tool cannot switch on during transport (see figure)

Cleaning
Cleaning the engine unit
NOTE
- Clean the tool thoroughly after every use.
- Before cleaning, always switch off the tool and disconnect the spark plug connector 9.
- Clean the tool regularly with a damp cloth and a mild detergent. Make sure that no water can penetrate into the interior of the tool.
Cleaning the pole pruner
The pole pruner must be cleaned of sawdust at regular intervals.
- Remove the sprocket cover 37.
- Remove the saw chain 30 from the blade 29 and clean the guide rail 40.
- Keep the saw chain 30 sharp and check the tension; check the oil level and the oil supply.
Cleaning the hedge trimmer
- Check the hedge trimmer for loose screws on the cutter bar 19 and tighten them, if necessary.
- Remove stuck cuttings.
- Maintain the cutter bar 19 using an oil spray or an oil can
Cleaning the strimmer/cutting blade attachment
- Remove stuck cuttings.
- Keep the 3-tooth cutting blade 48 sharp to facilitate your work
Maintenance
Replacing the strimmer/cutting filament






- The strimmer must be removed as described in section “Installing/ replacing the strimmer”. Press the marking (see Fig. 4a) and remove the cover (see Fig. 4b).
- Remove the spool bobbin from the strimmer housing (see Fig. 4c).
- Remove any remaining cutting filament.
- Double the new cutting filament and hook the loop that you have made into the recess on the spool bobbin (see Fig. 4d).
- Wind the filament tightly in an anticlockwise direction. The spool bobbin separates the two halves of the cutting filament (see Figs.4e and 4f).
- Now take the cover in your hand and place the spool bobbin in it.Make sure that the filament holder of the spool bobbin lines up with the filament guide on the cover.
- Now release the cutting filament from the spool bobbin and guide it through the metal eyes in the cover.
- Put the two halves of the housing back together until they click into place.
- Cut any excess filament back to about 13 cm. This reduces the load on the engine during start-up and while warming up.
- Refit the strimmer (see section “Installing/replacing the strimmer”).
Air filter maintenance
Contaminated air filters reduce engine performance due to low air supply
to the carburettor.
Regular inspection is essential. The air filter must be inspected after every 25 hours of operation and cleaned if necessary.
The air filter must be checked more frequently if you are working in dusty environments.
- Remove the cover of the air filter housing .
- Remove the air filter.
- Clean the air filter by tapping or blowing it out (with compressed air).
- Assembly is done in the reverse order.
ATTENTION
Never clean the air filter with petrol or flammable solvents.
Spark plug maintenance
- Pull off the spark plug connector 9.
- Unscrew the spark plug using the supplied spark plug wrench 64
- Assembly is done in the reverse order
Electrode gap = 0.6 mm (distance between the electrodes between which the ignition spark is generated). Check the spark plug for contamination after the first 10 hours of operation and clean it with a copper wire brush, if required.
Afterwards, service the spark plug after every 50 hours of operation.
Grinding the protective guard blade
The blade A (see Fig. 2a) can become blunt over time. If you notice this has happened, undo the 2 screws that hold the blade A onto the cutting filament protective guard C . Clamp the blade A in a vice. Grind the blade A with a sharpening stone and make sure you maintain the angle of the cutting edge
Adjusting the carburettor
Carburettor adjustments should only be carried out by qualified personnel, the manufacturer or its service department
Lubricating the gears
Add gear grease after every 20 hours of operation (approx. 10 g) to lubricate the angle gear.
- To do this, undo the screw D (see fold-out page) to press the gear grease into the gearbox casing.
- After filling the gearbox, close the lubrication hole with the screw D.
Storage and transportation
- Store the tool in a safe location.
- Store the tool and accessories in a safe location that is protected against naked flames and sources of heat/sparks, such as gas-powered water heaters, dryers, oil stoves or mobile heaters, etc.
- Ensure that the protective guard 47, the strimmer 49 and the engine are free of cutting residue during storage.
- The plastic cover for the 3-tooth cutting blade 48 must be refitted for transport and storage.
- Always switch the tool off before performing any maintenance work and remove the spark plug connector 9.
Storing the tool
The tool must be prepared for storage if it is to be stored for longer than 30 days. Otherwise the residual fuel in the carburettor will evaporate and leave a gooey sediment. This may make starting the tool more difficult and result in expensive repair work.
- Remove the filler cap 13 to relieve any pressure in the petrol tank 12. Carefully empty the petrol tank 12.
- To remove all fuel from the carburettor, start the engine and let it run until it stops.
- Allow the engine to cool for about 10 minutes.
- Remove the spark plug (see section “Spark plug maintenance”).
- Add 1 teaspoon of 2-stroke oil to the combustion chamber. Pull the starter pull cord 11 several times to wet all mechanical parts with oil. Replace the spark plug.
NOTE
Store the tool in a dry place and away from possible ignition sources
Start-up after storage
- Remove the spark plug (see section “Spark plug maintenance”).
- Pull the starter pull cord 11 quickly in order to remove any excess oil from the combustion chamber.
- Clean the spark plug and observe the correct electrode gap on the spark plug.
- Fill the petrol tank 12. See the section “Fuel and oil”
Transport
- If you are planning on transporting the tool, empty the petrol tank as explained in the section “Storage”.
Troubleshooting
Engine unit
| Problem | Possible cause | Troubleshooting | ||
| The engine does not start. | Incorrect start-up process. | Follow the instructions regarding starting. | ||
| The engine starts but does not run at full power. | Incorrect adjustment of the choke lever . | Set the choke lever | ||
| to “ | “. | |||
| Contaminated air filter. | Clean air filter. | |||
| The engine does not run smoothly. | Incorrect spark plug gap. | Clean the spark plug and adjust the spark plug gap or replace the spark plug. | ||
| Soot deposits or wetness on the spark plug. | Incorrect carburettor adjustment. | Clean the spark plug or replace it with a new spark plug. | ||
Pole pruner
| Problem | Possible cause | Troubleshooting |
| Engine is running, saw chain does not move. | Hedge trimmer attachment or pole pruner attachment is not connected properly to the engine unit. | Check assembly. |
| No progress. | Saw chain is dry/over- heating or is sagging. | Top up the oil and regrind, replace or tighten the saw chain . |
Hedge trimmer
| Problem | Possible cause | Troubleshooting |
| Engine is run- ning, blades do not move. | Hedge trimmer attachment or pole pruner attachment is not connected properly to the engine unit. | Check assembly. |
Maintenance intervals
Pole pruner
The figures given here are based on normal operating conditions. In difficult conditions, e.g. heavy dust formation and longer daily working hours, the specified intervals must be shortened accordingly.
| Tool part | Action | Before starting work | Weekly | In the event of an error | In the event of dam- age | As re- quired |
| Chain lubrica- tion | Check | X | ||||
| Saw chain 30 | Check and note sharpness | X | ||||
| Check chain tension | X | |||||
| Sharpen | X | |||||
| Guide rail 40 | Check (wear, damage) | X | ||||
| Clean and turn | X | X | ||||
| Deburr | X | |||||
| Replace | X | X | ||||
| Chain sprocket 42
| Check | X | ||||
| Replace | X |
Hedge trimmer
The figures given here are based on normal operating conditions. In difficult conditions, e.g. heavy dust formation and longer daily working hours, the specified intervals must be shortened accordingly.
| Tool part | Action | Before starting work | After finishing work | As required |
| Cutting blade | Visual inspection | X | ||
| Cleaning | X | X |
Ordering replacement parts
Ordering spare parts
The following information should be provided when ordering spare parts:
- Type of tool
- Item number of the tool
- Device ID number
Current prices and information are available at
NOTE Replacement parts that are not listed (e.g. strimmer, cutting filament) can be ordered via our service hotline.
Disposal
The packaging for this product is made from environmentally friendly material and can be disposed of at your local recycling plant. The device and its accessories are made from various materials, such as metal and plastic. Your local community or municipal authorities can provide information on how to dispose of the worn-out tool.
Dispose of the packaging in an environmen tally friendly manner.
Note the labelling on the packaging and separate the packaging material components for disposal if necessary. The packaging material is labelled with abbreviations (a) and numbers (b) with the following meanings: 1–7: plastics, 20–22: paper and cardboard, 80–98: composites.
Your local community or municipal authorities can provide information on how to dispose of the worn-out product.
Environmental protection
- Carefully empty the petrol and oil tank and dispose of your tool at a recycling plant. The used plastic and metal parts can be separated and recycled.
- Dispose of waste oil and petrol at a waste collection centre and do not dump them into the sewerage or drainage system.
- Dispose of contaminated maintenance material and consumables at a collection point provided for this purpose.
Kompernass Handels GmbH warranty
Dear Customer,
This appliance has a 3-year warranty valid from the date of purchase. If this product has any faults, you, the buyer, have certain statutory rights. Your statutory rights are not restricted in any way by the warranty described below.
Warranty conditions
The warranty period starts on the date of purchase. Please keep your receipt in a safe place. This will be required as proof of purchase. If any material or manufacturing fault occurs within three years of the date of purchase of the product, we will either repair or replace the product for you or refund the purchase price (at our discretion). This warranty service requires that you present the defective appliance and the proof of purchase (receipt) within the three-year warranty period, along with a brief written description of the fault and of when it occurred. If the defect is covered by the warranty, your product will either be repaired or replaced by us. The repair or replacement of a product does not signify the beginning of a new warranty period.
Warranty period and statutory claims for defects
The warranty period is not prolonged by repairs effected under the warranty. This also applies to replaced and repaired components. Any damage and defects present at the time of purchase must be reported immediately after unpacking. Repairs carried out after expiry of the warranty period shall be subject to a fee.
Scope of the warranty
This appliance has been manufactured in accordance with strict quality guidelines and inspected meticulously prior to delivery.
The warranty covers material faults or production faults. The warranty does not extend to product parts subject to normal wear and tear or to fragile parts which could be considered as consumable parts such as switches or parts made of glass.
The warranty does not apply if the product has been damaged, improperly used or improperly maintained. The directions in the operating instructions for the product regarding proper use of the product are to be strictly followed. Uses and actions that are discouraged in the operating instructions or which are warned against must be avoided.
This product is intended solely for private use and not for commercial purposes. The warranty shall be deemed void in cases of misuse or improper handling, use of force and modifications / repairs which have not been carried out by one of our authorised Service centres.
The warranty period does not apply to
- Normal reduction of the battery capacity over time
- Commercial use of the product
- Damage to or alteration of the product by the customer
- Non-compliance with safety and maintenance instructions, operating errors
- Damage caused by natural hazards
Warranty claim procedure
To ensure quick processing of your case, please observe the following instructions:
- Please have the till receipt and the item number (e.g. IAN 12345) available as proof of purchase.
- You will find the item number on the type plate on the product, an engraving on the product, on the front page of the operating instructions (below left) or on the sticker on the rear or bottom of the product.
- If functional or other defects occur, please contact the service department listed either by telephone or by e-mail.
- You can return a defective product to us free of charge to the service address that will be provided to you. Ensure that you enclose the proof of purchase (till receipt) and information about what the defect is and when it occurred.
You can download these instructions along with many other manuals, product videos and installation software at www.lidl-service.com.
This QR code will take you directly to the Lidl service page
(www.lidl-service.com) where you can open your operating instructions by entering the item number (IAN) 352083_2007.
WARNING!
Have your tool repaired by qualified specialists only. Always use original spare parts. This will ensure that the safety of the tool is maintained.
Service
Service Great Britain
Tel.: 0800 404 7657
E-Mail: [email protected]
Service Ireland
Tel.: 1890 930 034
(0,08 EUR/Min., (peak))
(0,06 EUR/Min., (off peak))
E-Mail: [email protected]
IAN 352083_2007
Importer
Please note that the following address is not the service address. Please use the service address provided in the operating instructions.
KOMPERNASS HANDELS GMBH
BURGSTRASSE 21
44867 BOCHUM
GERMANY
www.kompernass.com
Original declaration of conformity
We, KOMPERNASS HANDELS GMBH, document officer: Mr Semi Uguzlu,
BURGSTR. 21, 44867 BOCHUM, GERMANY, hereby declare that this tool complies with the following standards, normative documents and EC directives:
2006/42/EC)
Compliance in accordance with Annex IV of 2006/42/EC
Notification body
TÜV SÜD Product Service GmbH,
Ridlerstrαβe 65, 80339 München, Deutschland (0123)
Certification number: M6A 030574 2373 Rev.01
Electromagnetic compatibility
(2014/30/EU)
Outdoor Noise Directive
(2005/88/EC)
(2000/14/EC)
Emissions directive
2016/1628/EU (modified by the last 2017/656/EU)
RoHS Directive
(2011/65/EU)*
The manufacturer bears sole responsibility for issuing this declaration of conformity. The subject of the declaration described above meets the requirements of Directive 2011/65/EU of the European Parliament and Council of 8 June 2011 on the limitations of use of certain dangerous substances in electrical and electronic tools.
Applied harmonised standards
EN ISO 11806-1:2011
EN ISO 10517: 2019
EN ISO 11680-1:2011
EN ISO 14982:2009
EN 50581:2012
Type/tool designation: 4-in-1 Petrol Multi-Tool PBK 4 A2
Year of manufacture: 10 – 2020
Serial number: IAN 352083_2007
Bochum, 27/10/2020

Semi Uguzlu
– Quality Manager –
We reserve the right to technical changes in the context of further product
development.



























