HAGOR 8423 WH Moto Slim

Caution:
- Technical devices are of considerable value. You should therefore handle the components carefully during installation and protect them if necessary.
- If necessary, the installation area should also be secured. Falling parts can cause injuries and material damage.
- The materials included in the scope of delivery may not be suitable for the special conditions at the installation site. Please check this in advance and replace it with suitable materials if necessary.
- If you are unsure about the installation of the product or have any questions, please contact us or other trained specialists.
Safety instructions
WARNING! FAILURE TO COMPLAY WITH OTHER OBSERVER ALL ASSEMBLY SAFETY AND OPERATING INSTRUCTIONS AND WARNINGS REGARDING THE USE OF THIS PRODUCT MAY RESULT IN SERIOUS BODY INJURY.
The safety of our products, clients and users is our primary concern. To ensure safe operation:
- Read and understand this manual before attempting to install or operate the product . Verify that everyone who uses the stand is informed of the contents of this manual.
- This is the responsibility of the purchaser.
- Leave this manual near the product and if possible, permanently affixed to the stand.
Safe use of the system is possible only when the operating instructions are read completely and the instructions contained are strictly observed. Failure to comply with instructions below may result in serious damage to the system or one of its components. Persons who do not have the necessary experience or knowledge of the produsts must not use the product. Persons with reduced physical or mental abilities must not use the product, unless they are under supervision or they have been thoroughly instructed in the use of the apparatus by a person who is responsible for the safety of these persons.
Children must remain under close supervision to ensure that they do not play with the product.
- It is important for everyone who is installing or using the product to have the necessary information and access to this User Manual.
- If there is visible damage on the product it must not be installed.
- The product is not intended for use by young children or for those persons who require supervision.
- Children should be supervised to ensure that they do not tamper or play with the product.
Before Installation, Reinstallation, or Troubleshooting:
- Stop the product.
- Turn the power supply off by pressing the switch on extension. Unplug the power cable from the wall outlet.
- Remove all attached objects from the stand (LCD, speakers, PC…).
Before Start-up:
- Make sure the products has been installed as specified in this manual.
- System Connection – the individual parts must be connected before the control box is connected to the main power supply.
- If the control box makes unusual noises, switch off the main power supply immediately.
- Make sure the cables are not damaged or too tight/short.

Scope of delivery

Needed Tools (not included)
Use only suitable wall mounting material. The use of unsuitable fixing material may result in injury or damage. Wall mounting may only be carried out by qualified personnel.
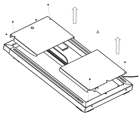
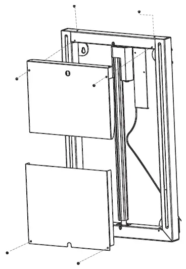
INSTALLATION









System diagram

Installation must be accomplished by qualified personnel!
Only connect the unit to a 110 – 230 V / 50 Hz earthed socket. Only use the unit in dry rooms and protect it from water and other liquids. To avoid the risk of electric shock, do not open the switch box or lift the unit. There are no parts inside that require maintenance. In case of problems, unplug the appliance from the mains and contact an authorised technical service centre.
Maintenance and care
Clean the product and other components regularly from dust and dirt and check them for damage and breakages. Check the connections, cables and plugs and check the correct function and safety of the connection points.
Maximum duty cycle:
Regardless of the load, the duty cycle is 10%, max. 2 min. operation/min. 18 min STOP. It must NOT be exceeded during continuous operation, as this can lead to overheating of the motors and the control box. Exceeding the duty cycle will drastically shorten the life of the system.
Warranty
We declare:
- that the product will operate correctly during the warranty period if you follow the instructions.
- that defects and technical faults of the product occurring during the guarantee period, which have occurred during normal use in our company or in the company of the contract partner, will be repaired within a maximum period of 45 days. This also includes the transport costs for the most favourable, suitable dispatch. Upon request, we will replace the product with a new product or refund the amount paid if it cannot be repaired within the aforementioned period.
Warranty does not apply:
- If the defects and malfunctions of the product are the results of incorrect handling of the product by the customer (non-compliance with the instructions for use of the product)
- If the buyer does not submit or there is no date of sale and stamp of the seller on the warranty paper
- If the product has been tampered with by an unauthorized person
- If the customer has handled the product unprofessionally and negligently or has installed the software incorrectly
- If non-original parts have been incorporated into the product
- If the advertised parts do not have the manufacturer‘s label or the inviolability of the label is clearly in dispute.
The seller does not guarantee:
- Defects and injuries arising during transport after dispatch of the goods
- Malfunctions due to improper installation or maintenance
- Mechanical damage caused by the user
- Faults due to overvoltage, force majeure, battery leakage, etc.
- Software errors
HAGOR Products GmbH | Oberbecksener Straße 97 | D-32547 Bad Oeynhausen
Telefon: +49(0)57 31-7 55 07-0
Mail: [email protected]


















