RCP 101 D Remote Control Panels
User Guide
IMPORTANT
Go to complete user guide and installation www.extron.com connecting the rce. instructions befor product to the power source.
Overview
NOTE: This product is for use only with Extron UL Listed Streaming Media Processor products.
The RCP 101 D is a remote control panel with backlit transport controls for SMP series products. It carries out the same functions as the SMP front panel transport controls and the USB type A port supports USB flash drives and external USB portable drives.
The RCP 101 D can be mounted in walls and furniture in any standard 1-gang US opening. It is available with black and white faceplates to compliment a wide range of environments.
This guide provides basic instructions for an experienced installer to install the RCP 101 D and contains the following sections:
- RCP 101 D Front Panel Features
- RCP 101 D Rear Panel Features
- Installation
- Configuration
- Making a Recording
RCP 101 D Front Panel Features
The recording controls have backlit buttons that indicate the current state of the recording operation. Inactive buttons are backlit dimly to help identify them in low ambient lighting.
A Record button — Press this button to record one or more of the selected inputs. The button lights red and remains lit during active recording. The button has a nub that can be felt with the fingertips.
B Activity LED — This LED blinks green once when a button press is detected. It blinks red when a display or notify alarm on the attached SMP is triggered.
C Stop button — Press this button to stop the active recording. As the recorded file is finalized, the button blinks. Once the file is finalized, the button lights solidly.
D Pause button — Press this button to pause the active recording. While the recording is paused, this button blinks.
Press Record or Pause to resume recording. Press Stop to end the recording.
E Mark button — Press this button to place a chapter marking in the recorded file.
When pressed during active recording, the button momentarily blinks.
The button also lights when JPG thumbnails are created. By default, thumbnails are created automatically and the interval between the creation of each thumbnail can be changed by the user on the SMP embedded webpage.
F USB storage port — Connect a USB compatible media storage device to this port.
This storage device can be any standard external hard drive or USB flash drive formatted with a compatible file system.
NOTE: SMP models can detect and record to USB storage devices that use FAT32, VFAT long file name extensions, EXT2, EXT3, EXT4 file system, or NTFS-formatted storage volumes.
G USB Storage LED — This LED indicates the status of the storage port:
- It lights green solidly when the recording destination is set to RCP USB or Auto and the attached storage device is ready for the next recording. The LED does not turn on if less than 10 minutes of recording space remain on the storage device.
- It blinks green during a recording to indicate data transfer activity.
- It turns off when no USB storage device is detected or the attached storage is disconnected.
Front Panel Lockout (Executive Mode)
When front panel lockout is on, all the buttons on the RCP 101 D are disabled. To toggle between enabling or disabling front panel lockout, press and hold the Pause and Mark buttons simultaneously for three seconds.
As front panel lockout is enabled, all buttons and the red activity LED (
B) blink three times. As front panel lockout is disabled, all the buttons and the green activity LED (
B) blink three times. If a button is pressed while front panel lockout is on, all buttons blink three times.
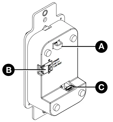
RCP 101 D Rear Panel Features
Figure 2. RCP 101 D Rear Panel (Shown without Wallplate)
A Cable anchor — Use a zip tie to secure the USB cable to this anchor.
B Power input — The RCP 101 D can be powered with a 12 VDC, 1.5 A power supply or by connecting it to the SMP unit.
- To power the unit with a power supply, connect the provided power supply to this input. Ensure that the polarity of the wires is correct (figure 3, 1) and the wires are stripped correctly ( 2).
- To power the unit by connecting it to the SMP, use the provided cable to connect this input to the 2-pin power connector on the rear panel of the SMP.

Figure 3. Connecting power to the RCP 101 D
ATTENTION:
- Always use a power supply supplied or specified by Extron. Use of an unauthorized power supply voids all regulatory compliance certification and may cause damage to the supply and the unit.
- If not provided with a power supply, this product is intended to be supplied by a UL Listed power source marked “Class 2” or “LPS” and rated output 12 VDC, minimum 1.0 A.
- Unless otherwise stated, the AC/DC adapters are not suitable for use in air handling spaces or in wall cavities.
- The installation must always be in accordance with the applicable provisions of National Electrical Code ANSI/ NFPA 70, article 725 and the Canadian Electrical Code part 1, section 16. The power supply shall not be permanently fixed to building structure or similar structure.
C USB connector — Connect the RCP 101 D to the SMP using the provided 15 foot (4.5 meter) USB mini B to USB type A cable. Insert the USB mini B connector into the USB port on the RCP 101 D rear panel. Connect the other end of the cable to the control USB A port on the rear panel of the SMP. To increase the distance up to 300 feet (100 m), use an Extron Extender Plus Series twisted pair extender (see www.extron.com).
Installation
ATTENTION:
- Installation and service must be performed by authorized personnel only.
- Extron recommends installing the RCP 101 D into a grounded, UL Listed electrical junction box.
- If the RCP 101 D will be installed into fine furniture, it is best to hire a licenced, bonded craftsperson to cut the access hole and perform the physical installation so the surface will not be damaged.
- Follow all national and local building and electrical codes that apply to the installation site.
- All electrical installation should be performed by qualified personnel in accordance with local and national building codes, fire and safety codes, and local and national electrical codes.
Step 1: Prepare the Installation Site
Americans with Disabilities Act (ADA) compliance
When planning where to install these devices, you may need to consider factors affecting accessibility of the button panel such as height from the floor, distance from obstructions, and how far a user must reach to press the buttons. For guidelines, see sections 307 (“Protruding Objects”) and 308 (“Reach Ranges”) of the 2010 ADA Standards for Accessible Design available at http://www.ada.gov/regs2010/2010ADAStandards/2010ADAStandards.pdf.
Site preparation
The RCP 101 D fits any standard US 1-gang wall opening. The unit ships with a mud ring. In addition, Extron offers an assortment of optional UL Listed in-wall electrical junction boxes, external wall boxes (EWBs), and surface or tabletop mounting boxes (see www.extron.com).
Step 2: Cable All Devices
Run the power and USB cables to the required destination but do not connect them until you have mounted the unit.
ATTENTION:
- Do not connect a power supply before reading the Attention notifications in the “Power connector” section on page 2.
Step 3: Mount the Remote Control Plate
The RCP 101 D can be installed directly into the wall using a 1-gang wall mounting bracket (mud ring) or a UL Listed electrical junction box.
The RCP 101 D ships with one black and one white wallplate. Either wallplate can be used to complement the surroundings.
Mounting with a wall mounting bracket
Mount the RCP 101 D with a wall mounting bracket as follows:
Figure 4. Mounting with a Wall Mounting Bracket
- Mark the position of the hole (3.61″ [9.17 cm] H x 2.13″ [5.42 cm] W) on the wall in the desired location. Use a level to ensure hole is marked at the correct angle.
- Use a drywall saw to cut a hole ( 1).
- Insert the mounting bracket into the hole. Use a screwdriver to turn and tighten the locking arms until they clamp the mud ring to the mounting surface ( 2). Do not overtighten.
- Attach cables as described in RCP 101 D Rear Panel Features on page 2. 5. Use the two provided Phillips head screws to secure the button panel to the mounting bracket ( 3). 6. Use the two screws provided to secure the Decoratorstyle wallplate to the button panel ( 4).
Mounting with a UL Listed electrical junction box
The wall box is not provided and must be purchased separately. Ensure the wall box is the correct size for the RCP 101 D.
Figure 5. Mounting with an Electrical Junction Box
Removing the RCP 101 D
If you need to remove the RCP 101 D from the wall, you can do so by reversing the steps shown in figure 4 or figure 5:
- Disconnect the RCP 101 from the power source.
- Undo the two screws securing the faceplate to the control plate and remove the wallplate (figure 5, 2).
- Undo the two screws securing the control plate to the wall mounting bracket or the electrical junction box ( 1).
- Remove the power cable (figure 2, B) and the USB cable ( C). If necessary, cut the zip tie securing the USB cable to the cable anchor ( C).
Configuration
SMP Web Page
The RCP 101 D can be configured from the SMP web page. Use a PC connected to the same subnet as the SMP.
- Open a Web browser and enter the IP address of the SMP (see the User Guide for your SMP model).
You may need to log on as admin.
The SMP Web page opens. - To confirm that the RCP 101 is connected to the SMP, click Configuration (figure 6,
1), System Settings ( 2), and Unit Identification ( 3).
When the RCP 101 D is not connected, or not detected by the SMP, the following information is displayed:
When the RCP 101 D is detected by the SMP, the following information is displayed:
- To save a recording to the USB device inserted into the RCP 101 D, click Configuration ( 1), System Settings (2), and Recording Media Selection ( 4).
From the Recording Destination drop-down menu, or the Secondary Recording Destination drop-down menu, as appropriate, select RCP USB. 111
Figure 6. SMP Web Page - To configure Front Panel Lockout, click Configuration ( 1), System Settings ( 2), and Executive Mode ( 5).
The options shown in figure 8 are available only when the RCP 101 D is detected. By default:
- Front Panel Lockout (Executive Mode) is disabled (see Front Panel Lockout (Executive Mode) on page 1).
- Beep when button is pressed is enabled.
- Beep when alarm is triggered is disabled.
Select or deselect the appropriate checkbox to enable or disable those options.
Firmware
The firmware version installed on the RCP 101 D must be compatible with the firmware installed on the SMP. To ensure this, the RCP 101 D firmware is managed automatically by the SMP series products. The firmware version of the RCP 101 D can be found on the SMP embedded web page under Configuration > System Settings > Unit Identification.
When the remote control panel is first connected to the SMP, the SMP checks the firmware version on the RCP 101 D and, if necessary automatically updates the panel firmware to a compatible version.
If you update the SMP firmware, the RCP 101 D firmware is automatically updated at the same time. For more information about updating SMP firmware, see the SMP User Guide at www.extron.com.
Making a Recording
Once the SMP and RCP 101 D are installed, and configured, follow these instructions to make a recording using the RCP 101 D:
- Open the SMP web page to ensure the recording will be saved to the correct drive and that the recording media is attached to the correct drive.
- Use the RCP 101 D to start the recording by pressing the Record button (figure 1, A, on page 1).
- If required, add a chapter marking by pressing the Mark button ( E).
- If required, pause the recording by pressing the Pause button ( D).
Restart the recording by pressing the Pause button a second time or by pressing the Record button. - End the recording by pressing the End button ( C).
For more information, see the SMP User Guide at www.extron.com.
For information on safety guidelines, regulatory compliances, EMI/EMF compatibility, accessibility, and related topics, see the Extron Safety and Regulatory Compliance Guide on the Extron website.
© 2016 – 2021 Extron Electronics — All rights reserved. www.extron.com
All trademarks mentioned are the property of their respective owners.
When the RCP 101 D is detected by the SMP, the following information is displayed:
Figure 6. SMP Web Page

















