

122C, 122LK
Introduction
Product description
The product is a grass trimmer with a combustion engine. Work is constantly in progress to increase your safety and efficiency during operation. Speak to your servicing dealer for more information.
Intended use
The product is used with a trimmer head to cut grass. Do not use the product for other tasks than grass trimming and grass clearing.
Note: National regulations can set limits to the operation of the product.
Product overview

- Trimmer’s head
- Cutting attachment guard
- Shaft
- Loop handle
- Throttle trigger
- Stop switch
- Throttle trigger lockout
- Spark plug cap and spark plug
- Starter rope handle
- Fuel tank
- Air filter cover
- Air purge bulb
- Choke control
- Operator’s manual
- Combination wrench
- Starter housing
- Shaft coupling
- Bevel gear
- Grease filler cap, bevel gear
- Drive disc
Symbols on the product
WARNING! This product is dangerous. Injury or death can occur to the operator or bystanders if the product is not used carefully and correctly. To prevent injury to the operator or bystanders, read and obey all safety instructions in the operator’s manual.
Read the operator’s manual carefully and make sure that you understand the instructions before use
Use a protective helmet in locations where objects can fall on you. Use approved hearing protection. Use approved eye protection.
Maximum speed of the output shaft.
The product agrees with the applicable EC directives.
The product can cause objects to eject, which can cause injury.
Keep a minimum of 15 m distance to persons and animals during the operation of the product.
Use approved protective gloves.
Use heavy-duty slip-resistant boots.
Only use flexible cutting wire. Do not use metal cutting attachments.
Noise emission to the environment refers to the European Community’s Directive. The emission of the product is specified in the Technical data chapter and on the label.
Air purge bulb.
Choke.
yyyywwxxxxThe rating plate shows the serial number. yyyy is the production year, ww is the production week.
Note: Other symbols/decals on the product refer to certification requirements for other commercial areas.
The Emissions Compliance Period referred to on the Emission Compliance label indicates the number of operating hours for which the engine has been shown to meet Federal and California emissions requirements.
California Proposition 65
WARNING
The engine exhaust from this product contains chemicals known to the State of California to cause cancer, birth defects, or other reproductive harm.
Customer assistance
For customer assistance, call: 1-800-487-5951 or visit www.husqvarna.com.
Product liability
As referred to in the product liability laws, we are not liable for damages that our product causes if:
- the product is incorrectly repaired.
- the product is repaired with parts that are not from the manufacturer or not approved by the manufacturer.
- the product has an accessory that is not from the manufacturer or not approved by the manufacturer.
- the product is not repaired at an approved service center or by an approved authority.
Safety
Safety definitions
Warnings cautions and notes are used to point out especially important parts of the manual.
WARNING: Used if there is a risk of injury or death for the operator or bystanders if the instructions in the manual are not obeyed.
CAUTION: Used if there is a risk of damage to the product, other materials, or the adjacent area if the instructions in the manual are not obeyed.
Note: Used to give more information that is necessary in a given situation.
General safety instructions
WARNING: Read the warning instructions that follow before you use the product.
- Use the product correctly. Injury or death is a possible result of incorrect use. Only use the product for the tasks found in this manual. Do not use the product for other tasks.
- Obey the instructions in this manual. Obey the safety symbols and the safety instructions. If the operator does not obey the instructions and the symbols, injury, damage or death is a possible result.
- Do not discard this manual. Use the instructions to assemble, operate, and keep your product in good condition. Use the instructions for the correct installation of attachments and accessories. Only use approved attachments and accessories.
- Do not use a damaged product. Obey the maintenance schedule. Only do the maintenance work that you find instruction about in this manual. An approved service center must do all other maintenance work.
- This manual cannot include all situations that can occur when you use the product. Be careful and use your common sense. Do not operate the product or
do maintenance on the product if you are not sure about the situation. Speak to a product expert, your dealer, service agent, or approved service
center for information. - Disconnect the spark plug cable before you assemble the product, put the product into storage, or do maintenance.
- Do not use the product if it is changed from its initial specification. Do not change a part of the product without approval from the manufacturer. Only use
parts approved by the manufacturer. Injury or death is a possible result of incorrect maintenance. - Do not breathe in the fumes from the engine. Long-term inhalation of the engine’s exhaust fumes is a health risk.
- Do not start the product indoors or near flammable material. The exhaust fumes are hot and can contain a spark that can start a fire. Not sufficient airflow can cause injury or death because of asphyxiation or carbon monoxide.
- When you use this product the engine makes an electromagnetic field. The electromagnetic field can cause damage to medical implants. Speak to your
physician and medical implant manufacturer before you operate the product. - Do not let a child operate the product. Do not let a person without knowledge of the instructions operate the product.
- Make sure that you always monitor a person, with decreased physical capacity or mental capacity, that uses the product. A responsible adult must be there
at all times. - Lock the product in an area that children and unapproved persons cannot access.
- The product can eject objects and cause injuries. Obey the safety instructions to decrease the risk of injury or death.
- Do not go away from the product when the engine is on.
- The operator of the product is responsible if an accident occurs.
- Make sure that parts are not damaged before you use the product.
- Make sure that you are at a minimum of 15 m (50 ft) away from other persons or animals before you use the product. Make sure that persons in the adjacent
area know that you will use the product. - Refer to national or local laws. They can prevent or decrease the operation of the product in some conditions.
- Do not use the product if you are fatigued or influenced by alcohol, drugs, or medicine. They can have effects on your vision, alertness, coordination, or judgment.
Safety instructions for assembly
WARNING: Read the warning instructions that follow before you use the product.
- Remove the spark plug cap from the spark plug before you assemble the product.
- Use approved protective gloves.
- Make sure that you assemble the cover and shaft correctly before you start the engine.
Safety instructions for operation
- Make sure the product is fully assembled before you use it.
- Before a start, move the product 3 m (10 ft) away from the position where you filled the fuel tank. Put the product on a flat surface. Make sure that the
cutting attachment does not touch the ground or other objects. - The product can cause objects to eject, which can cause damage to the eyes. Always use approved eye protection when you operate the product.
- Be careful, a child can come near the product without your knowledge during operation.
- Do not operate the product if there are persons in the work area. Stop the product if a person goes into the work area.
- Make sure that you are always in control of the product.
- Do not use the product if you cannot receive aid if an accident occurs. Always make sure others know you will operate the product before you start to operate the product.
- Do not turn with the product before you make sure that no persons or animals are in the safety area.
- Remove all unwanted materials from the work area before you start. If the cutting attachment hits an object, the object can eject and cause injury or
damage. Unwanted material can wind around the cutting attachment and cause damage. - Do not use the product in bad weather (fog, rain, strong winds, risk of lightning, or other weather conditions.). Dangerous conditions (such as slippery
surfaces) can occur because of bad weather. - Make sure that you can move freely and work in a stable position.

- Make sure that you cannot fall when you use the product. Do not tilt when you operate the product.
- Always hold the product with your two hands. Hold the product on the right side of your body.

- Operate the product with the cutting attachment below your waist.
- If the choke control is in the choke position when the engine starts, the cutting attachment starts to turn.
- Do not touch the bevel gear after the engine stops. The bevel gear is hot after the engine stops. Hot areas can cause injury.
- Stop the engine before you move the product.
- Do not put down the product with the engine on.
- Before you remove the unwanted materials from the product, stop the engine and wait until the cutting attachment stops. Let the cutting attachment stop
before you or an aid remove the cut material.
Personal protective equipment
WARNING: Read the warning instructions that follow before you use the product.
- Always use approved personal protective equipment when you use the product. Personal protective equipment cannot fully prevent injury but it decreases the degree of injury if an accident does occur. Let your dealer help you select the right equipment.
- Use a protective helmet where there is a risk of falling objects.

- Use approved hearing protection that provides adequate noise reduction. Long-term exposure to noise can result in permanent hearing impairment.

- Use approved eye protection. If you use a visor, you must also use approved protective goggles. Approved protective goggles must comply with the ANSI Z87.1 standard in the USA or EN 166 in EU countries.

- Use gloves when necessary, for example when you attach, examine or clean the cutting equipment.

- Use sturdy non-slip boots.

- Use clothing made of a strong fabric. Always use heavy, long pants and long sleeves. Do not use loose clothing that can catch on twigs and branches. Do not wear jewelry, short pants, sandals, or go with bare feet. Put your hair up safely above shoulder level.
- Keep first aid equipment close at hand.

Safety devices on the product
WARNING: Read the warning instructions that follow before you use the product.
- Do not use a product with defective safety devices.
- Do a check of the safety devices regularly. Refer to Maintenance schedule on page 14.
- If the safety devices are defective, speak to your Husqvarna servicing dealer.
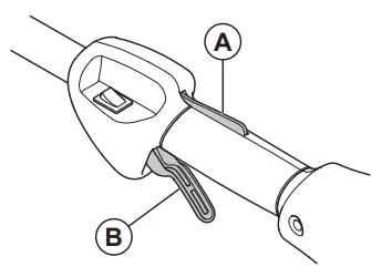
To do a check of the throttle trigger lockout
- Make sure that the throttle trigger lockout (A) and throttle trigger (B) move freely and that the return spring works correctly.

- Push down the throttle trigger lockout and make sure that it goes back to its initial position when you release it.

- Make sure that the throttle trigger is locked at the idle position when the throttle trigger lockout is released.

- Start the product and apply full throttle.
- Release the throttle trigger and make sure that the blades stop and stay stationary.
WARNING: If the blades move when the throttle trigger is in the idle position, then the carburetor’s idle speed must be adjusted. Refer to To adjust the idle
speed on page 14.
To do a check of the stop switch
- Start the engine.
- Move the stop switch to the stop position and make sure that the engine stops.

To do a check of the cutting attachment guard
The cutting attachment guard stops objects that eject in the direction of the operator. It also prevents injuries that occur if you touch the cutting attachment.
- Stop the engine.
- Do a visual check for damages, for example, cracks.

- Replace the cutting attachment guard if it is damaged.
Muffler
- Do not use an engine with a damaged muffler. A damaged muffler increases the noise level and the risk of fire. Keep a fire extinguisher near.
- Examine regularly that the muffler is attached to the product.
- Do not touch the engine or the muffler when the engine is on. Do not touch the engine or the muffler for a while after the engine stops. Hot surfaces can
cause injuries. - A hot muffler can cause a fire. Be careful, if you use the product near flammable liquids or fumes.
- Do not touch the parts in the muffler if the muffler is damaged. The parts can contain some carcinogenic chemicals.
Cutting attachment
WARNING: Read the warning instructions that follow before you use the product.
- Do regular maintenance. Let an approved service center regularly examine the cutting attachment to do adjustments or repairs.
- The performance of the cutting attachment increases.
- The life of the cutting attachment increases.
- The risk of accidents decreases.
- Only use an approved cutting attachment guard. Refer to Accessories on page 19.
- Do not use a damaged cutting attachment.
Fuel safety
WARNING: Read the warning instructions that follow before you use the product.
- Do not mix the fuel indoor or near a heat source.
- Do not start the product if there is fuel or engine oil on the product. Remove the unwanted fuel/oil and let the product dry. Remove unwanted fuel from the
product. - If you spill fuel on your clothing, change clothing immediately.
- Do not get fuel on your body, it can cause injury. If you get fuel on your body, use soap and water to remove the fuel.
- Do not start the engine if you spill oil or fuel on the product or on your body.
- Do not start the product if the engine has a leak. Examine the engine for leaks regularly.
- Be careful with fuel. Fuel is flammable and the fumes are explosive and can cause injuries or death.
- Do not breathe in the fuel fumes, it can cause injury. Make sure that there is sufficient airflow.
- Do not smoke near the fuel or the engine.
- Do not put warm objects near the fuel or the engine.
- Do not add the fuel when the engine is on.
- Make sure that the engine is cool before you refuel.
- Before you refuel, open the fuel tank cap slowly and release the pressure carefully.
- Do not add fuel to the engine in an indoor area. Not sufficient airflow can cause injury or death because of asphyxiation or carbon monoxide.
- Tighten the fuel tank cap carefully or a fire can occur.
- Move the product at a minimum of 3 m (10 ft) from the position where you filled the tank before a start.
- Do not put too much fuel in the fuel tank.
- Make sure that a leak cannot occur when you move the product or fuel container.
- Do not put the product or a fuel container where there is an open flame, spark, or pilot light. Make sure that the storage area does not contain an open
flame. - Only use approved containers when you move the fuel or put the fuel into storage.
- Empty the fuel tank before long-term storage. Obey the local law on where to dispose of fuel.
- Clean the product before long-term storage.
- Remove the spark plug cap before you put the product into storage to make sure that the engine does not start accidentally.
Safety instructions for maintenance
WARNING: Read the warning instructions that follow before you use the product.
- Stop the engine, make sure that the cutting attachment stops, and let the product cool down before you do the maintenance.
- Disconnect the spark plug cap before you do the maintenance.
- The exhaust fumes from the engine contain carbon monoxide, an odorless, poisonous, and very dangerous gas that can cause death. Do not run the
product indoors or in closed spaces. - The exhaust fumes from the engine are hot and can contain sparks. Do not run the product indoors or near flammable material.
- Accessories and changes to the product that are not approved by the manufacturer, can cause serious injury or death. Do not change the product. Always
use original accessories. - If the maintenance is not done correctly and regularly, there is an increased risk of injury and damage to the product.
- Only do the maintenance as this operator’s manual recommends. Let an approved Husqvarna service agent do all other servicing.
- Let an approved Husqvarna service agent do service on the product regularly.
- Replace damaged, worn, or broken parts.
- Refer to the instructions for the cutting attachment for the correct procedure to install the trimmer cord and correct cord diameter.
- Keep the teeth of the blade correctly sharpened. Obey our recommendations. Also, refer to the instructions on the blade package.
Assembly
Introduction
WARNING: Before you assemble the product, you must read and understand the safety chapter.
WARNING: Remove the spark plug cable from the spark plug before you assemble the product.
To attach the loop handle
- Attach the loop handle to the shaft in compliance with the illustration and tighten.

- Make sure that the loop handle attaches between the arrows on the shaft.
To attach the cutting attachment guard and the trimmer head (straight shaft)
- Attach the cutting attachment guard (A) to the shaft with the bolt (L).
- Attach the drive disc (B) to the output shaft.
- Turn the output shaft until the hole in the drive disc aligns with the hole in the gear housing.
- Put a small screwdriver (C) in the hole to lock the shaft.

- Turn the trimmer head (H) counterclockwise to tighten the trimmer head to the gearbox. (Left-hand threads.)

To attach the cutting attachment guard and trimmer head (curved shaft)
- Attach the guard. Tighten the nut.

- Attach the dust cap on the shaft.

- Hold the dust cup with an adjustable wrench to make sure the shaft does not turn.
- Attach the trimmer head to the shaft. Turn the trimmer head clockwise.
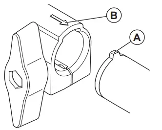
To assemble the two-piece shaft
- Turn the knob to loosen the coupling.

- Align the tab (A) with the arrow (B) on the coupling.

- Push the shaft into the coupling until it clicks into position.

- Tighten the knob fully.

To disassemble the two-piece shaft
- Turn the knob 3 turns or more to loosen the coupling.

- Push and hold the button (C).
- Hold tight in the end of the shaft that the engine is attached to.
- Pull the attachment straight out of the coupling.
Operation
Introduction
WARNING: Before you operate the product, you must read and understand the safety chapter































