325iLK+TAB850 String Trimmer
User Manual

Introduction
Intended use
Use the product with a trimmer head to cut different types of vegetation. Do not use the product for other tasks than grass trimming and grass clearing.
Note: National or local regulations can regulate the use. Comply with given regulations.
Only use the product with accessories that are approved by the manufacturer. See Accessories on page 18.
Product overview

| 1. Operator’s manual | 14. Power trigger lockout |
| 2. Bevel gear | 15. Keypad |
| 3. Hole for locking pin | 16. Power trigger |
| 4. Trimmer’s head | 17. Battery charger cord |
| 5. Cutting attachment guard | 18. Battery charger |
| 6. 4 mm hex | 19. Power and Warning LED |
| 7. Loop handle | 20. Battery release buttons |
| 8. Knob | 21. Battery |
| 9. Shaft | 22. LED indicator for the state of charge |
| 10. Locking pin | 23. Warning LED |
| 11. User interface | 24. Battery indicator button |
| 12. Start/stop button | 25. Coupling for attachment |
| 13. Speed mode button |
Symbols on the product
WARNING! This product can be dangerous! Careless or incorrect use can result in serious or fatal injury to the operator or others. It is extremely important that you read and understand the contents of the operator’s manual.
Please read the operator’s manual carefully and make sure you understand the instructions before the product is used.
Use a protective helmet in locations where objects can fall on you. Use approved hearing protection. Use approved eye protection.
Maximum speed of the output shaft.
Rated voltage, V
Direct current.
The product can cause objects to eject, which can cause injury.
The product agrees with the applicable EC directives.
Use approved protective gloves.
Use heavy-duty slip-resistant boots.
Only use non-metallic, flexible cutting attachments, i.e. trimmer heads with trimmer cord.
Symbols on the product or its packaging indicate that this product cannot be handled as domestic waste. This product must be deposited at an appropriate recycling facility.
The operator must ensure that no people or animals come closer than 15 meters. When several operators are working at the same site a safety distance of at least 15 meters must be in effect. The attachment can forcibly throw objects that can bounce back. This can result in serious eye injuries if the recommended safety equipment is not used.
Do not use it in rain.
Keep all parts of your body away from the hot surfaces.
Noise emission to the environment according to the European Community’s Directive. The attachment’s emission is specified in the Technical data chapter and on the label.
| yyyywwxxxx | The rating plate shows the serial number. yyyy is the production year, ww is the production week and xxxx is the sequential number. |
Note: Other symbols/decals on the product refer to certification requirements for other commercial areas.
Manufacturer
Husqvarna AB
Drottninggatan 2, SE-561 82 Huskvarna, Sweden, tel: +46-36-146500
Product liability
As referred to in the product liability laws, we are not liable for damages that our product causes if:
- the product is incorrectly repaired.
- the product is repaired with parts that are not from the manufacturer or not approved by the manufacturer.
- the product has an accessory that is not from the manufacturer or not approved by the manufacturer.
- the product is not repaired at an approved service center or by an approved authority.
Safety
Safety definitions
Warnings cautions and notes are used to point out especially important parts of the manual.
WARNING: Used if there is a risk of injury or death for the operator or bystanders if the instructions in the manual are not obeyed.
CAUTION: Used if there is a risk of damage to the product, other materials, or the adjacent area if the instructions in the manual are not obeyed.
Note: Used to give more information that is necessary for a given situation.
General power tool safety warnings
WARNING: Read all safety warnings, instructions, illustrations, and specifications provided with this power tool. Failure to follow all instructions listed below may result in electric shock, fire, and/or serious injury.
- Save all warnings and instructions for future reference. The term “power tool” in the warnings refers to your mains-operated (corded) power tool or battery-operated (cordless) power tool.
Work area safety
- Keep work area clean and well-lit. Cluttered or dark areas invite accidents.
- Do not operate power tools in explosive atmospheres, such as in the presence of flammable liquids, gases, or dust. Power tools create sparks that may ignite dust or fumes.
- Keep children and bystanders away while operating a power tool. Distractions can cause you to lose control.
Electrical safety
- Power tool plugs must match the outlet. Never modify the plug in any way. Do not use any adapter plugs with earthed (grounded) power tools.
Unmodified plugs and matching outlets will reduce the risk of electric shock. - Avoid body contact with earthed or grounded surfaces, such as pipes, radiators, ranges, and refrigerators. There is an increased risk of electric shock if your body is earthed or grounded.
- Do not expose power tools to rain or wet conditions.
Water entering a power tool will increase the risk of electric shock. - Do not abuse the cord. Never use the cord for carrying, pulling, or unplugging the power tool. Keep cord away from heat, oil, sharp edges or moving parts. Damaged or entangled cords increase the risk of electric shock.
- When operating a power tool outdoors, use an extension cord suitable for outdoor use. The use of a cord suitable for outdoor use reduces the risk of electric shock.
- If operating a power tool in a damp location is unavoidable, use a residual current device (RCD) protected supply. The use of an RCD reduces the risk of electric shock.
Personal safety
- Stay alert, watch what you are doing, and use common sense when operating a power tool. Do not use a power tool while you are tired or under the influence of drugs, alcohol, or medication. A moment of inattention while operating power tools may result in serious personal injury.
- Use personal protective equipment. Always wear eye protection. Protective equipment such as dust masks, non-skid safety shoes, hard hats or hearing protection used for appropriate conditions will reduce personal injuries.
- Prevent unintentional starting. Ensure the switch is in the off-position before connecting to a power source and/or battery pack, picking up or carrying the tool. Carrying power tools with your finger on the switch or energizing power tools that have the switch on invites accidents.
- Remove any adjusting key or wrench before turning the power tool on. A wrench or a key left attached to a rotating part of the power tool may result in personal injury.
- Do not overreach. Keep proper footing and balance at all times. This enables better control of the power tool in unexpected situations.
- Dress properly. Do not wear loose clothing or jewelry. Keep your hair and clothing away from moving parts. Loose clothes, jewelry, or long hair can be caught in moving parts.
- If devices are provided for the connection of dust extraction and collection facilities, ensure these are connected and properly used. Use of dust collection can reduce dust-related hazards.
- Do not let familiarity gained from frequent use of tools allow you to become complacent and ignore tool safety principles. A careless action can cause severe injury within a fraction of a second.
Power tool use and care
- Do not force the power tool. Use the correct power tool for your application. The correct power tool will do the job better and safer at the rate for which it was designed.
- Do not use the power tool if the switch does not turn on and off. Any power tool that cannot be controlled with the switch is dangerous and must be
repaired. - Disconnect the plug from the power source and/or remove the battery pack, if detachable, from the power tool before making any adjustments, changing accessories, or storing power tools. Such preventive safety measures reduce the risk of starting the power tool accidentally.
- Store idle power tools out of the reach of children and do not allow persons unfamiliar with the power tool or these instructions to operate the power tool. Power tools are dangerous in the hands of untrained users.
- Maintain power tools and accessories. Check for misalignment or binding of moving parts, breakage of parts, and any other condition that may affect the power tool´s operation. If damaged, have the power tool repaired before use. Many accidents are caused by poorly maintained power tools.
- Keep cutting tools sharp and clean. Properly maintained cutting tools with sharp cutting edges are less likely to bind and are easier to control.
- Use the power tool, accessories and tool bits, etc. in accordance with these instructions, taking into account the working conditions and the work to be performed. Use of the power tool for operations different from those intended could result in a hazardous situation.
- Keep handles and grasping surfaces dry, clean, and free from oil and grease. Slippery handles and grasping surfaces do not allow for safe handling and control of the tool in unexpected situations.
Battery tool use and care
- Recharge only with the charger specified by the manufacturer. A charger that is suitable for one type of battery pack may create a risk of fire when used with another battery pack.
- Use power tools only with specifically designated battery packs. Use of any other battery packs may create a risk of injury and fire.
- When the battery pack is not in use, keep it away from other metal objects, like paper clips, coins, keys, nails, screws or other small metal objects, that can make a connection from one terminal to another. Shorting the battery terminals together may cause burns or a fire.
- Under abusive conditions, liquid may be ejected from the battery; avoid contact. If contact accidentally occurs, flush with water. If liquid contacts eyes, additionally seek medical help. Liquid ejected from the battery may cause irritations or burns.
- Do not use a battery pack or tool that is damaged or modified. Damaged or modified batteries may exhibit unpredictable behavior resulting in fire, explosion or risk of injury.
- Do not expose a battery pack or tool to fire or excessive temperature. Exposure to fire or temperature above 130 °C / 265 °F may cause an explosion.
- Follow all charging instructions and do not charge the battery pack or tool outside the temperature range specified in the instructions. Charging improperly or at temperatures outside the specified range may damage the battery and increase the risk of fire.
Service
- Have your power tool serviced by a qualified repair person using only identical replacement parts. This will ensure that the safety of the power tool is maintained.
- Never service damaged battery packs. Service of battery packs should only be performed by the manufacturer or authorized service providers.
Other general safety information
- Deactivate the product before you move to another area. Always remove the battery when passing the product to another person.
- Never put the product down unless you have deactivated it and removed the battery. Do not leave the product unsupervised when it is switched on.
- The cutting tool does not stop immediately after the product is turned off.
- Before using the product and after any impact, check for signs of wear or damage and repair as necessary.
- If anything jams in the cutting attachment while you operate the product, stop and deactivate the product. Make sure that the cutting attachment stops
completely. Remove the battery before you clean, inspect or repair the product and/or the cutting equipment. - Do a check of the product before use. Refer to, Safety devices on the product on page 7 and Maintenance on page 14. Do not use a defective product. Do the safety checks, maintenance, and service instructions described in this manual.
- Faulty cutting attachment can increase the risk of accidents.
- Check the gear for dirt and cracks. Clean off grass and leaves from the gear using a brush. Gloves should be worn when necessary.
- Always ensure that ventilation openings are kept clear of debris.
- Check that the trimmer head is completely attached to the trimmer.
- All covers, guards, and handles must be fitted before starting.
- Check that the product is in perfect working order. Check that all nuts and screws are tight.
- Check that the trimmer head and trimmer guard are not damaged or cracked. Replace the trimmer head or trimmer guard if it has been exposed to impact or is cracked. Always use the recommended guard for the cutting attachment you are using. See chapter on Technical data.
- This product is a dangerous tool if you are not careful or if you use the product incorrectly. This product can cause serious injury or death to the operator or others.
- This appliance is not intended for use by persons (including children) with reduced physical, sensory or mental capabilities, or lack of experience and knowledge unless they have been given supervision or instruction concerning the use of the appliance by a person responsible for their safety. Children should be supervised to ensure that they do not play with the appliance.
- Never allow children to use or be in the vicinity of the machine. Since the machine is easy to start, children may be able to start it if they are not kept under full surveillance. This can mean a risk of serious personal injury. Therefore disconnect the battery when the machine is not under close supervision.
- Never allow children or other persons not trained in the use of the product and/or the battery to use or service it.
- Store the equipment in a lockable area so that it is out of reach of children and unauthorized persons.
- The transport guard must always be used for storage and transport.
- Keep hands and feet away from the cutting area at all times and especially when switching on the motor.
- Keep your hands and feet away from the cutting attachment until it has stopped completely when the product is deactivated.
- Do not remove the cut material, or let other persons remove the cut material, while the product is activated or the cutting equipment rotates, as this can result in serious injury.
- Keep in mind that it is you, the operator that is responsible for not exposing people or their property to accidents or hazards.
- Under no circumstances may the design of the product be modified without the permission of the manufacturer. Always use original accessories. Nonauthorized modifications and/or accessories can result in serious personal injury or the death of the operator or others. Your warranty may not
cover damage or liability caused by the use of nonauthorized accessories or replacement parts. - The only accessories you can operate with this product are the cutting attachments recommended in the technical data chapter.
- Never use a product that has been modified in any way from its original specification
- Never use a product that is faulty. Carry out the safety checks, maintenance, and service instructions described in this manual. Some maintenance and service measures must be carried out by trained and qualified specialists. See instructions under the Maintenance heading.
- Working in bad weather is tiring and often brings added risk. Due to the added risk, it is not recommended to use the machine in very bad weather, for instance in dense fog, heavy rain, strong winds, intense cold, risk of lightning, etc
- Never work from a ladder, stool or any other raised position that is not fully secured.
- Store Idle Appliances Indoors – When not in use, appliances should be stored indoors
- It is not possible to cover every conceivable situation you can face. Always exercise care and use your common sense. Avoid all situations which you
consider to be beyond your capability. If you still feel uncertain about operating procedures after reading these instructions, you should consult an expert
before continuing. - Ensure that no people or animals come closer than 15 meters while you work. When several operators are working in the same area the safety distance
should be at least 15 meters. Otherwise, there is a risk of serious personal injury. Stop the product immediately if anyone approaches. Never swing the
product around without first checking behind you to make sure that no one is within the safety zone. - If anything jams in the cutting attachment while you operate the product, stop and deactivate the product. Make sure that the cutting attachment stops
completely. Remove the battery before you clean, inspect or repair the product and/or the cutting equipment. - Ensure that people, animals, or other things can not affect your control of the product or that they do not come in contact with the cutting attachment or loose objects that are thrown out by the cutting attachment. However, do not use the product unless you are able to call for help in the event of an
accident. - Make sure that you can move and stand safely. Check the area around you for possible obstacles (roots, rocks, branches, ditches, etcetera) in case
you have to move suddenly. Take great care when you work on sloping ground. - Walk, never run.
- Inspect the working area. Remove all loose objects, such as stones, broken glass, nails, steel wire, string, etc. that could be thrown out or become wrapped
around the cutter or cutter guard. - Watch out for stumps of branches that can be thrown out when you cut. Do not cut too close to the ground where stones and other objects can be thrown out.
- Make sure that no clothes or parts of the body come in contact with the cutting attachment when the product is activated. Keep the product below waist
level. - Watch out for thrown objects. Always wear approved eye protection. Never lean over the cutting attachment guard. Stones, rubbish, etc., can be thrown up into the eyes which can cause blindness or serious injury.
- Listen out for warning signals or shouts when you wear hearing protection. Always remove your hearing protection as soon as the product stops.
- If any unwanted vibrations occur, tap out a new line to give the line the correct length to stop the vibrations.
- If the product starts vibrating abnormally, stop the product and remove the battery.
- Overexposure to vibration can lead to circulatory damage or nerve damage in persons who have poor circulation. Speak to your physician if you experience symptoms of overexposure to vibration. Such symptoms include numbness, loss of feeling, tingling, pricking, pain, loss of strength, changes in
skin color or condition. These symptoms usually show in the fingers, hands, or wrists. - Always hold the product with both hands. Hold the product on the right side of your body.
Personal protective equipment
WARNING: Read the warning instructions that follow before you use the product.
- Always use approved personal protective equipment when you use the product. Personal protective equipment cannot fully prevent injury but it decreases the degree of injury if an accident does occur. Let your dealer help you select the right equipment.
- Use a protective helmet where there is a risk of falling objects.

- Use approved hearing protection that provides adequate noise reduction. Long-term exposure to noise can result in permanent hearing impairment.

- Use approved eye protection. If you use a visor, you must also use approved protective goggles. Approved protective goggles must comply with the ANSI Z87.1 standard in the USA or EN 166 in EU countries.

- Use gloves when necessary, for example when you attach, examine or clean the cutting equipment.

- Use sturdy non-slip boots.

- Use clothing made of a strong fabric. Always use heavy, long pants and long sleeves. Do not use loose clothing that can catch on twigs and branches.
Do not wear jewelry, short pants, sandals, or go with bare feet. Put your hair up safely above shoulder level. - Keep first aid equipment close at hand.

Safety devices on the product
WARNING: Read the warning instructions that follow before you use the product.
In this section the product’s safety features, its purpose, and how checks and maintenance should be carried out to ensure that it operates correctly. See instructions under the heading Introduction on page 2 to find where these parts are located on your product.
The life span of the product can be reduced and the risk of accidents can increase if product maintenance is not carried out correctly and if service and/or repairs are not carried out professionally. If you need further information please contact your nearest servicing dealer.
WARNING: Never use a product with defective safety components. The product’s safety equipment must be inspected and maintained as described in this section. If your product fails any of these checks, contact your service agent to get it repaired.
CAUTION: All servicing and repair work on the machine requires special training. This is especially true of the machine′s safety equipment. If your machine fails any of the checks described below you must contact your service agent. When you buy any of our products we guarantee the availability of professional repairs and services. If the retailer who sells your machine is not a servicing dealer, ask him for the address of your nearest service agent.
To do a check of the keypad
- Press and hold the start/stop button (A).
a) The product is on when the display (B) comes on.
b) The product is off when the display goes off. - If the warning indicator on the display is on or flashes, refer to Keypad on page 16.
To do a check of the power trigger lockout
The power trigger lockout is designed to prevent accidental operation. When you push the power trigger lockout forward (1) and then press the power trigger
lockout against the handle (2), the power trigger (3) is released. When you release the handle, the power trigger and the power trigger lockout both move back to their original positions. This movement is operated by three independent springs.

- Make sure that the power trigger is locked when the power trigger lockout is in its original position.

- Press the power trigger and make sure it returns to its original position when you release it.

- Make sure that the power trigger and the power trigger lockout move freely and that the return spring operates correctly.
- Start the product, refer to To start the product on page 13.
- Apply full speed.
- Release the power trigger and make sure that the cutting attachment stops and remains still.
To do a check of the cutting attachment guard
WARNING: Do not use a cutting attachment without an approved and correctly attached cutting attachment guard. Always use the recommended cutting
attachment guard for the cutting attachment that you use, see Accessories on page 18. If an incorrect or faulty cutting attachment guard is attached this can cause serious personal injury.
The cutting attachment guard stops objects that eject in the direction of the operator. It also prevents injuries that occur if you touch the cutting attachment.
- Stop the product and remove the battery.
- Do a visual check for damages, for example, cracks.

- Replace the cutting attachment guard if it is damaged.
Trimmer’s head
- Always use the correct trimmer head, cutting attachments, and always use the recommended trimmer line. Refer to Accessories on page 18 and the assembly in the end of the Manual.
- Make sure that the cutter on the trimmer guard is not damaged.
- Make sure that the trimmer line is wound tightly and equally around the drum to prevent unusual vibrations from the product. Different cord lengths can result in vibrations that are not necessary. Tap the trimmer head to get the correct length on the cord.
To increase the life of the cord it can be soaked in water for 2 days or more before assembly. This will make the cord more resistant.
Safety instructions for assembly
WARNING: Read, understand, and obey these instructions carefully before you use the product.
- Remove the battery from the product before you assemble the product.
- Use approved protective gloves.
- A defective or incorrect guard can cause injury. Do not use a cutting attachment that does not have an approved guard attached.
- Make sure that you assemble the cover and shaft correctly before you start the product.
- The drive disc and support flange must engage correctly in the center hole of the cutting attachment.
A cutting attachment that is attached incorrectly can cause injury or death. - If a harness is supplied with the attachment, the harness must be correctly attached to the product.
The harness makes operation safe and prevents injury to the operator or other persons.
Safety instructions for maintenance
WARNING: Read the warning instructions that follow before you do maintenance on the product.
- Remove the battery before you do maintenance, other checks or assemble the product.
- The operator must only do the maintenance and servicing shown in this operator’s manual. Turn to your servicing dealer for maintenance and servicing of a larger extension.
- Do not clean the battery or the battery charger with water. Strong detergent can cause damage to the plastic.
- If you do not do maintenance, it decreases the life cycle of the product and increases the risk of accidents.
- Special training is necessary for all servicing and repair work, especially for the safety devices on the product. If not all checks in this operator’s manual are approved after you have done maintenance, turn to your servicing dealer. We guarantee that there are professional repairs and servicing available for your
product. - Only use original spare parts.
- Always use heavy-duty gloves when you repair the cutting attachment. The blades are very sharp and can easily cause injuries.
Assembly
To assemble the loop handle
- Attach the loop handle onto the shaft between the arrows. Do not place the loop handle or suspension ring on the label.

- Move the spacer into the slot of the loop handle.
- Attach the nut, the knob, and the screw, do not make it too tight.
- Adjust the product to a comfortable position.
- Tighten the bolt.
To assemble the two-piece shaft
- Turn the knob to loosen the coupling.

- Align the tab (A) with the arrow (B) on the coupling.

- Push the shaft into the coupling until it clicks into position.

- Tighten the knob fully.

To disassemble the two-piece shaft
- Turn the knob 3 turns or more to loosen the coupling.

- Push and hold the button (C).
- Hold tight in the end of the shaft that the motor is attached to.
- Pull the attachment out of the coupling.

To assemble the cutting equipment
The cutting equipment includes a cutting attachment and a cutting attachment guard.
WARNING: Use protective gloves.
WARNING: Always use the cutting attachment guard that is recommended for the cutting attachment. See Technical data on page 17.
WARNING: An incorrectly attached cutting attachment can result in injury or death.
To install the suspension ring if applicable
- Install the suspension ring between the arrows on the rear handle and the loop handle.
Note: Do not put the loop handle on the decal. - Adjust the ring to make the product balanced, and easy to use.
Assembly of trimmer heads
WARNING: When you install the cutting attachment it is very important that the raised section on the drive disc/support flange engages correctly in the center hole of the cutting attachment. If the cutting attachment is installed incorrectly it can result in serious and/or fatal personal injury.
WARNING: Never use a cutting attachment without an approved guard. See the chapter on Technical data. If an incorrect or faulty guard or the J-handle is missing when using a metallic cutting attachment, is fitted this can cause serious personal injury.
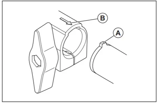
To attach the trimmer guard for a trimmer head
- Hang the trimmer guard (A) onto the two hooks on the plate holder (M).
- Bend the guard around the shaft and attach it with the bolt (L) on the opposite side of the shaft.
- Put the locking pin (C) in the groove on the bolt head and tighten the bolt fully.

To attach a trimmer head
- Put the drive disc (B) on the output shaft.
- Turn the output shaft to align one of the holes in the drive disc with the related hole in the gear housing.
- Put the locking pin (C) in the hole to lock the shaft.
- Turn the trimmer head (A) counterclockwise to attach.

Operation
Introduction
WARNING: Read and understand the safety chapter before you use the product.
To connect the battery to the product
WARNING: Only use Husqvarna original batteries with the product.
- Make sure that the battery is fully charged.
- Push the battery into the battery holder of the product. The battery locks into position when you hear a click.

CAUTION: If the battery does not move easily into the battery holder, the battery is not installed correctly. This can cause damage to the product. - Make sure that the battery is installed correctly.
Work position
- Hold the product with 2 hands.
- Hold the product on the right side of your body.
- Keep the cutting attachment below waist level.
- Keep body parts away from the hot surfaces.
- Keep body parts away from the cutting attachment.
Before you operate the product
- Examine the work area to make sure that you know the type of terrain, the slope of the ground and if there are obstacles such as stones, branches and ditches.
- Do an overhaul inspection of the product.
- Do the safety inspections, maintenance, and servicing that are given in this manual.
- Make sure that all covers, guards, handles and cutting equipment are correctly attached and not damaged.
- Examine the trimmer head and cutting attachment guard for damages or cracks. Replace the trimmer head and cutting attachment guard if they have been hit or if they have cracks.

To start the product
- Push and hold the start button until the green LED comes on.

- Use the power trigger to control the speed.
To limit the maximum speed with the mode button
The product has a mode button. With the mode button, the operator can limit the maximum speed. The mode button has 3-speed levels. A lower level increases the time of operation for the product. The mode button has 3-speed levels. A lower level increases the time of operation for the product. Use level 1 and level 2 if the operation does not require full speed/full power. If the operation condition requires full speed/full power, use level 3. Do not use a higher level than necessary for the operation.
- Push the mode button to set a limit to the maximum speed. The white LEDs come on to show that the function is on.

- Push the Mode button again to choose the next speed level.
Automatic shutdown function
The product is equipped with a shutdown function that deactivates the product if it is not used.
Grass trimming with a trimmer head
To trim the grass
- Hold the trimmer head immediately above the ground at an angle.
Do not push the grass trimmer line into the grass. - Decrease the length of the grass trimmer line by 10-12 cm (4-4.75 in) and decrease the motor speed to decrease the risk of damage to plants.
- Use 80 % speed when you cut grass near objects.

To cut the grass
- Make sure that the grass trimmer line is parallel to the ground when you cut.

- Do not push the trimmer head to the ground. The ground and the product can be damaged.
- Do not let the trimmer head touch the ground continuously, it can cause damage to the trimmer head.
- Use full speed when you move the product from side to side to cut grass.
Make sure that the grass trimmer line is parallel to the ground.
To sweep the grass
The airflow from the rotating trimmer cord can be used to remove cut grass from an area.
- Hold the trimmer head and its cord parallels to the ground and above the ground.
- Apply full speed.
- Move the trimmer head from side to side and sweep the grass.
WARNING: Clean the trimmer head cover each time you assemble a new trimmer cord to prevent unbalance and vibrations in the handles. Also, do a check of the other parts of the trimmer head and clean it if necessary.
To stop the product
- Release the power trigger or the power trigger lockout.
- Push the stop button.

- Push the release buttons on the battery and pull the battery out.

Maintenance
Introduction
WARNING: Before you do any maintenance work you must read and understand the safety chapter.
Maintenance schedule
WARNING: Remove the battery before you do maintenance.
The following is a list of the maintenance steps that you must do on the product.
| Maintenance | Daily | Weekly | Monthly |
| Clean the external parts of the product with a dry cloth. Do not use water. | X | ||
| Examine that the start and stop button works correctly and is not damaged. | X | ||
| Make sure that the power trigger and the power trigger lockout function correctly from a safety point of view. | X | ||
| Make sure that all controls work and are not damaged. | X | ||
| Keep the handles dry, clean and free from oil and grease. | X | ||
| Make sure that the cutting attachment is not damaged. Replace the cutting attachment if it is damaged. | X | ||
| Make sure that the cutting attachment guard is not damaged. Replace the cut-ting attachment guard if it is damaged. | X | ||
| Make sure that the screws and nuts are tight. | X | ||
| Make sure that the battery release buttons on the battery works and lock the battery in the product. | X | ||
| Make sure that the battery is not damaged. | X | ||
| Make sure that the battery is charged. | X | ||
| Make sure that the battery charger is not damaged and operates correctly. | X | ||
| Examine all cables, couplings and connections. Make sure they are not dam-aged and free from dirt. | X | ||
| Make sure that the bevel gear is filled correctly with grease, see To lubricate the bevel gear on page 15 If not. use Husqvarna bevel gear grease. | X | ||
| Do a check of the connections between the battery and the product. Do a check of the connection between the battery and the battery charger. | X |
To clean the product, the battery and the battery charger
- Clean the product with a dry cloth after use.
- Clean the battery and battery charger with a dry cloth. Keep the battery guide tracks clean.
- Make sure that the terminals on the battery and the battery charger are clean before the battery is put in the battery charger or the product.
To lubricate the bevel gear
- Remove the cutting equipment.
- Put the product with the grease plug at its highest position.
- Remove the grease plug.

- Look into the grease plug hole and turn the driveshaft. The grease level (A) must be in level with the top of the gear cogs (B).

- If the grease level is too low fill the bevel gear with Husqvarna bevel gear grease. Fill slowly and turn the driveshaft as you apply the bevel gear grease, stop at the correct level (B).
CAUTION: An incorrect quantity of grease can cause damage to the bevel gear. - Install the grease plug.
Two piece-shaft
Apply grease to the end of the drive shaft after every 30 hours of operation. There is a risk that the driveshaft ends (splined coupling) on models with two-piece shafts will seize if they are not lubricated regularly.
Troubleshooting
Keypad
| LED display | Possible faults | Possible action |
| Green activates LED flashing | Low battery voltage. | Charge the battery. |
| Red error LED flashing | Overload. | The cutting attachment is jammed. deactivate the product. Remove the battery. Clean the cutting attachment from unwanted materials. |
| Temperature deviation. | Let the product cool down. | |
| The power trigger and the acti- vate button are pressed at the same time. | Release the power trigger and the product is active. | |
| The product does not start | Dirt in the battery connectors. | Clean the battery connectors with compressed air or a soft brush. |
| Error LED is lit with red light | The product needs servicing. | Contact your servicing agent. |
Transportation, storage, and disposal
Transportation and storage
- The supplied Li-ion batteries obey the Dangerous Goods Legislation requirements.
- Obey the special requirement on packages and labels for commercial transportation, including by third parties and forwarding agents.
- Speak to a person with special training in dangerous material before you send the product. Obey all applicable national regulations.
- Use tape on open contacts when you put the battery in a package. Put the battery in the package tightly to prevent movement.
- Remove the battery for storage or transportation.
- Put the battery and the battery charger in a space that is dry and free from moisture and frost.
- Do not keep the battery in an area where static electricity can occur. Do not keep the battery in a metal box.
- Put the battery in storage where the temperature is between 5°C/41°F and 25°C/77°F and away from open sunlight.
- Put the battery charger in storage where the temperature is between 5 °C/41 °F and 45°C/113°F and away from open sunlight.
- Use the battery charger only when the surrounding temperature is between 5°C/41°F and 40°C/104°F.
- Charge the battery 30% to 50% before you put it in storage for long periods.
- Put the battery charger in storage in a space that is closed and dry.
- Keep the battery away from the battery charger during storage. Do not let children and other not approved persons touch the equipment. Keep the
equipment in a space that you can lock. - Clean the product and do a full servicing before you put the product in storage for a long time.
- Use the transportation guard on the product to prevent injuries or damage on the product during transportation and storage.
- Attach product safety during transportation.
Disposal of the battery, battery charger and product
Symbols on the product or the package of the product means that the product is not domestic waste. Recycle it at a recycling station for electrical and electronic equipment. This helps to prevent damage to the environment and to persons. Get in touch with your local authorities, domestic waste service or your dealer for more information about how to recycle your product.
Technical data
Technical data
| 325iLK together with TAB850 | |
| Motor | |
| Motor type | BLDC (brushless) 36V |
| Speed of output shaft, 1/min | 5800 |
| Cutting width, mm | 420 |
| Weight | |
| Weight without battery, kg | 4. |
| Noise emissions1 | |
| Sound power level, measured dB (A) | 92 |
| Sound power level, guaranteed LWAdB (A) | 95 |
| Noise levels2 | |
| Equivalent sound pressure level at the operator’s ear, measured according to ISO 22868, dB (A): | |
- Noise emissions in the environment measured as sound power (LWA) in conformity with EC directive 2000/14/EC. The reported sound power level for the machine has been measured with the original cutting attachment that gives the highest level. The difference between guaranteed and measured sound power is that the guaranteed sound power also includes dispersion in the measurement result and the variations between different machines of the same model according to Directive 2000/14/EC.
- Reported data for sound pressure level for the machine has a typical statistical dispersion (standard deviation) of 3 dB (A) and has been measured with the original attachment that gives the highest level.
| 325iLK together with TAB850 | |
| Equipped with trimmer head (original) | 81 |
| Vibration levels3 | |
| Vibration levels at handles, measured according to ISO 22867, m/s2 | |
| Equipped with trimmer head (original), left/right | 3.6/1.4 |
Approved batteries
| Battery | BLi 200 |
| Type | Lithium-ion |
| Battery capacity, Ah | 5.2 |
| Nominal voltage, V | 36 |
| Weight, kg (lb) | 1.3 (2.9) |
Approved battery chargers
| Battery charger | QC330 |
| Input voltage, V | 100-240 |
| Frequency, Hz | 50-60 |
| Power, W | 330 |
Accessories
Accessories
Approved accessories | Accessory type | Cuffing attachment guard, art. no. |
| Trimmer line Ø 2.0-2.4 mm | Whisper twist trimmer line, maximum Ø 2.4 mm |
|
| Trimmer’s head | T25 (Whisper twist trimmer line, maximum Ø 2.4 mm) | 597 1 62-01 |
| T35 (Whisper twist trimmer line, maximum Ø 2.4 mm) | 597 1 62-01 |
3. Reported data for vibration level has a typical statistical dispersion (standard deviation) of 2 m/s². For comparison of vibrations levels, battery and combustion products use vibration calculator. https://www.husqvarna.com/uk/services-solutions/vibration-calculator/.
Attachments
| Approved attachments | Attach- merit number’ | Attach- ment groups | Use with |
| Trimmer attachment TAB850 | 325iLK | ||
| Brushcutter attachment BCA850 | 1 | 1-10 | 325iLK |
| Blower attachment BA101 | 11 | 11-20 | 325iLK |
| Edger attachment ECA850 | 21 | 21-30 | 325iLK |
| Edger attachment ESA850 | 22 | 21-30 | 325iLK |
| Hedge trimmer attachment HA860 | 32 | 31-40 | 325iLK |
| Hedge trimmer attachment HA850 | 31 | 31-40 | 325iLK |
| Polesaw attachment PAX730 | 41 | 41-50 | 325iLK |
| Polesaw attachment PAX1100 | 42 | 41-50 | 325iLK |
| Saw attachment PA1100 | 43 | 41-50 | 325iLK |
| Clean sweep attachment SR600-2 | 51 | 51-60 | 325iLK |
| Bristle brush attachment BR600 | 52 | 51-60 | 325iLK |
| Dethatcher attachment DT600 | 53 | 51-60 | 325iLK |
| Cultivator attachment CA230 | 54 | 51-60 | 325iLK |
| Reciprocator attachment RA850 | 61 | 61-70 | 325iLK |
4. This is a specific number of approved attachments within an attachment group.5. The approved attachments are divided into attachment groups. Each attachment group has similar features and decals.
EC Declaration of Conformity
EC Declaration of conformity
Husqvarna AB, SE-561 82 Huskvarna, Sweden, tel: +46-36-146500, declares under sole responsibility that the battery grass trimmer Husqvarna 325iLK from 2019’s serial numbers and onwards (the year is clearly stated in plain text on the type plate with subsequent serial number), are in conformity with the requirements of the COUNCIL’S DIRECTIVES:
- of May 17, 2006 ”relating to machinery” 2006/42/EC.
- of February 26, 2014 ”relating to electromagnetic compatibility” 2014/30/EU.
- of May 8, 2000 ”relating to the noise emissions in the environment” 2000/14/EC.
- of June 8, 2011 on the “restriction of use of certain hazardous substances in electrical and electronic equipment” 2011/65/EU
The following standards have been applied: IEC
62841-1:2014, EN ISO 11806-1:2011,
EN61000-6-3:2007+A1:2011, EN 61000-6-1:2016, EN
IEC 63000:2018
RISE SMP Svensk Maskinprovning AB,Box 7035, SE-750 07 Uppsala, Sweden, Box 7035, SE-750 07 Uppsala, Sweden, has performed voluntary type examination on behalf of Husqvarna AB. The certificate is numbered: SEC/19/2539
Notified body 0404: RISE SMP Svensk Maskinprovning AB has also verified agreement with appendix VI of the council’s directive 2000/14/EG.
For information relating to noise emissions, Refer to Technical data on page 17.
Huskvarna, 2021-02-20![]()
Pär Martinsson, Development manager (Authorized representative for Husqvarna AB and responsible for technical documentation.)
www.husqvarna.com
Original instructions
114213026
2021-03-31






a) The product is on when the display (B) comes on.









Note: Do not put the loop handle on the decal.





Do not push the grass trimmer line into the grass.

Make sure that the grass trimmer line is parallel to the ground.





















