MONSTER EarBuds

Product Overview
- In-ear Earphone x 2 (left & right)
- Charging Case
- Ear Tips × 3 pairs (M size installed)
- Quick Start Guide and Warranty Letter

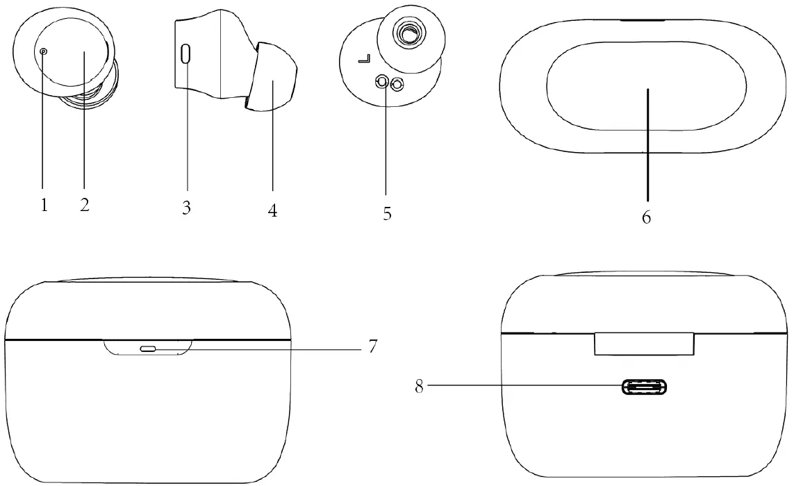
- Indicator Light
- Multi Function Button (MFB)
- Microphones
- Ear Tips
- Charging Contacts
- Wireless Charging Area
- Charging Case Indicator Light
- USB-C Charging Port
Power On/Off
Open the charging case, take out the earphones, it will automatically turn on. To turn off the earphones, put back to the charging case and close. Earphones will be turned off and start charging.
Wired/Wireless Charging Case Charging
Besides using the included USB-C charging cable to charge the charging case, the charging case can be charged by compatible wireless charging device.
After charging case is fully charged, indicator turn off.
Pairing
Open the charging case, take out the earphones, it will automatically turn on. left and right earphones will be connected automatically within few seconds. Then “pairing” voice prompt will be heard. For new device connection, go to the Bluetooth settings on your mobile device and set it to search for new devices (new Monster device). Once the earphones are paired to the designated device, you will hear “connected”.
Volume Control
Volume down: quickly double press the MFB on the left earphone during music streaming. Volume up: quickly double press the MFB on the right earphone during music streaming.
Calling
Answer / End a call: Click the MFB touch button.
Reject the call: Press and hold the MFB touch button for about 2 seconds.
Music
Play/Pause music:short press the MFB button.
Previous song: Press and hold the MFB button on the left earphone for about 2 seconds.
Next song: Press and hold the MFB button on the right earphone for about 2 seconds.
Voice Control
After connecting to the phone, quickly double press the MFB to activate the voice assistant.
LED Indicator Guide
| Mode | Description | Voice prompts |
| Power On | White LED indicator light stays on about 1 second | “Power On” |
| Power Off | Red LED indicator light stays on about 1 second | “Power Off ” |
| Pairing | White LED indicator light flashes quickly | “Pairing” |
| Connected | Indicator light goes off | “Connected” |
| Earphone charging | Red LED indicator light stays on | – |
| Charging case | During charging, the indicator light of the charging box is on and goes out after full | – |
Note:
- After removing the earpieces from the charging case, without pressing any buttons, the left and right earpieces will connect automatically. If there is no connection found, it enters to pairing mode automatically.
- Please put the earphones in the correct position to charge.
- It is not recommended to replace the battery privately.
- The battery (battery pack or combination battery) must not be exposed to excessive heat such as sunlight or fire.
FCC Statement
Changes or modifications not expressly approved by the party responsible for compliance could void the user’s authority to operate the equipment.
This equipment has been tested and found to comply with the limits for a Class B digital device, pursuant to Part 15 of the FCC Rules. These limits are designed to provide reasonable protection against harmful interference in a residential installation. This equipment generates uses and can radiate radio frequency energy and, if not installed and used in accordance with the instructions, may cause harmful interference to radio communications. However, there is no guarantee that interference will not occur in a particular installation. If this equipment does cause harmful interference to radio or television reception, which can be determined by turning the equipment off and on, the user is encouraged to try to correct the interference by one or more of the following measures:
- Reorient or relocate the receiving antenna.
- Increase the separation between the equipment and receiver.
- Connect the equipment into an outlet on a circuit different from that to which the receiver is connected.
- Consult the dealer or an experienced radio/TV technician for help
This device complies with part 15 of the FCC rules. Operation is subject to the following two conditions (1) this device may not cause harmful interference, and (2) this device must accept any interference received, including interference that may cause undesired operation.
RF warning statement:
The device has been evaluated to meet general RF exposure requirement. The device can be used in portable exposure condition without restriction.
![]()


















