Innovative 7000 Height Adjustable Flexible Laptop Arm

Parts List
Note:
Parts may be shipped in separate boxes, please review all packaging prior to discarding.
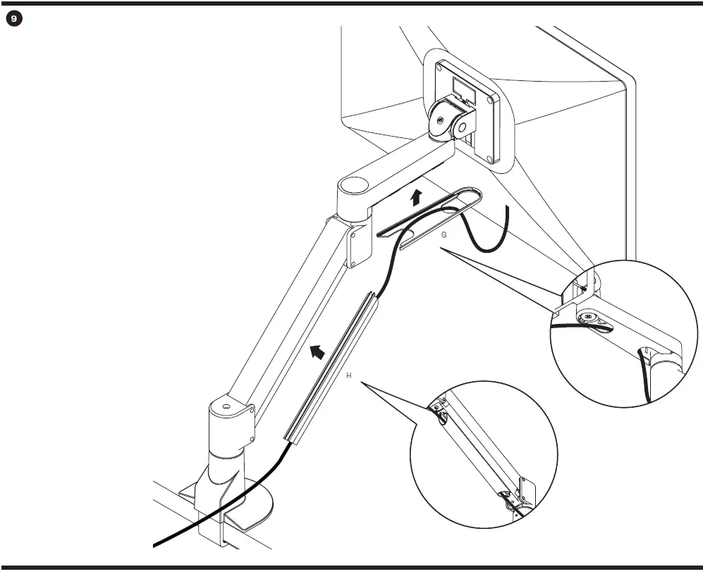
Installation Instruction





IMPORTANT!
- The monitor must be on the arm
- The arm must be on the mount




PARTS LIST


LAPTOP CLIP SHOES
For ultra-thin laptops/tablet PCs: Install the laptop clip shoes (item C) that are provided to ensure a secure grasp. 

















