Network Bullet Cameras
User Guide
Safety and Compliance Information
Installation and removal of the unit and its accessories must be carried out by qualified personnel. You must read all of the Safety Instructions supplied with your equipment before installation and operation.
Installation
- This device is a class B product and may cause radio interference. Take measures if necessary.
- Make sure the camera operates in an environment where the temperature and humidity meet requirements. Keep the camera from excessive pressure, vibration, moisture, dust, and intensive electromagnetic radiation.
- Use a power adapter or a PoE device that meets the requirements. Otherwise, the device may be damaged.
- Make sure the length of the power cable between the power adapter and the camera is not too long, otherwise the voltage of the camera is lowered, causing the camera to work abnormally. If it is required to lengthen the power cable, lengthen the cable between the power adapter and the mains.
- Do not hold the tail cable by hand for weight-bearing. Otherwise, the cable connector of the camera could be loosened.
- When connecting to an external interface, use an existing connection terminal, and ensure that the cable terminal (latch or clamp) is in good condition and properly fastened. Ensure that the cable is not tense during mounting, with a proper margin reserved to avoid poor port contact or loosening caused by shock or shake.
- The connectors of the tail cable must not be exposed. The bar cavity, waterproof box, corrugated pipe, and PVC pipe must be fully sealed to protect the connectors from water.
- During the process of transportation, special attention is required for the protection of the transparent dome cover to prevent friction, scratch, contamination, etc. In order to keep the cover clean, do not remove the protective film on the cover during mounting. After mounting is finished, remove the film before the device is powered on.
- Contact professionals for maintenance information. Do not attempt to dismantle the device by yourself. We shall not assume any responsibility for problems caused by unauthorized repair or maintenance.
Maintenance
- Caution: There will be a risk of explosion if the battery is replaced by an incorrect type. Dispose of used batteries according to the instructions.
- If there is dust on the front glass surface, remove the dust gently using an oil-free brush or a rubber dust-blowing ball.
- If there is grease or a dust stain on the front glass surface, clean the glass surface gently from the center outward using anti-static gloves or an oil-free cloth. If the grease or the stain still cannot be removed, use anti-static gloves or an oil-free cloth dipped with detergent and clean the glass surface gently until it is removed.
- Do not use organic solvents, such as benzene or ethanol when cleaning the transparent dome cover.
Never look at the transmit laser while the power is on. Never look directly at the fiber ports and the fiber cable ends when they are powered on.- Use of controls or adjustments to the performance or procedures other than those specified herein may result in hazardous laser emissions.
Regulatory Compliance
FCC statements
This device complies with Part 15 of the FCC Rules. Operation is subject to the following two conditions:
- This device may not cause harmful interference, and
- This device must accept any interference received, including interference that may cause undesired operation.
Caution: The user is cautioned that changes or modifications not expressly approved by the party responsible for compliance could void the user’s authority to operate the equipment.
Note: This equipment has been tested and found to comply with the limits for a Class B digital device, pursuant to part 15 of the FCC Rules. These limits are designed to provide reasonable protection against harmful interference in a residential installation. This equipment generates uses and can radiate radio frequency energy and, if not installed and used in accordance with the instructions, may cause harmful interference to radio communications. However, there is no guarantee that interference will not occur in a particular installation. If this equipment does cause harmful interference to radio or television reception, which can be determined by turning the equipment off and on, the user is encouraged to try to correct the interference by one or more of the following measures:
- Reorient or relocate the receiving antenna.
- Increase the separation between the equipment and receiver.
- Connect the equipment into an outlet on a circuit with different from that to which the receiver is connected.
- Consult the dealer or an experienced radio/TV technician for help.
This equipment complies with FCC radiation exposure limits set forth for an uncontrolled environment. This equipment should be installed and operated with a minimum distance of 20cm between the radiator and any part of your body.
LVD/EMC/RE Directive
This product complies with the European Low Voltage Directive 2014/35/EU and EMC Directive 2014/30/EU and 2014/53/EU.
WEEE Directive–2012/19/EU
The product this manual refers to is covered by the Waste Electrical & Electronic Equipment (WEEE) Directive and must be disposed of in a responsible manner.
Battery Directive-2013/56/EC
The battery in the product complies with the European Battery Directive 2013/56/EC. For proper recycling, return the battery to your supplier or to a designated collection point.
Default IP, Username, and Password
- Default IP address: 192.168.1.13
- Default username: admin
- Default password: 123456
The default password is used for your first login. To ensure account security, please change the password after your first login. You are recommended to set a strong password (no less than eight characters).
Packing List
Contact your local dealer if the package is damaged or incomplete. The attachments may vary with models, please see the actual model for details.
| Item | Quantity |
| Camera | 1 |
| User document | 1 |
| Accessory pack | 1 |
Appearance
Dimensions
Frequency:2412-2472 MHz for CE
RF POWER(MAX):18.27 dBm for CE

Cable Connection

For specifications, see the latest product datasheets.- Press and hold the RESET button for at least 15 seconds to restore factory default settings. Perform this operation within 10 minutes after the device is powered on or the reset will fail otherwise.
Mount Your Camera
(Optional) Insert the Micro SD Card
For cameras that support Micro SD, you need to insert the Micro SD card after opening the bottom cover of the camera. Do not hot-plug the Micro SD card after it is inserted. Otherwise, the camera or the SD card might be damaged.
For recommended SD card specifications, contact your dealer.
![]() | |
| 1. Loosen the cross-recessed screws to open the bottom cover. | 2. Insert the Micro SD card. |
Wall Mount
You can adopt a wall mount or ceiling mount and purchase hardware accessories by yourself. The following part takes the wall mount as an example. The ceiling mount is similar to the wall mount and therefore is omitted here.
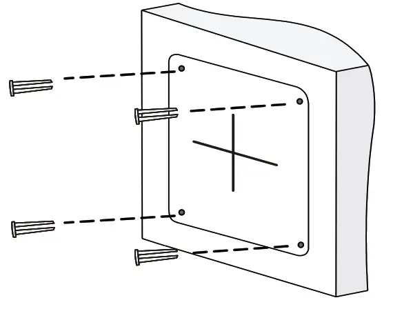
- Locate the positions of the holes.
1. Paste installation positioning stickers on the wall and align
the cross central to the hole in the wall.
2. Lead the cables across the hole in the wall. - Drill holes in the wall.
1. Use a Ø6-6.5mm drill bit. 
2. Drill 30 mm-depth guide holes according to the positions marked by stickers. - Mount the plastic rivets of self-tapping screws.
Knock the plastic rivets into the guide holes and ensure that they are tightened up.
- Screw the locknut to loosen the universal joint before attaching your camera to the wall.

- Mount your camera onto the wall and connect all cables.
Lead tapping screws through the guide holes in the base and fix them on the wall by using a screwdriver. - Rotate the antenna to the antenna interface according to the clockwise direction.

- Adjust the monitoring direction.
1. Adjust the opening of the universal joint as required.
2. Rotate the spherical hinge of the camera to get the desired monitoring direction.
3. Tighten the locknut. - Power on your camera and adjust images.
The preceding installation process is for concealed installation, during which holes are punched on the wall and cables are penetrated into the wall. If the open installation is adopted, cables are not penetrated into the wall but threaded out from the outlet on one side of the base.
Access Your Camera
Before you begin, check that:
- Your camera is operating properly and connected to the network.
- The PC you are using is installed with Internet Explorer 7.0 or later.
Follow these steps to access your camera through the Web:
Open your browser, input the IP address of your camera in the address bar and then press Enter to open the login page.
Enter the username and password and then click Login.
| • Install the ActiveX at your first login. When the installation of the ActiveX is completed, open your IE to log in. • For your first login with Windows 7, if the system does not prompt you to install ActiveX, follow these steps to turn off UAC: click the Start button, and then click Control Panel. In the search box, type UAC, and then click Change User Account Control Settings. Move the slider to the Never Notify position, and then click OK. After UAC is turned off, log in again. • If the installation failed, open the Internet Option in IE before login in. Click the Security tab, click Trusted Sites, and then click Sites to add the website. If you use Windows 7, you need to save the setup.exe to your PC first, then right-click the file, select Run as administrator, and then install it according to instructions. |






Lead tapping screws through the guide holes in the base and fix them on the wall by using a screwdriver.
1. Adjust the opening of the universal joint as required.














