AIMCO ULT Series ULT-30D Pulse Tools

Recommend Tools
- Set of Picks
- Standard Pliers
- 6” Open-End Adjustable Wrench
- 20” Open-End Adjustable Wrench
- Hog Ring Pliers (250G Proto)
- Set of Screwdrivers
- Set of Punches
- Dead Blow Hammer
- 13 oz. Ball Peen Hammer
- Three Ton Arbor Press
- Set of V-Blocks
- Three Ton Hydraulic Press (only needed if you are not using the PTRF-1-1)
- Lap Plate
- Parts Cleaning Tank
- Wire Wheel
- Service Removable Thread Locker (242 Blue Loctite)
- PTRF-1-1 Universal Pulse Unit Repair Fixture
- VC-101-2A Vacuum Tank
- VCE-1-1 Vacuum Extractor
- 1cc Glass Syringe and 0.5cc Glass Syringe
- Pulstar Oil
Special Repair Fixtures for Repair of ULT Series Tools
| Part Number | Tool Model |
| Disassembly and Reassembly of Valve Cover | |
| 145-019-6-5 | ULT-30D, 40, 50 & 60 |
| 147-019-6-5 | ULT-70 & 80 |
| 147-019-8-5 | ULT-90 & 100 |
| 130-019-2-5 | ULT-130 & 150 |
| 128-019-2-5 | ULT-180 |
| Disassembly and Reassembly of Casing Connector | |
| 144-036-0-5 | ULT-30D |
| 147-036-2-5 | ULT-40, 50 & 60 |
| 143-036-8-5 | ULT-70 |
| 115-036-3-5 | ULT-80 |
| 147-036-8-5 | ULT-90 |
| 148-036-2-5 | ULT-100 |
| 130-036-2-5 | ULT-130 |
| 130-036-4-5 | ULT-150 |
| Insert of the Driving Blades | |
| 144-440-0-0 144-440-0-1 | ULT-30D |
| 190-440-6-0 190-440-6-1 | ULT-40, 50 & 60 |
| 194-440-2-0 194-440-2-1 | ULT-70 |
| 115-440-3-0 115-440-3-1 | ULT-80 |
| 194-440-3-0 194-440-3-1 | ULT-90 |
| 194-440-6-0 194-440-6-1 | ULT-100 |
| 130-440-2-0 130-440-2-1 | ULT-130 |
| 130-440-4-0 130-440-4-1 | ULT-150 |
| 128-440-2-0 128-440-2-1 | ULT-180 |
| Part Number | Tool Model |
| Anvil Sleeve for Installation of SU-Ring | |
| 178-319-8-1 | ULT-40, 50, 60 & 70 |
| 194-319-3-1 | ULT-90 |
| 178-350-9-1 | ULT-40D, 50D & 60D |
TM-Type Tools
| Part Number | Tool Model |
| Disassembly and Reassembly of Valve Cover | |
| 851-017-1-5 | ULT-30D, 40, 50 & 60 |
| 851-007-1-5 | ULT-70 |
| 851-011-1-5 | ULT-90 |
Repairing with the PTRF
| Part Number | Tool Model |
| Disassembly and Reassembly of Liner Casing Setter | |
| PTRF-039 | ULT-40, 50, 60 & 70 |
| PTRF-040 used with the PTRF-039 | ULT-90 |
| PTRF-041 used with the PTRF-039 | ULT-100 |
| PTRF-042 used with the PTRF-039 | ULT-30D |
| PTRF-044 used with the PTRF-039 | ULT-130 |
| PTRF-045 used with the PTRF-039 | ULT-150 |
| PTRF-046, PTRF-047 used with the PTRF-039 | ULT-180 |
Repairing Without the PTRF
| Part Number | Tool Model |
| Stand to Hold the Pulse Unit | |
| 144-905-0-3 | ULT-30D |
| 145-905-6-3 | ULT-40, 50 & 60 |
| 194-905-0-3 | ULT-70 |
| 115-905-3-3 | ULT-80 |
| 147-905-8-3 | ULT-90 |
| 148-905-2-3 | ULT-100 |
| 194-905-4-3 | ULT-130 |
| 130-905-4-3 | ULT-150 |
| 128-905-2-3 | ULT-180 |
| Disassembly and Reassembly of Liner Casing Setter | |
| 144-906-0-5 | ULT-30D |
| 147-906-2-5 | ULT-40, 50 & 60 |
| 147-906-6-5 | ULT-70 |
| 115-906-3-3 | ULT-80 |
| 147-906-8-5 | ULT-90 |
| 148-906-2-5 | ULT-100 |
| 130-906-2-5 | ULT-130 |
| 130-906-4-5 | ULT-150 |
| 128-906-2-5 | ULT-180 |
| Press Bar for Rear Liner Plate | |
| 197-901-7-9 | ULT-30D |
| 196-901-4-9 | ULT-40, 50 & 60 |
| 190-901-6-9 | ULT-70 |
| 143-901-9-9 | ULT-80 & 90 |
| 194-901-2-9 | ULT-100 |
| 194-901-6-9 | ULT-130 & 150 |
| 195-901-9-9 | ULT-180 |
Disassembly and Reassembly of Pulse Unit
Disassembly of Pulse Unit
- Remove the Front Casing (left-hand thread) from the tool.
- Remove the Purple Cushion from the Pulse Unit and the Pulse Unit from the Handle. Be sure not to lose the Adjustment Spacer, Spring, and/or Oper-ating Rod that are between the Handle and Pulse Unit.
- Remove the Oil Fill Plug and extract all of the oil with the VCE-1-1 from the Pulse Unit. Note: The Oil Fill Plug on the ULT-30D is in the Rear Liner Plate.
- Place the Pulse Unit in the PTRF-1-1 or the Stand for Holding Pulse Unit and remove the Liner Casing Setter using the PTRF-039, PTRF-040, PTRF-041, PTRF-042 or Disassembly and Assembly of Liner Casing Setter (right-hand thread).
- While holding the Pulse Unit with the Anvil up, tap on the Anvil with a Dead Blow Hammer to remove the Rear Liner Plate, Anvil, Driving Blades, Driving Blade Rollers, Relief Valve Spring, Relief Valve Ball, Check Valve Spring, and Check Valve Ball. Now remove the Piston from the Rear Liner Plate.
- Remove the Front Liner Plate and Liner from the Liner Casing. You can use the Anvil with a set of V-Blocks on the Arbor Press by placing the Anvil driver end-first through the Front Liner Plate and pressing on the back of the Anvil to push the Front Liner Plate and Liner out of the Liner Casing. Note: Always make sure that the Front Liner Plate and Liner come out of the Liner Casing as one piece or you may cause serious damage to the Liner Casing. Never push too hard on the Arbor Press. Always push the Front Liner Plate and Liner back and forth in the Liner Casing until the Front Liner Plate and Liner move freely from the Liner Casing.
- Separate the Front Liner Plate and Liner. Note: On the ULT-30D, 40, 50 & 60 series tools, the Front Liner Plate is made up of two pieces: the Front Liner Plate and the Liner Casing Spacer.
- Remove the Relief Valve Spindle (left-hand thread), Relief Valve Pin, Relief Valve, Accumulator, Accumulator Spring, and Locator Pins from the Liner.
- Remove all O-rings and Sup-porter Rings. Clean and inspect all parts. Resurface only those parts having burs on them. If any parts show deep grooving or surface wear, they will need to be replaced.
Assembly of Pulse Unit
- You will find all O-rings, Supporter Rings, and Springs needed for rebuild of the Pulse Unit in a Pulse Unit Repair Kit (PRK). To order a PRK, you would order the model number of tool plus dash PRK (i.e., ULT-70-PRK).
- Lubricate all O-rings with Pulstar Oil.
- Install the O-ring on the Relief Valve using the O-ring Install Fixture and install the Relief Valve into the Liner lining up the slot in the Relief Valve with the hole in the Liner and install the Relief Valve Pin. Note: Be careful not to cut the O-ring on the Relief Valve.
- Install the Accumulator O-ring and Supporter Ring onto the Accumulator using an O-ring Install Fixture and install the Accumulator Spring and Accumulator into the Liner.
- Install the Relief Valve Spindle into the Relief Valve and install the O-ring on the Relief Valve Spindle (left-hand thread) and Supporter Ring into the Front Liner Plate. Note: The Sup-porter Ring is not used on the ULT-40, 50 & 60.
- Install two Locator Pins into the front of the Liner.
- Install the Anvil SU-ring and Supporter Ring into the Front Liner Plate and install the Front Liner Plate onto the Liner. Note: Make sure that you work the Relief Valve Spindle O-ring up into the Front Liner Plate by turning the Relief Valve Spindle back and forth. Note: On the ULT-30D, 40, 50 & 60 series, you install the Liner Casing Spacer onto the Liner. Install the Front Liner Plate after the Anvil and Driving Blades have been installed into the Liner.
- Install the Driving Blade Springs, Driving Blades, and Driving Blade Rollers into the Anvil and into the Driving Blade Install Fixture.
- Put the proper Anvil Sleeve Fixture over the drive end of the Anvil and install the Anvil into the Liner and through the Front Liner Plate removing the Driving Blade Install Fixture. As you do this, make sure to keep the Nylon piece of the Driving Blade Install Fixture tight against the Anvil.
- Install two Locator Pins into the rear of the Liner, the Check Valve Spring and Check Valve Ball into the back of the Anvil and the Relief Valve Ball and Relief Valve Spring into the back of the Relief Valve in the Liner.
- Install the O-ring onto the Rear Liner Plate and install the Rear Liner Plate onto the Liner. Note: If the Check Valve Cover was removed from the Rear Liner Plate when reinstalling the Check Valve Cover back into the Rear Liner Plate, make sure that the hole in the side of the Check Valve Cover is 180 degrees out from the hole inside of the Rear Liner Plate, 90 degrees out on the ULT-150 and ULT-180 only, and apply a light coat of Loctite 603 to the Check Valve Cover before installing.
- Holding the hex end of the Rear Liner Plate in a vise, install the Front Liner Plate O-ring and now install the Liner Casing over the Anvil and onto the assembly.
- Clean the threads on the Liner Casing and Liner Casing Setter with a degreaser or Isopropyl Alcohol. Put a small amount of thread locker (i.e., Loctite 242) on the Liner Casing Setter and install into Liner Casing. Note: If you use Isopropyl Alcohol to clean the threads, it will cause the thread locker to set-up in about 10-15 minutes.
- Now, using the PTRF-1-1 and following the Fill and Draw sheet, apply the proper amount, press load to the Rear Liner Plate, and tighten the Liner Casing Setter to the proper torque. Note: Make sure that you use the proper Press Cap when applying the press load to the Pulse Unit.
- Once you are sure that the thread locker has set-up: Make sure that the Torque Adjuster is turned all the way out counter-clockwise, fill the Rear Liner Plate with Pulstar oil, and insert the Piston stepped-end down into the Rear Liner Plate. Put the Pulse Unit into the VC-101-2A Vacuum Fill Tank, making sure that the Pulstar oil is about one-half of an inch below the oil fill hole on the Pulse Unit. Note: The ULT-30D goes into the Tank Anvil-side down.
- Now, cycle the Vacuum Fill Tank. Note: The gauge on the tank should read 29 in.Hg. or above.
- Now, pull the Pulse Unit out of the Vacuum Fill Tank. Tip the Pulse Unit on its side to remove the excess oil from the top of the Pulse Unit so that it is level with the top of the oil fill hole. Following the Fill & Draw sheet, remove the recommended cc’s of oil from the Pulse Unit and install the Oil Fill Plug. Note: Make sure that you pull up lightly on the plunger of the syringe as you put the needle into the Pulse Unit. This will keep you from displacing the oil out of the Pulse Unit when you put the needle into the Pulse Unit.
- Install the Purple Cushion onto the front of the Pulse Unit. Make sure that the Adjusting Spacer, Spring, and Operating Rod are back in the Handle and install the Pulse Unit and Casing onto the Handle. Note: The torque for the Front Casing is 16-24 Nm for the ULT-30D ~ ULT-80, 25-38 Nm for the ULT-90 ~ ULT-150 and 13-19 Nm for the ULT-180. Apply Loctite 222 to threads on the Casing Connector.
- You are now ready to test the tool.
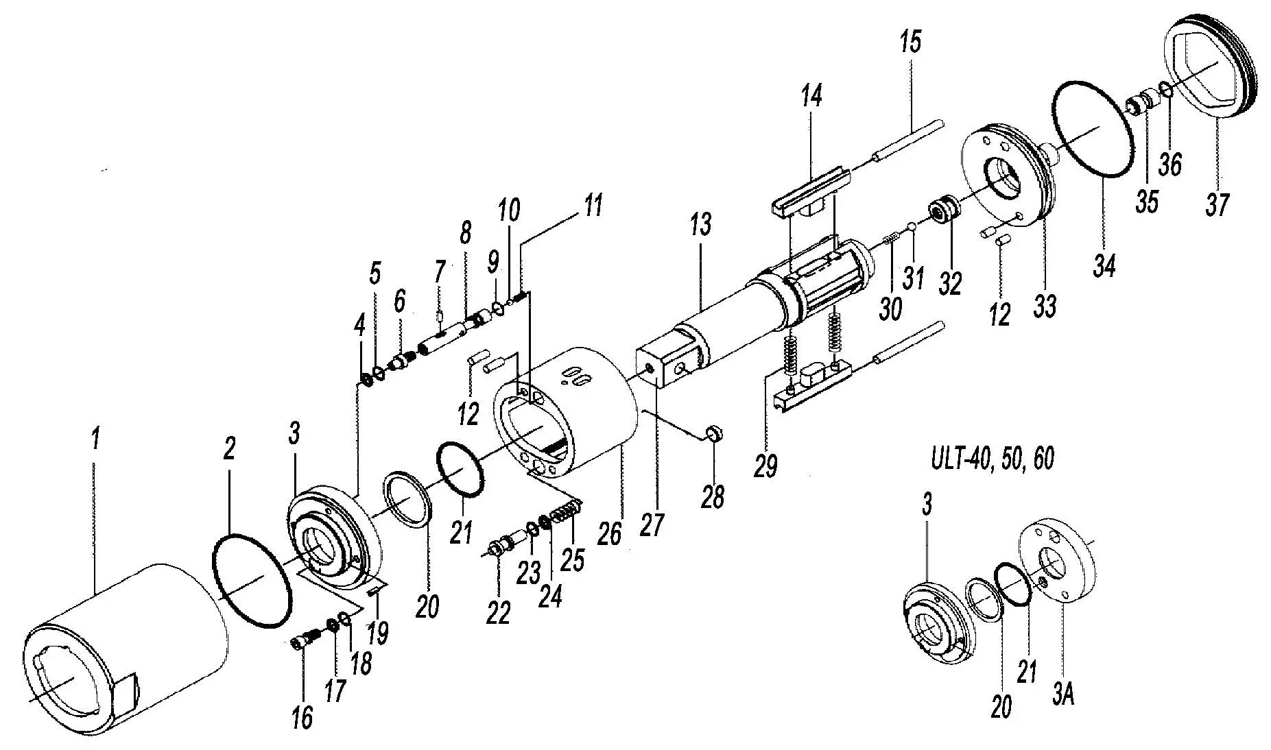
ULT-Pulse Unit

| Part Number | Description | Part Number | Description |
| 1 | Liner Casing | 19 | Locator Pin |
| 2 | Front Liner Plate O-Ring | 20 | Anvil Supporter Ring |
| 3 | Front Liner Plate | 21 | Anvil SU-Ring |
| 3A | Liner Casing Spacer | 22 | Accumulator |
| 4 | Torque Adjuster O-Ring | 23 | Accumulator O-Ring |
| 5 | Torque Adjuster Supporter Ring | 24 | Accumulator Supporter Ring |
| 6 | Torque Adjuster | 25 | Accumulator Spring |
| 7 | Relief Valve Pin | 26 | Liner |
| 8 | Relief Valve | 27 | Anvil |
| 9 | Relief Valve O-Ring | 28 | Accumulator Cover |
| 10 | Relief Valve Ball | 29 | Driving Blade Spring |
| 11 | Relief Valve Spring | 30 | Check Valve Spring |
| 12 | Locator Pins | 31 | Check Valve Ball |
| 13 | Anvil | 32 | Check Valve Cover |
| 14 | Driving Blade | 33 | Rear Liner Plate |
| 15 | Driving Blade Roller | 34 | Rear Liner Plate O-Ring |
| 16 | Oil Plug | 35 | Piston |
| 17 | Oil Plug Supporter Ring | 36 | Piston O-Ring |
| 18 | Oil Plug O-Ring | 37 | Liner Casing Setter |
Disassembly and Reassembly of Air Motor
Disassembly of Air Motor
- Remove the Casing (left-hand thread), Pulse Unit, Spacer, Spring, and Operating Rod from the Handle.
- With the Casing Connector Fixture, remove the Casing Connector (left-hand thread) from the Handle.
- Remove the Front Air Motor Plate, Rotor, Cylinder, Blades, Rear Air Motor Plate, O-ring, and Rear Plate Spacer from the Handle.
- Remove the O-rings from inside of the Handle.
- Remove the Bearings from the Front and Rear Air Motor Plates. The Bearing is a press fit into and over the Rotor on the Rear Air Motor Plate.
- Clean and inspect all parts. Resurface only those parts having burs on them. If any parts show deep grooving or surface wear, they will need to be replaced.
Assembly of Air Motor
- You will find all Bearings, O-rings, Blades, and Filter needed for rebuild of the Air Motor in an Air Motor Repair Kit (RK). To order an RK, you would order the model number of tool plus dash RK (i.e., ULT-70RK).
- Coat one-third of the Bearings with a good quality grease (i.e., Chevron Moly Grease EP NLG1 2).
- Press the Rear Plate Bearing into the Rear Plate and over the Rotor at the same time except on the ULT-150. The Bearings on the ULT-150 are Loctited into the Front and Rear Plate with Loctite 603 and the Rear Plate and Bearing are then pressed onto the Rotor.
Note: You should not be able to see any light between the Rear Plate and the Rotor and the Rotor should turn freely when you have it set right. - Put a light coat of air motor oil on the Blades and install them in the Rotor.
- Put the Cylinder down over the Rotor and onto the Rear Plate with exhaust holes up.
- Press the Front Plate Bearing into the Front Plate and install the Front Plate onto the Cylinder and Rotor.
- Install the O-ring and Rear Plate Spacer onto the Rear Air Motor Plate.
- Lightly oil the O-rings and install them into the Handle.
- Line up the pin on the side of the Front Plate with the cut-out on the inside of the Handle and install the Air Motor into the Handle.
- Install the Casing Connector into the Handle. The recommended torque for the ULT-30 – 80 is 45 Nm +/-5, for the ULT-90 is 50 Nm +/-5, for the ULT-100-130 is 60 Nm +/-5, and for the ULT-150 is 65 Nm +/-5. Make sure to use a good service removable thread locker on the Casing Connector.
- Install the Operating Rod, Spring, Adjusting Spacer, Pulse Unit, and Casing on the Handle. Make sure to use a good service removable thread locker on the Casing Connector. Note: The torque for the Front Casing is 16- 24 Nm for the ULT-30D ~ ULT-80, 25-38 Nm for the ULT-90 ~ ULT-150 and 13-19 Nm for the ULT-180. Apply Loctite 222 to threads on the Casing Connector.
- The tool is ready to test.
ULT- Air Motor

| Part Number | Description | Part Number | Description |
| 1 | Casing Connector | 10 | Rear Air Motor Plate |
| 2 | Piston Reset Spring | 11 | Rear Air Motor Bearing |
| 3 | Front Air Motor Bearing | 12 | O-Ring |
| 4 | Nylon Ball Plug | 13 | Rear Plate Spacer |
| 5 | Roll Pin | 14 | Front Air Motor Plate |
| 6 | Blade | 15 | Rotor |
| 7 | Roll Pin | 16 | Handle O-ring |
| 8 | Air Motor Cylinder | 17 | Handle |
| 9 | Front Air Motor Bearing |
Disassembly and Reassembly of the Shut-off Valve Section
Disassembly of Shut-Off Valve Section
- Remove the Valve Cover using the Valve Cover Fixture (right-hand thread) from the back of the Handle.
- Remove the Supporter Ring, Cushion Spacer, Shut-off Valve, Supporter Ring, Shut-off Valve Spring, and Ball from the Handle.
- Remove the Valve Plug from the side of the Handle and remove the Shut-off Valve Bushing from inside of the Handle.
- Clean and inspect all parts. Replace all worn or damaged parts.
Assembly of Shut-Off Valve Section
- Lightly lubricate all O-rings and install on Shut-off Valve Bushing.
- Install the Shut-off Valve Bushing into the Handle. Make sure to line up the hole in the side of the Shut-off Valve Bushing with the hole on the side of the Handle.
- Install the Valve Plug snugly into place, making sure not to over-tighten the Valve Plug or you could damage the O-ring and the tool will not shut-off. Note: The Valve Plug should be torqued to 1.0-1.5 Nm.
- Install the Ball, Spring, Supporter Ring, Shut-off Valve, Cushion Spacer, Supporter Ring, and Valve Cover. Note: The Valve Cover should be torqued to 20-30 Nm for the ULT-30D ~ ULT-80 and 30-40 Nm for the ULT-90 ~ ULT-180.
- You are ready to test the tool.
ULT-Shut-off Valve
| Part Number | Description | Part Number | Description |
| 1 | Valve Plug | 9 | O-Ring |
| 2 | Handle | 10 | Supporter Ring |
| 3 | O-Ring | 11 | Cushion Spacer |
| 4 | Shut-off Valve Spring | 12 | Operating Rod |
| 5 | Supporter Ring | 13 | Shut-off Valve Ball |
| 6 | O-Ring | 14 | Shut-off Valve |
| 7 | O-Ring | 15 | Valve Cover |
| 8 | Shut-off Valve Bushing |
ULT Series Fill & Draw Sheet
| Key Model of this Tool Group | Full Volume of Liner Oil in Pulse Unit (approx.) | Volume to be Removed from the Full Volume (approx.) | Torque to Tighten Liner Casing Setter (approx.) | Torque to Tighten Liner Casing Setter (approx.) | Load to Press on Rear Liner Plate | Load to Press on Rear Liner Plate |
| Hydraulic Press | P.T.R.F. | |||||
| Model | cc’s | cc’s | NM | Ft-Lbs | Tons | Ft-Lbs/ Nm |
| ULT-30 (D)(S) | 5.0 | 0.30+/-.01 | 85+/-5 | 63+/-4 | 1 | 20/27 |
| ULT-40(S)(D) & 50(S)(D)(C), | 5.6 | 0.35 -.04 | 85+/-5 | 63+/-4 | 1 | 20/27 |
| ULT-60(S)(D)(C) | 6.2 | 0.45+/-.05 | 85+/-5 | 63+/-4 | 1 | 20/27 |
| ULT-70(S)(C)(CH) | 8.8 | 0.70+/-.05 | 110+/-5 | 81+/-4 | 2 | 40/54 |
| ULT-80 | 12.0 | 0.85+/-.05 | 110+/-5 | 81+/-4 | 2 | 40/54 |
| ULT-90 | 14.0 | 1.00+/-.05 | 150+/-5 | 110+/-4 | 3 | 60/81 |
| ULT-100 | 21.5 | 1.60+/-0.1 | 185+/-10 | 137+/-7 | 3 | 60/81 |
| ULT-130 | 24.0 | 1.60+/-0.1 | 185+/-10 | 137+/-7 | 3 | 60/81 |
| ULT-150 | 31.5 | 2.20+/-0.1 | 200+/-10 | 148+/-7 | 3.5 | 70/95 |
| ULT-180 | 39.0 | 3.30+/-0.1 | 260+/-10 | 192+/-7 | 4 | 80/108 |
ULT Series Troubleshooting
| Trouble | Cause | Solution |
|
No Shut-off | Low Air Pressure | Make sure that you have 85 PSI at the tool while running the tool. |
| Low Oil in the Pulse Unit | Add .10cc of oil and/or re- tank the Pulse Unit. | |
| Air Motor Dry; No Lubrication | Lubricate the Air Motor. | |
| Loss of Power in the Air Motor | Reset the Air Motor. | |
|
Premature Shut-off | Shut-off Valve Ball Pushed into Spring | Reset the Ball in the Shut-off Valve Bushing. |
| Too Much Oil in the Pulse | Remove .10cc of oil from the Pulse Unit. | |
| Spring between the Pulse Unit and the Air Motor Weak or Missing | Replace Spring with new one or with a stronger one. | |
| Spacer between the Pulse Unit and the Air Motor Missing | Replace the Spacer. The Pulse Unit should only move .20mm in the Casing. | |
| Too Much Air Pressure | Air Pressure should be 85 PSI Dynamic. | |
|
Low Torque | Air Motor Dry; No Lubrication | Lubricate the Air Motor. |
| Loss of Power in the Air Motor | Reset the Air Motor. | |
| Spring between the Pulse Unit and the Air Motor Weak or Missing | Replace Spring with new one or with a stronger one. | |
| Low Oil in the Pulse Unit | Add .10cc of oil and/or re- tank the Pulse Unit. | |
|
Low RPMs | Exhaust Filter Dirty | Replace the Filter in the Silencer. |
| Air Motor Dry; No Lubrication | Lubricate the Air Motor. | |
| Loss of Power in the Air Motor | Reset the Air Motor. |
Recommended Preventative Maintenance
It is recommended that after every 200,000 pulsing seconds or 180 days, the fluid in the tool’s pulse unit be changed. At such time, it is also recommended to grease the bearings in the air motor. If the presence of water is noted, it is recommended that a small amount of oil be run through the air motor to wash out any rust residue in the air motor.
It is also recommended that after every 400,000 pulsing seconds or 365 days, that a Pulse Unit Repair Kit be installed in the pulse unit. This also allows the inspection of hard parts in the pulse unit.
CORPORATE HEADQUARTERS 10000 SE Pine Street
Portland, Oregon 97216 Phone: (503) 254-6600
Toll Free: 1-800-852-1368
AIMCO CORPORATION DE MEXICO SA DE CV Ave. Cristobal Colon 14529
Chihuahua, Chihuahua. 31125
Mexico
Phone: (01-614) 380-1010
Fax: (01-614) 380-1019
LIT-MAN460 Rev. 06/15/2022 Printed in USA ©2022 AIMCO
WWW.AIMCO-GLOBAL.COM


















