
IMPORTANT SAFETY INSTRUCTIONS
INSTRUCTIONS PERTAINING TO THE RISK OF INJURY TO PERSONS
To reduce the risk of INJURY TO PERSONS:
- Turn off/unplug and allow to cool before cleaning/maintenance.
- Do not look directly at lighted bulb.
- Keep lamp away from materials that may burn.
- Do not remain in light if skin feels warm.
- This lamp is operated by Lithium in the base. Please note:
- a. DO NOT disassemble this lamp base.
- b. DO NOT use this lamp near a fire or flame.
CAUTION:
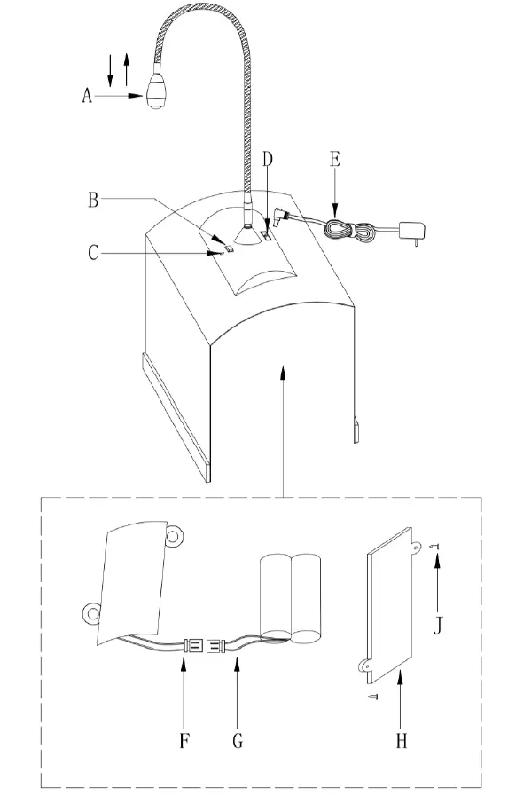
- Adjust shade (A), position and angle by touching only the gooseneck.
- Works best with chair back 6 inches or greater.
- Fabric ends contain heavy weights. Do not swing fabric or allow children to play with it.
ASSEMBLY INSTRUCTIONS
- Lay out all parts on a smooth surface as shown in illustration (page 2).
- Place lamp on chair back making sure fabric ends fall on either side.
- Insert the adapter plug (E) into the jack at the back of the lamp (D). Warning: Use only the adapter supplied with this lamp.
- Plug AC adapter into outlet or remove after charging.
- Adjust the lamp shade to desired position using the flexible gooseneck.
- Use the push 3-way switch (B) on the base to enjoy.
CHARGING LAMP
- Use only the adapter supplied with your lamp.
- Lamp needs charging when it cannot turn on or automatically turns off.
- Insert the adapter plug (E) into the jack of the lamp (D).
- Plug the adapter into an outlet.
- The LED indicator light (C) on the base is red while lamp is charging.
- The LED indicator light (C) on the base is green when lamp is fully charged.
- Charge time is about 8 hours. Battery life is 6-8 hours after a full charge.
- For added convenience, the adapter can remain plugged in while in use.
BATTERY REPLACEMENT
- If new lithium batteries are needed, contact Daylight24, Inc to purchase.
- Unscrew 2 pcs. screws (J) on the battery box cover (H) and take out the old battery by detaching at the male/female connection (F-G). Re-connect male/female connection of new batteries and insert in the box.
- Screw back 2 pcs. screws making sure the battery cover is firm.
MAINTENANCE
- To clean, use a soft cloth.
- Do not use any chemical or abrasive cleaners.
NOTE:
This lamp uses specially formulated LEDs that simulate the characteristics of the sun. The light will appear brighter and whiter compared to a normal incandescent bulb and will provide many of the benefits of natural sunlight. In addition, these LEDs are energy efficient and eco-friendly. They are not replaceable.
Manufacturer Info: [email protected]/978-494-6324

















