PKM GB34 E Freezer Instruction Manual
Dear customer! We would like to thank you for purchasing a product from our wide range of domestic appliances. Read the complete instruction manual before you operate the appliance for the first time. Retain this instruction manual in a safe place for future reference. If you transfer the appliance to a third party, also hand over this instruction manual.
Safety instructions
Read the safety instructions carefully before you operate the appliance for the first time. All information included in those pages serve for the protection of the operator. If you ignore the safety instructions, you will endanger your health and life.
DANGER! indicates a hazardous situation which, if ignored, will result in death or serious injury.
CAUTION! indicates a hazardous situation which, if not avoided, may result in minor or moderate injury
WARNING! indicates a hazardous situation which, if ignored, could result in death or serious injury.
NOTICE! indicates possible damage to the appliance.
Store this manual in a safe place so you can use it whenever it is needed. Strictly observe the instructions to avoid damage to persons and property.
Check the technical periphery of the appliance! Do all wires and connections to the appliance work properly? Or are they time-worn and do not match the technical requirements of the appliance? A check-up of existing and newly made connections must be done by an authorized professional. All connections and energy-leading components (incl. wires inside a wall) must be checked by a qualified professional. All modifications to the electrical mains to enable the installation of the appliance must be performed by a qualified professional.
The appliance is intended for private use only as well as to be used (1) in staff kitchen areas of shops, offices and other working environments; (2) by clients in hotels, motels, B&B and other residential type environments; (3) for catering and similar non-retail applications.
The appliance is intended for cooling food only.
The appliance is intended for indoor-use only.
The appliance is not intended to be operated for commercial purposes, during
camping and in public transport.
Operate the appliance in accordance with its intended use only.
Do not allow anybody who is not familiar with this instruction manual to operate the appliance.
This appliance may be operated by children aged from 8 years and above as well as by persons with reduced physical, sensory and mental capabilities or lack of experience and knowledge if they are supervised or have been instructed concerning the safe use of the appliance and do comprehend the hazards involved. Children must not play with the appliance. Cleaning and user maintenance must not be carried out by children unless they are supervised.
DANGER
- Do not connect the appliance to the mains if the appliance itself or the power cord or the plug are visibly damaged.
- Never try to repair the appliance yourself. If the appliance does not operate properly, please contact the shop you purchased the appliance at. Original spare parts should be used only.
- When the power cord is damaged, it must be replaced by the manufacturer or an authorized aftersales service or a qualified professional only.
WARNING
- This appliance is equipped with the environmental-friendly refrigerant R600a.
The refrigerant R600a is inflammable. The components of the cooling circuit must neither be damaged during transport nor use. - If any part of the cooling circuit is damaged, the appliance must not stand near a fire, naked light or spark-generating devices. Contact the shop you purchased the appliance at immediately .
- If gas is set free in your home:
- Open all windows.
- Do not unplug the appliance and do not use the control panel or thermostat.
- Do not touch the appliance until all the gas has gone.
- Otherwise sparks can be generated which will ignite the gas
- Keep all components of the appliance away from fire and other sources of ignition when you dispose of or decommission the appliance.
- EXPLOSION HAZARD! Do not store any explosive materials or sprays, which contain flammable propellants, in your appliance. Explosive mixtures can explode there.
- While unpacking, the packaging materials (polythene bags, polystyrene pieces, etc.) should be kept away from children. CHOKING HAZARD.
- Do not connect the appliance to the electric supply unless all packaging and transit protectors have been removed.
- Operate the appliance with 220~240V/50Hz/AC only. All connections and energy-leading components must be replaced by an authorized professional.
- Do not use a socket board or a multi socket when connecting the appliance to the mains.
- Do not connect the appliance to an energy saving plug (e.g. Sava Plug) and to inverters which convert direct current (DC) into alternating current (AC), e.g. solar systems, power supply of ships.
- A dedicated and properly grounded socket meeting the data of the plug is required to minimize any kind of hazard. The appliance must be grounded properly.
- Check that the power cord is not placed under the appliance or damaged when moving the appliance.
- The technical data of your energy supplier must meet the data on the model plate of the appliance.
- Your domestic circuit must be equipped with an automatic circuit breaker.
- Do not modify the appliance.
- Turn off the power before you install the appliance and before you connect it to the mains. RISK OF FATAL ELECTRIC SHOCK!
- Disconnect the appliance from the mains before you clean or maintain it.
- Do not use any electric appliances inside the food storage compartments of your appliance unless they are recommended by the manufacturer of your refrigerator.
- Do not put any heat-radiating appliances onto your appliance.
- Do not install the appliance in a place where it may come in contact with water/rain; otherwise the insulation of the electrical system will be damaged.
- Do not put a water-boiler or vases onto your appliance. The electrical components of your appliance can be seriously damaged by water over-boiling or spilled water.
- Do not use any steam cleaners to clean or defrost the appliance. The steam can get into contact with the electrical parts and cause an electrical short. RISK OF ELECTRIC SHOCK!
- Never use mechanic devices, knives or other sharp-edged items to remove encrusted ice inside the appliance. RISK OF ELECTRIC SHOCK caused by damaging the interior of the appliance.
- Children must never play with the appliance.
- If you decommission your appliance (even temporarily), ensure that children cannot get into the appliance. Strictly observe the corresponding safety instructions numbers. 1 and 4, chapter DECOMMISSIONING, ultimate
- Strictly observe the instructions in chapter INSTALLATION.
CAUTION!
- The condenser and the compressor, located at the rear of the appliance, can reach high temperatures during ordinary operation. Carry out the installation according to this manual. An insufficient ventilation of the appliance will impair its operation and will damage the appliance. Do not cover or block the ventilation slats at any time
- Do not put any gassy beverages into the freezer compartment of the appliance, because their containers could explode.
- Do not touch the extremely cooled surfaces with wet or damp hands, because your skin may stick on these surfaces.
NOTICE
- When you move the appliance, hold it at its base and lift it carefully. Keep the appliance in an upright position.
- Do not tilt the appliance more than 450 .
- If the appliance is transported in a horizontal position, some oil may flow from the compressor into the refrigerant circuit.
- Leave the appliance in an upright position for 4-6 hours before you switch it on to ensure, that the oil has flowed back into the compressor.
- Never use the door for moving the appliance as you will damage the hinges.
- The appliance must be transported and installed by at least two persons.
- When you unpack the appliance, you should take note of the position of every part of the interior accessories in case you have to repack and transport it at a later point of time.
- Do not operate the appliance unless all components are installed properly.
- Do not stand or lean on the base, the drawers, the doors etc of the appliance.
- Do not put hot liquids or hot foodstuff into the appliance.
- The air vents of the appliance or its built-in structure (if the appliance is suitable for being built-in) must be completely open, unblocked and free of any kind of dirt.
Climatic classes
Look at chap. TECHNICAL DATA for information about the climatic class of your appliance. Your appliance can be operated in rooms with relevant room temperatures as named below.
| CLIMATIC CLASS | AMBIENT TEMPERATURE |
| SN | +100→+320 C e.g. unheated cellar |
| N | +160→+320 C inner home temperature |
| ST | +160→+380 C inner home temperature |
| T | +160→+430 C inner home temperature |
Installation
Site
- Unpack the appliance carefully. Dispose of the packaging as described in chapter waste management.
- The accessories of your appliance can be protected from damage due to transportation (adhesive tapes etc.). Remove such tapes very carefully. Remove remains of such tapes with a damp cloth using lukewarm water and a mild detergent (see also chapter CLEANING AND MAINTENANCE). Never remove any components of the back of the appliance!
- Install the appliance in a suitable position with an adequate distance from sources of heat and cold.
- Check that the appliance and the power cord are not damaged.
- Install the appliance in a dry and well-ventilated place.
- Protect the appliance from direct sunlight.
- The doors must open completely and without hindrance.
- Install the appliance on a level, dry and solid floor. Check the correct installation with a bubble level.
- Connect the appliance to the mains properly.
- The nameplate is inside the appliance or at the back.
Space and ventilation requirements
SPACE REQUIREMENT OF THE APPLIANCE:
5 Schematic drawing is valid for all models.
| A = DEPTH / B = WIDTH / C = DEPTH (WHEN THE DOOR IS OPEN) | |||
| A | B | C | Height |
| 468 mm | 445 mm | ca. 900 mm | 500 mm |
| DOOR OPENING ANGLE | mind. 180 | ||
Observe the possible lateral space requirement of the open door relevant to the door opening angle.
Ventilation
Observe the required minimum distances for proper ventilation.
MINIMUM DISTANCES REQUIRED FOR PROPER VENTILATION:
| Back ↔ wall | min. 50 – 70 mm |
| Sides ↔ wall | min. 100 mm |
| Free space above | min. 100 mm |
| Door opening angle | min. 1800 |
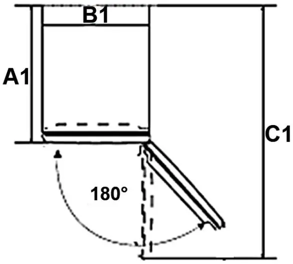
SPACE REQUIREMENTS INCL. MINIMUM DISTANCES FOR PROPER VENTILATION:
| A 1 = Depth / B 1 = Width / C 1 = Depth (when the door is open) | |||
| A 1 | B 1 | C 1 | Height |
| min. 538 mm | min. 545 mm | min. 970 mm | min. 600 mm |
| DOOR OPENING ANGLE | min. 1800 | ||
Observe the possible lateral space requirement of the open door relevant to the door opening angle
The following minimum distances are recommended by the manufacturer to ensure optimum efficiency of the appliance:
| Back ↔ wall | min. 75 mm |
| Right / left ↔ any piece of furniture / wall | min. 100 mm |
| Free space above | min. 100 mm |
These minimum distances may be less, but to do so can increase the power consumption of the appliance.
Leveling
- Use the adjustable feet for proper levelling and for proper air circulation in the lower sectors of the appliance. Adjust the feet using a suitable spanner.

The figure above is an example only. Modifications are possible. - You can adjust an inclination of 0.50 to allow the doors to close by themselves.
- If you have to move the appliance, set the adjustable feet to minimum position so the appliance can be moved on its rollers (depending on model) easily. Readjust the appliance when transport has been completed.
NOTICE! The rollers (depending on model) are no castors and intended to move the appliance forward and backwards only. Lateral movements can damage your floor and the rollers.
Changing of the hinge position
WARNING! Switch off and unplug the appliance before changing the hinge position.
RISK OF ELECTRIC SHOCK!
CAUTION! The change of the position must be carried out by at least two persons; otherwise you may hurt yourself or damage the appliance. The procedure described below should be carried out by a professional 6.
PREPARATORY MEASURES:
- Empty the appliance.
- Remove all door trays, glass shelves and drawers from the fridge so that they cannot be damaged.
- It is necessary to tilt the appliance backwards while removing the door. You should rest the appliance on something solid so it will not slip while changing the hinge positions.
- Do not lay the appliance flat as this can damage the cooling system.
- All parts removed must be saved for proper re installation of the doors.
- Always remove the doors carefully. Keep the door in a safe place so that it cannot be damaged.
TOOLS REQUIRED:
- Cross-head screwdriver
- Flat bladed screwdriver
- Socket spanner 8 mm
CHANGE OF THE HINGE POSITION:
6 Not included in guarantee and at the customer´s expense only.
- Open the appliance door and unhinge and remove all fittings from inside the appliance.
- Remove the upper hinge cover (3).
- Remove the two screws (2) that connect the upper hinge part (4) on the right side of the cabinet top.
- Carefully lift the door and place it on a padded surface to prevent scratching.
- Remove the screw hole cover (1) and transfer it to the uncovered hole on the right side of the unit.
- Be sure to press the button firmly into the hole
- Remove the two screws (7) that hold the lower hinge parts (6) on the right side of the unit.
- Remove the supporting leg (8) and transfer it to the right side as shown in the adjacent figure.
- Set the door into its new place making sure the pin enters the bushing at the lower frame section (hole).
- Secure the upper hinge part (4) previously removed in step 4 on the left side of the unit. Make sure the pin enters the bushing on the upper frame section (hole).
- Loosely secure the lower hinge (6) parts and do not tighten the bolts until the door is in the closed position and levelled.
- Replace the upper hinge cover (3)
- Turn the appliance upright again.
- Open the appliance doors and attach all fittings.
Operation
Main components

The figure above serves as an example only. Modifications are possible.
- SCREW HOLE COVER
- UPPER HINGE COVER
- FREEZING DOOR
- GASKET PART
- LOWER HINGE PARTS
- GLASS SHELF
- ADJUSTABLE LEG
After installation, please wait 4-6 hours before you connect the appliance to the mains.
Temperature control
| Setting | Operating status |
| 1-2 | Lowest refrigeration capacity |
| 3-4 | Daily use |
| 5 | Highest refrigeration capacity |
Example illustration
Initial operation
- After the waiting phase, set the thermostat to highest refrigeration capacity.
Operate the appliance without load (empty) in this setting for approx. 4 hours. - Set the thermostat to 3.
- You can load the appliance now.
WARNING The setting 0/OFF switches off the compressor only. You must unplug the appliance to disconnect it from the mains.
- In case of high outdoor temperatures (e.g. hot summer days) select a higher setting.
- If you choose a low temperature and some rime is generated at the back of the appliance, we recommend you select a higher temperature.
- Adept the temperature setting to the outdoor temperature.
- You can check the cooling temperature using a mercury-free fridge thermometer 7 .
- If you have disconnected the appliance from the energy supply, wait 10 minutes before you restart the appliance. Otherwise the appliance can be damaged.
- The setting definitions are standard values only.
Operational parameters
- The appliance can only reach the relevant temperatures when:
- the a ambient temperature meets the climatic class.
- the doors close properly.
- you do not open the doors too often or too long.
- the door seals are in proper condition.
- the appliance is properly positioned.
- you have not overfilled the appliance.
- you do not store warm or hot food in the appliance.
- When the ambient temperature is very high, it is recommended to set the thermostat to a colder setting if needed. If the colder setting should cause strong formation of encrusted ice, please select a lower setting.
- High ambient temperatures and simultaneously operating at the coldest setting may make the compressor operate permanently to keep the temperature constant inside the appliance.
- Defrost the appliance periodically as encrusted ice will decrease the power and increase the energy consumption of the appliance.
Helpful hints/energy saving
- Cooked food can be stored in the appliance. Let it cool down to room temperature before you put it into your appliance.
- Store your food in colourless, airtight and tasteless materials.
- Some food like meat, fish etc. may become dry and release strong odours. You can avoid these by wrapping them into aluminium foil or plastic wrap or putting them into an airtight bag or container.
- Allow ample storage place for your food. Do not overfill your appliance.
- Wrap your food in plastic wrap or suitable paper and place each kind of food in a particular location in your appliance. This will prevent any contamination, a loss of water and a mingling of odours.
7 Not included in delivery.
- Let warm or hot food cool down to room temperature before you put it into your appliance. Otherwise the energy consumption will increase.
- Put frozen food you want to defrost into the cooling-compartment of you appliance.
- Try opening the door as little as possible, especially when the weather is warm and humid. If you open the door, close it as fast as possible.
- Permanently check , that the appliance is well-ventilated. The appliance has to be well-ventilated from all sides.
How to freeze food
- Protect fresh food you want to freeze using aluminium foil, cling film, air and water tight plastic bags, polyethylene containers or other suitable plastic containers with a lid.
- Leave some free space between the single pieces of frozen food as proper air circulation is required.
- The food is frozen completely after 24 hours (you find the relevant information about the maximum freezing capacity within 24 hours in chapter technical data).
- Only buy frozen food, when its packaging is not damaged. Damaged packaging may indicate an interruption of the cold chain.
- Avoid or reduce variations in temperature: buy frozen food at the end of shopping and transport it in thermally insulated bags.
- Do not refreeze defrosted and semi-defrosted food. Consume within 24 hours.
- Observe the complete information on the packaging of frozen food.
Cleaning and maintenance
- WARNING! Disconnect the appliance from the mains before you clean or maintain it.
- Always keep the appliance clean so that unpleasant odours do not occur.
- Dust deposits on the condenser will increase the energy consumption. Clean the condenser twice a year with a vacuum cleaner or a soft brush.
- Take off all rings and bracelets before cleaning or maintaining the appliance; otherwise you will damage the surface of the appliance.
Detergent
- Do not use any harsh, abrasive or aggressive detergents.
- Do not use any solvents.
- Do not use any abrasive detergents! Do not use any organic detergents!
Detergents such as vinegar, citric acid etc.
- Do not use essential oils!
- These instructions are valid for all surfaces of your appliance.
External cleaning
- Use a moist cloth and a mild, non-acidic detergent. Use a suitable detergent for stubborn stains.
- Use clear water to rinse.
- Dry the cleaned surfaces with a cloth.
Internal cleaning
- Clean the shelves and the inside with warm water and a mild detergent.
- Use clear water to rinse.
- Dry the cleaned surfaces with a cloth.
- Check the water drain and clean it if needed.
Clean with warm water and a mild, non- acidic detergent.
Defrosting
WARNING! Never use any mechanical items, knives or other sharpedged objects to remove the encrusted ice. RISK OF ELECTRICAL SHOCK!
- Remove the contents and put them into a cooling box.
- Switch off the appliance by turning the thermostat to position 0/AUS/OFF and disconnect it from the mains.
- When the encrusted ice melts put some dry cloths into the appliance to hold the water back.
- Do not support the defrosting procedure with hot water.
- Remove the big pieces of ice first. Then remove the small pieces of ice.
- Clean and dry the appliance and door seals with soft cloths.
- Leave the door of the appliance open for a while.
Troubleshooting
MALFUNCTION | |
| POSSIBLE CAUSE | MEASURE |
| The appliance does not work at all. | |
|
|
|
|
| The compressor does not work at all. | |
|
|
| The compressor operates for too long. | |
|
|
| Strong formation of encrusted ice. | |
|
|
| The door makes a strange sound when opened. | |
|
|
| Uncommon noise. | |
|
|
If the appliance shows a malfunction not noted on the schedule above or if you have checked all items on the above schedule but the problem still exists, please contact the shop you purchased the appliance at
The operating conditions described below are normal and do not indicate a malfunction.
- The refrigerant generates a sound similar to flowing water.
- Sometimes you may hear a sound which is generated by the injection process of the cooling circuit.
- The sides of the appliance may get warm while the appliance is running
Distinct noise
When you operate the appliance for the first time or the temperature falls below a certain level, the appliance will operate with high power to reach the preset temperature.
Condensed water in/on the appliance
may be generated inside or outside the appliance by high humidity or very warm ambient temperatures.
Clicking
You will hear the compressor click if it is activated or deactivated.
Hum
is caused by the compressor while running.
Knocking/snapping
may be generated by sequential expansion and shrinkage of the components of the cooling system. It is caused by variation of temperature before and after the compressor is activated or deactivated.
Decommissioning
Decommissioning, temporarily
- If the appliance is not used for a longer period of time:
- Draw the plug out of the socket.
- Remove all food stored in the appliance.
- Dry the inside of the appliance with a cloth and leave the door open for a few days.
- While away on an average vacation/holiday (14-21 days):
- Do the same as described above, or
- let the appliance operate.
- remove all perishable food from the cooling compartment.
- clean the cooling compartment.
- freeze all food which is suitable to be frozen.
- If you want to move the appliance:
- Secure all removable parts and the contents of the appliance. Pack them separately if necessary.
- Transport the appliance in an upright position only. All other positions can cause damage to the compressor.
- Do not damage the feet of the appliance.
Decommissioning, ultimate
- Draw the plug out of the socket.
- Cut off the power cord at the appliance.
- Completely remove every door of the appliance.
- Leave the shelves in their position so that children are not able to get into the appliance.
- Follow the advice for the disposal of the appliance in chapter WASTE MANAGEMENT.
Technical data
| Model | Freezer |
| Climatic class | SN~T |
| Energy efficiency class* | E |
| Annual energy consumption in kW/h** | 148 |
| Voltage/frequency | 220-240W AC/50Hz |
| Volume net in l | 34 |
| Noise emission | 39 dB/A |
| Stars | 4**** |
| Freezing capacity/24 h | 2.00 kg |
| Max. storage time/malfunction | 6.00 h |
| Adjustable thermostat | yes |
| Compressor | 1 |
| Refrigerant | R600a |
| Changeable hinge position | yes |
| Adjustable feet | yes |
| Defrosting | manually |
| Wire shelf | 1 |
| Dimensions appliance H*W*D in cm | 50.00*44.50*46.80 |
| Weight net/gross in kg | 16.00/18.40 |
- On a scale from A (highest efficiency) to G (lowest efficiency).
- Based on standard measurement results within 24 hours. The current energy consumption depends on the way the appliance is used as well as on its site.
Waste management
- Dispose of the appliance relevant to the current legislation in view of explosive gases. The cooling systems and insulation of refrigerators and freezers contain refrigerants and gases which have to be deposed of properly. Do not damage the cooling fins and tubes. If refrigerants escape there is FIRE HAZARD!
- The refrigerant circuit of the appliance contains the refrigerant R600a, a natural gas of high environmental compatibility.
- WARNING! Do not damage any components of the refrigerant circuit while transporting the appliance. FIRE HAZARD!
- While unpacking, the packaging materials (polythene bags, polystyrene pieces, etc.) should be kept away from children. CHOKING HAZARD!
- Old and unused appliances must be send for disposal to the responsible recycling centre. Never expose to open flames.
- Before you dispose of an old appliance, render it inoperative. Unplug the appliance and cut off the entire power cord. Dispose of the power cord and the plug immediately. Remove the door completely so children are not able to get into the appliance as this endangers their lives!
- Dispose of any paper and cardboard into the corresponding containers.
- Dispose of any plastics into the corresponding containers.
- If suitable containers are not available at your residential area, dispose of these materials at a suitable municipal collection point for waste-recycling.
- Receive more detailed information from your retailer or your municipal facilities
Materials marked with this symbol are recyclable.
Please contact your local authorities to receive further information.
The refrigerant R600a is flammable!
Guarantee conditions
for large electric appliances; PKM GmbH & Co. KG, Neuer Wall 2, 47441 Moers.
This appliance includes a 24-month guarantee for the consumer given by the manufacturer, dated from the day of purchase, referring to its flawless material components and its faultless fabrication. The consumer is accredited with both the dues of the guarantee given by the manufacturer and the vendor’s guarantees. These are not restricted to the manufacturer’s guarantee.
Any guarantee claim has to be made immediately after the detection and within 24 months after the delivery to the first ultimate vendee. The guarantee claim has to be verified by the vendee by submitting a proof of purchase including the date of purchase and/or the date of delivery. The guarantee does not establish any entitlement to withdraw from the purchase contract or for a price reduction. Replaced components or exchanged appliances demise to us as our property.
The guarantee claim does not cover:
- fragile components as plastic, glass or bulbs;
- minor modifications of the PKM-products concerning their authorized condition if they do not influence the utility value of the product;
- damage caused by handling errors or false operation;
- damage caused by aggressive environmental conditions, chemicals, detergents;
- damage caused by non-professional installation and haulage;
- damage caused by non common household use;
- damages which have been caused outside the appliance by a PKM-product unless a liability is forced by legal regulations.
The validity of the guarantee will be terminated if:
- the prescriptions of the installation and operation of the appliance are not observed.
- the appliance is repaired by a non-professional.
- the appliance is damaged by the vendor, the installer or a third party.
- the installation or the start-up is performed inappropriately.
- the maintenance is inadequately or incorrectly performed.
- the appliance is not used for its intended purpose.
- the appliance is damaged by force majeur or natural disasters, including, but with not being limited to fires or explosions.
The guarantee claims neither extend the guarantee period nor initiate a new guarantee period. The geographical scope of the guarantee is limited with respect to appliances, which are purchased and used in Germany, Austria, Belgium, Luxembourg and the Netherlands.
SERVICE INFORMATION
TECHNOLOGY FOR DOMESTIC USE
Please contact the shop you purchased the appliance at.
Subject to alterations
Updated
01/24/2022
© PKM GmbH & Co. KG, Neuer Wall 2, 47441 Moers

















