
HAUSHALTS- GEFRIERBOX GB 7246
HOUSEHOLD FREEZER BOX

Instruction Manual
Introduction
Thank you for choosing our product. We hope you will enjoy using the appliance.
Symbols in these Instructions for Use.
Important information for your safety is specially marked. It is essential to comply with these instructions to avoid accidents and prevent damage.
WARNING:
This warns you of dangers to your health and indicates possible injury risks.
CAUTION:
This refers to possible hazards to the machine or other objects.
NOTE: This highlights tips and information.
General Notes
Read the operating instructions very carefully before putting the appliance into operation and keep the instructions including the warranty and the receipt. If you give this device to other people, also pass on the operating instructions.
NOTE:
- Due to constant product modifications, your device may differ slightly from these operating instructions; Functions and methods of use remain unchanged.
- The illustrations in these operating instructions may differ from the original device.
- The appliance is designed exclusively for private use and for the envisaged purpose. This appliance is not fit for commercial use.
- The appliance is only to be used as described in the user manual. Do not use the appliance for any other purpose. Any other use is not intended and can result in damages or personal injuries.
- This appliance is not intended to be used as a built-in appliance.
- Do not use it outdoors. Keep it away from sources of heat, direct sunlight and humidity.
- When not in use, for cleaning, user maintenance works or with disruption, switch off the appliance and disconnect the plug (pull the plug itself, not the lead) or turn off the fuse.
- The appliance and if possible the mains lead have to be checked regularly for signs of damage. If damage is found the appliance must not be used.
- For safety reasons, alterations or modifications of the appliance are prohibited.
- To ensure your children’s safety, please keep all packaging (plastic bags, boxes, polystyrene etc.) out of their reach.
WARNING:
Do not allow small children to play with the foil.
There is a danger of suffocation!
Special safety Information for this Unit
- This unit is intended to be used in household and similar applications such as
– staff kitchen areas in shops, offices and other working environments;
– farm houses and by clients in hotels, motels and other residential type environments;
– bed and breakfast type environments;
– catering and similar non-retail applications.
WARNING:
- Keep ventilation openings, in the appliance enclosure or in the built-in structure, clear of obstruction.
- Do not use mechanical devices or other means to accelerate the defrosting process (if necessary), except those described in this manual (depending on the model included the scope of delivery).
- Do not damage the refrigerant circuit.
- Do not operate any electrical devices inside the appliance.
- Do not store explosive substances such as aerosol containers with flammable propellant in the appliance.
- This appliance can be used by children aged from 8 years and above and persons with reduced physical, sensory or mental capabilities or lack of experience and knowledge if they have been given
supervision or instruction concerning use of the appliance in a safe way and understand the hazards involved. - Children shall not play with the appliance.
- Cleaning and user maintenance shall not be made by children unless they are older 8 years and supervised.
- NOTE: Children aged from 3 to 8 years are allowed to load and unload refrigerating appliances.
- When positioning the appliance, ensure the supply cord is not trapped or damaged.
- Do not locate multiple portable socket-outlets or portable power supplies at the rear of the appliance.
- Do not try to repair the appliance on your own. Always contact an authorized technician. To avoid the exposure to danger, always have faulty cable be replaced only by the manufacturer, by our customer
service or by qualified person and with a cable of the same type. - Use the provided collection points of electrical equipment for the disposal of the appliance.
Coolant
WARNING: Risk of fire / flammable materials
The coolant circuit of this unit contains the refrigerant Isobutane (R600a), a natural gas that is flammable and of high environmental compatibility. Make sure no parts of the coolant circuit get damaged during transport and installation of the appliance.
If the coolant circuit is damaged:
- avoid any open flames or ignition source,
- disconnect the plug,
- thoroughly air the room in which the appliance is installed and
- contact an authorized technician.
Transport and Packaging
Transport the appliance
Transport the appliance, if possible, in vertical position. Otherwise, it is absolutely necessary to allow the appliance standing upright for a few hours before installation ”Prior to first use”. Protect the appliance during transport against weather influences.
Unpacking the appliance
- Remove the appliance from its packaging.
- Remove all packaging material, such as foils, filler and cardboard packaging.
- To prevent hazards, check the appliance for any transport damage.
- In case of damage, do not put the appliance into operation. Contact your distributor.
NOTE:
Production residue or dust may have collected on the appliance. We recommend cleaning the appliance according to chapter “Cleaning and Maintenance”.
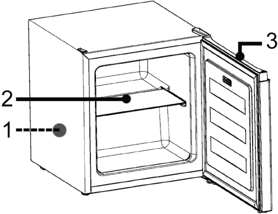
Appliance Equipment
Appliance overview

1 Temperature control
2 Glass shelf
3 Appliance door
Delivery scope
Ice-cube tray
Installation
Conditions for the installation location
- Good ventilation is required around the appliance to dissipate the heat properly and to guarantee efficient cooling operation at low power consumption. Enough clearance is necessary.
– Gap to the back approx. 50~70 mm, to the side walls and above the device each approx. min. 100 mm;
– Place the appliance so that the appliance door can open without being impeded. - Only install at a location with an ambient temperature suitable for the climate class of the appliance. The climate class can be found under “Technical Data” and on the rating label located in the interior or on the appliance rear.
- Place the appliance on a steady and safe surface. If the appliance is not horizontally leveled, adjust the feet accordingly.
- Avoid the installation:
– near heaters, next to a stove, direct sunlight or any other heat sources;
– at locations with high humidity (e.g. outdoors, bathroom), as metal parts would be susceptible to corrosion under such circumstances;
– near volatile or flammable materials (e.g. gas, fuel, alcohol, paint, etc.), in rooms which may have poor air circulation (e.g. garages).
– Do not expose the appliance any weather.
Electrical connection
WARNING:
- The installation to the mains supply must conform to the local standards and regulations.
- Improper connection may cause to an electric shock!
- Do not modify the appliance plug. If the plug does not fit properly to the outlet, let install a proper outlet by an authorized specialist.
- The accessibility of the power plug must be ensured to disconnect the appliance from the power supply in case of emergency.
- Make sure that the voltage supply matches the specifications on the rating label before connecting.
- Connect the mains cable to a properly installed and earthed wall outlet.
- If the plug after installation is not accessible, a corresponding disconnect device must be available to meet the relevant safety regulations.
Reverse the door opening
If required, the door opening can be moved from the right (supplied condition) to the left side.
WARNING:
When replacing the door stop, the appliance must be disconnected from the power supply first.
NOTE:
- Ask another person to assist.
- You possibly need: screw wrench, Phillips screwdriver as well as a thin-blade screwdriver.

- Remove the blind cap (1) and the hinge cover (2).
- Dismount the upper door hinge (4) by loosening the screws (3). Open the appliance door a little and lift it out of the lower door hinge.
- Place the appliance door safely aside.
- Tilt the appliance slightly backwards and block it in this position. Unscrew the feet (7+8).
- Dismount the lower door hinge (5) by loosening the screws (6).
- Displace and attach the door hinge (5) at the opposite appliance side. Turn in the feet (7+8) accordingly.
- Replace the appliance upright. Put the appliance door on the hinge pin and fix it in its intended position.
- Displace and attach the upper door hinge (4) at the opposite appliance side.
- Insert in the blind cap (1) at the opposite hole and put on the hinge cover (2) again, which you have removed at the beginning.
Check if the door is aligned vertically and horizontally optimally so that the smooth opening and closing of the door is guaranteed.
Startup / Operation
Prior to first use
CAUTION:
After transport, the appliance should be left standing upright for four hours before connecting to the power supply. Nonobservance could lead to malfunction of the cooling system and causes an appliance
breakdown.
Clean the appliance interior including all accessory parts. Consider the instructions which we provide in the chapter “Cleaning and Maintenance”.
Starting the appliance
- Connect the appliance to the power supply.
- Operate the temperature control at the back of appliance. See also the section “Settings”.
Settings
The power levels [1 – 5] regulates the different values of the internal temperature. Turning the temperature control clockwise will lower the inside temperature.
Setting 1:
Lowest setting (warmest inside temperature)
Setting 5:
Highest setting (coldest inside temperature)
Note that the temperature will change depending on the ambient temperature, frequency of door opening and the amount of food in the appliance.
During initial operation, turn the temperature control to the highest setting first, until the appliance has reached the desired operating temperature. Afterwards it is recommended to turn the control back to a medium setting; correcting the temperature at a later point would then be easier.
NOTE:
In generally a low to medium power level works best for an optimized food storage. A high power level also increases the energy consumption.
Storing food
NOTE: Recommendation!
To guarantee that the temperature is low enough, you should pre-cool the appliance a few times before initial loading foods.
CAUTION:
Always pay attention to the storage instructions on the sales packaging.
The 4-star freezer allows you to store frozen food at a temperature of ≤ -18°C for several months; to produce ice cubes and to freeze fresh food.
To avoid contamination of food, respect the following instructions:
- Opening the door for long periods can cause a significant increase of the temperature in the compartments of the appliance.
- Clean regularly surfaces that can come in contact with food and accessible drainage systems (see “Cleaning and Maintenance”).
- Store raw meat and fish in suitable containers in the refrigerator, so that it is not in contact with or drip onto other food.
- If the appliance is out of use for long period, follow the instructions under “Switching off”.
Freezing
- Fresh food should be frozen as fast as possible to the core. During freezing operation, the temperature of fresh food should be lowered as fast as possible to keep formation of ice crystals as little as possible and not to damage the food structure.
- Frozen food should be kept in contact with the bottom of the compartment.
- Keep a space between the individual items, so that the cold air can circulate.
Storing frozen food
- Packed frozen merchandise should be stored in accordance with the manufacturer’s data. Make sure the food items do not defrost after purchase and to store them as fast as possible in the freezer.
- It is possible to store food for longer periods of time. The period might vary, so observe the storage information on the packaging of the merchandise.
- Make sure that the temperature in the freezer does not rise above -18°C. For this, the unit should be defrosted regularly. A thick frozen layer deteriorates the cooling and increases the power consumption.
General safety precautions
- Do not store bottles or cans. These can break when the contents freeze – or even explode, if they contain carbonated drinks.
- Once products have been defrosted halfway or completely, they should be consumed as soon as possible and should not be frozen again, except they have been processed to a ready meal.
- Do not eat food that is still frozen. Do not eat ice cream directly from the freezer. The cold can cause injuries in the oral cavity.
- Touching metal parts inside the unit can cause symptoms like burns if the skin is very sensitive.
- Never touch frozen food with moist or wet hands.
Operating noise
| Type of sound | Cause |
| Mumbling | Compressor during its operation |
| Liquid sounds | Circulation of the refrigerant |
| Click sounds | The temperature control turns the compressor on or off |
| Disturbing noises | Vibration of the shelves or cooling coils |
Switching off
Disconnect the power supply to switch off the appliance.
If the appliance is out of use for long periods:
- Remove the appliance content.
- Defrost (model dependent) and clean the device thoroughly (see ”Cleaning and Maintenance”).
- Leave open the appliance door to avoid formation of mold and unpleased odor.
Tips for Energy saving
- Disconnect the appliance from the power supply, if it isn’t in use.
- Do not install the appliance near stoves, heaters or other heat sources. In case of higher ambient temperatures, the compressor will run more frequently and longer.
- Ensure enough ventilation at the bottom and rear side. Never block ventilation openings.
- Place all shelves, racks or drawers (depending on the model) in their original position.
- Adjust the temperature not colder than necessary.
- Allow warm food to cool before placing it in the appliance.
- Open the unit door only as necessary.
- Defrost the unit regularly (model dependent).
- The seal of the appliance door must be completely intact, so that the door closes properly.
Cleaning and Maintenance
WARNING:
- Always disconnect the appliance from the power supply before cleaning and user maintenance.
- Do not use steam cleaners for cleaning the appliance; moisture could enter electrical components.
Risk of electric shock! Hot steam could damage the plastic parts. - The unit must be dry before restarting operation.
CAUTION:
- Do not use a wire brush or other sharp, abrasive items.
- Do not use any acidic or abrasive detergents.
- Do not damage the refrigerant circuit.
Cleaning the appliance including interior
- Clean the appliance interior, the exterior surfaces, the accessories and the door seal regularly with warm water and mild detergent; or with a clean, damp microfiber cloth without cleaning agent.
- Remove the appliance content and storage it at a cool location.
- After everything was thoroughly dried, you can restart the operation.
Defrosting
CAUTION:
Never use metal objects (e.g. knifes) to remove ice from the evaporator. Otherwise it can be damaged.
To achieve better cooling and to save energy, defrost the appliance regularly as follows:
- To start the defrosting process, disconnect the appliance from the power supply.
- Remove the food items and keep covered at a cool location.
- When the ice has melted, wipe the condensate away and dry the appliance interior.
- Then you may restart the appliance by connecting the plug and turning the temperature control.
Troubleshooting
| Problem | Cause / Action |
| Unit is not working properly or at all |
|
| Loading is too warm |
|
| Loud noise during operation |
|
| Water on the unit bottom |
|
NOTE:
If a problem persists after following the steps above, contact your trader or an authorized technician.
Technical Data
Climate class SN/N/ST/T: this appliance is intended to be used at ambient temperature ranging from 10°C to 43°C.
Electrical connection……………………………………..
Power voltage: …………………….220-240 V~ / 50 Hz
Rated power: ……………….….…………….…….90 W
Rated current: ……………………………………. 0.6 A
Dimension H x W x D / Weight…..……………………..
Appliance size: ……….….……..50.0 x 45.5 x 46.8 cm
Net weight: ………………………….…approx. 15.5 kg
For more information about the product, scan the QR code on the supplied energy label and/or visit the official website of the product data bank:
https://eprel.ec.europa.eu
The right to make technical and design modifications during continuous product development remains reserved.
This appliance has been tested according to all relevant current CE guidelines, such as electromagnetic compatibility and low voltage directives, and has been constructed in accordance with the latest safety regulations.

Disposal
Meaning of the “Dustbin” Symbol
Protect our environment; do not dispose of electrical equipment in the domestic waste.
Please return any electrical equipment that you will no longer use to the collection points provided for their disposal.
This helps avoid the potential effects of incorrect disposal on the environment and human health. This will contribute to the recycling and other forms of reutilization of electrical and electronic equipment.
Information concerning where these can be disposed of can be obtained from your local authority. Your dealer and contractual partner is also obliged to take back the old appliance free of charge.
WARNING:
Remove or disable any existing snap and bolt locks, if you take the unit out of operation or dispose it.

C. Bomann GmbH
www.bomann-germany.de
Made in P.R.C.
Stand 12/2021


















