GARNI technology GARNI 525 Digital Alarm Clock

DESCRIPTION
- inverse color VA display
- measurement of indoor and outdoor relative humidity (%)
- measurement of indoor and outdoor temperature (°C or °F)
- possibility to connect up to 3 wireless sensors for measurement of temperature and relative humidity at different spots
- weather forecast icons based on monitoring of changes in barometric pressure
- absolute barometric pressure display
- memory for maximum and minimum measured values of temperature and rel. humidity
- alarm for upper and lower limits of the outdoor temperature
- time and date controlled by DCF-77 radio signal with manual setting option
- 12- or 24-hour time display format
- date
- alarm clock
- Moon phase
- 5-minute snooze function (Snooze)
- permanent display backlight option when on mains power, 3 backlight brightness levels
- the main unit and the wireless sensor can be suspended or stand
- the wireless sensor is included in the delivery
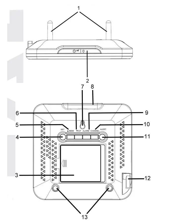
Main unit
Top view
- Stand
- Button (Snooze / backlight)
Rear panel - Battery compartment cover
- Button SET (setting)
- Button ▲/MEM (up, memory)
- Button ▼/CF (down, temperature unit)
- Suspension hole
- Button (Snooze / backlight)
- Button ALARM (alarm clock)
- Button CHANNEL (channel)
- Button ALERT (temperature alarm)
- Power supply socket
- Stand holes
Display of the main unit
- Icons for temperature alarm, MAX and MIN values
- Weather forecast icons
- Absolute barometric pressure
- Date
- Moon phase
- Channel number
- Icon of an activated alarm clock, Snooze function (Zz )
- Time
- DCF-77 signal reception icon
- Outdoor temperature
- Wireless sensor low battery icon
- Trend arrow
- Indoor relative humidity
- Main unit low battery icon
- Indoor temperature
- Wireless sensor signal reception icon
- Indoor relative humidity
Wireless sensor GARNI 045H
- Display
- Stand
- Battery compartment cover
- Mounting hole
- Battery compartment
- Channel switch CH
- TEST button
- °C/°F button

COMMISSIONING
Main unit
- The main unit can be powered by batteries (short-time display backlight for 10 seconds) or by an AC adapter (permanent display backlight possible, 3 brightness levels).
- Remove the battery compartment cover on the rear panel of the main unit by sliding to the right and insert 3 pcs of AAA batteries (micro). Observe the correct battery polarity. Or connect the power adaptor plug into the side socket. The display lights up and all display segments are briefly displayed.
- Replace the battery compartment cover and slide it to the left
- The bars at indoor temperature and relative humidity start flashing, together with the icon . Searching of the wireless sensor signal will take 3 minutes.
Note: observe the correct battery polarity to prevent damage to the weather station. Use only high-quality alkaline batteries for the main unit
The battery compartment houses two stands that can be screwed into the holes on the back of the main unit if the main unit shall not be suspended but stand.
Wireless sensor
- Remove the battery compartment cover on the rear side of the wireless sensor.
- Set the required channel using the CH switch
- Insert 2 pcs AAA batteries (micro) – observe the correct battery polarity
- After the batteries are inserted, a signal is sent to the main unit. The signal can also be sent manually, using the TEST button in the battery compartment of the wireless sensor
- Close the battery compartment.
When the signal is received successfully, the measured values are shown on the display on the selected channel. Use the °C/°F button to change the temperature unit displayed on the wireless sensor. If the wireless sensor signal is lost, hold down the CH button on the main unit for 3 seconds. The main unit will re-commence searching for the wireless sensor signal. Now press the TEST button in the battery compartment of the wireless sensor.
Note: For the wireless sensor, lithium batteries are recommended due to their better resistance to frost. Do not use rechargeable batteries.
Using multiple wireless sensors
If you want to use multiple wireless sensors, select a different channel for each wireless sensor. Then proceed same as when establishing a connection with one wireless sensor. The connection establishment process must be repeated after each battery replacement.
Switching between wireless sensor channels
If there are multiple wireless sensors paired with the main unit, press the CHANNEL button on the main unit to display the measured temperature and relative humidity readings of each wireless sensor. For automatic switching of channels to which the wireless sensors are registered, press the button repeatedly until the display shows icon . The channels will change every 5 seconds. To terminate the automatic switching, press the CH button again.
Placement
Placement of the wireless sensor
Place the wireless sensor away from direct sunlight not to compromise the measurement. Placement outdoors, at the northern wall is recommended. Obstacles such as walls, concrete, metal structures and large objects reduce the signal range. Position the wireless sensor vertically for optimum signal transmission.
The signal range may be affected by obstacles (walls, trees) and other electrical devices (TVs, monitors, etc.).
The wireless sensor can be suspended using the mounting hole or the hinged stand on the bottom of the wireless sensor.
Placement of the main unit
Select the location of the main unit that is free from direct sunlight. Test the connection to the wireless sensor
before final installation. If there is a problem with the signal reception, select another location. There is a mounting hole for suspension on the rear of the main unit. The main unit can be also placed on a flat surface using the two stands that are stored in the battery compartment and can be screwed into the two holes on the back of the main unit.
SETUP OF THE WEATHER STATION
To enter the settings mode press and hold the SET button in the main screen mode for 3 seconds. For settings, use the ▲/MEM and ▼/CF buttons. To save, press the SET button once.
- Press the SET button and hold for 3 seconds. Hour will flash. Use the ▲/MEM or ▼/CF button to set the hour and confirm with SET
- Proceed further to set minutes, year, data display format D-M (day-month), or M-D (month-day), month, day, absolute barometric pressure display units (hPa/mb or mmHg), day name abbreviation language (GER, ENG, FRE, ITA, SPA), time format (12 Hr or 24 Hr), enabling (ON), or disabling (OFF) DCF-77 signal reception, activation (ON), or deactivation (OFF) of the beep (BI) on button press, time zone (ZONE, from -12 to +12 hours, for the Czech and Slovak Republic leave 00), and cease the setting by pressing SET
- After setting is done, you can change the time display in 12- or 24-hour format also by briefly pressing the SET button.
Note: Hold the ▲/MEM button or ▼/CF button when setting the value to increase or decrease the value faster. If no button is pressed for 20 seconds, the last set value is saved and the setting mode exits.
| Monday | Tuesday | Wednesday | Thursday | Friday | Saturday | Sunday | |
| GER | MON | DIE | MIT | DON | FRE | SAM | SON |
| ENG | MON | TUE | WED | THU | FRI | SAT | SUN |
| FRE | LUN | MAR | MER | JEU | VEN | SAM | DIM |
| ITA | LUN | MAR | MER | GIO | VEN | SAB | DOM |
| SPA | LUN | MAR | MIE | JUE | VIE | SAB | DOM |
TREND ARROWS
The main unit display shows arrows next to the measured values. These arrows show the trends of the measured values.
SETTING OF UNITS
°C and °F
In the basic display mode, press ▼/CF briefly to switch the displayed measured temperature units to °C or °F.
TIME AND DATE CONTROLED BY THE DCF-77 RADIO SIGNAL
The weather station is equipped with the DCF-77 time/date control signal receiver. The DCF-77 is broadcast by a transmitter from Frankfurt am Main, Germany, with a range of about 1500 km. The time and date is adjusted every day. In case of poor reception conditions time and date can be adjusted manually. After time and date have been adjusted manually, they will be readjusted upon reception of the DCF-77 signal.
When the batteries are inserted into the main unit and the wireless sensor and the connection is established, the main unit will start to receive the DCF-77 signal. The DCF-77 signal reception icon starts flashing. If the signal is not received, the DCF-77 signal reception icon will not be shown on the display. Upon successful reception the reception icon will be displayed on the display, if the signal is not received, icon will be displayed. The DCF-77 signal is receiver every day at 1:03; if date/time are not adjusted then also at 2:03, 3:03, 4:03 and 5:03.
Reception of the DCF-77 signal can be started manually by pressing and holding the ▼/CF button for 3 seconds. Receiving and adjusting time can take up to 10 minutes. The DST label next to the time indicates the daylight savings time.
MEMORY FOR MAX AND MIN MEASURED VALUES
The main unit is equipped with memory for maximum and minimum measured values. Press the ▲/MEM button repeatedly to display the maximum and minimum measured values of the indoor and outdoor temperature and relative humidity. MAX or MIN is displayed on the display. Press and hold ▲/MEM for 3 seconds to erase the memory.
The memory is also automatically erased at 00:00 every day
ALARMS FOR THE UPPER AND LOWER LIMITS OF THE OUTDOOR TEMPERATURE
For the outdoor temperature it is possible to set the upper and lower limit alarm in the range from -40 °C to + 70 °C, separately for each channel.
Select the required channel with the CHANNEL button. Press and hold the ALERT button on the rear of the
main unit for 3 s. The icon is displayed and the upper temperature limit value starts flashing. Use the ▲/MEM or ▼/CF buttons to set the required temperature upper limit. Press the ALERT button briefly.
The icon is displayed and the lower temperature limit value starts flashing. Use the ▲/MEM or ▼/CF buttons to set the required temperature. If you hold the ▲/MEM or ▼/CF buttons, the values will change faster.
Press ALERT to confirm the setting.
Activating and deactivating the alarm
To activate or deactivate the high and low outside temperature alarm, briefly press the ALERT button.
When the alarm is activated, the main unit display shows the icon
As soon as the set temperature of the upper or lower outdoor temperature limit has been reached, a beep sounds and icon or and the temperature value will flash. The beep will repeat every minute.
You can disable the alarm by pressing the ALERT button.
ALARM CLOCK
Setting of alarm time
The weather station has the possibility to set the alarm for every day (MO-SU) or Monday to Friday (MOFR). In the basic display mode, press the ALARM button at the rear of the main unit and hold for 3 seconds. The alarm time will be displayed at the time spot and the hour will flash. Use the ▲/MEM or ▼/CF buttons to set the required wake-up hour and press ALARM briefly. Minutes will flash. Use the ▲/MEM or ▼/CF button to set the required wake-up minute. Next press of the ALARM button will flash MO-SU or MO-FR. Use the ▲/MEM or ▼/CF buttons to select MO-SU, (wake-up every day), or MO-FR (wake-up Monday to Friday). Press ALERT to confirm and save the setting.
The wake-up time can be shown in the basic display by briefly pressing the ALARM button. The current time will reappear automatically after 20 s or after pressing of the SET button briefly.
Activating and deactivating the alarm clock
Press the ALARM button briefly in the basic display mode to show the wake-up time. Press again to activate the alarm, the icon will show together with the selected alarm mode MO-SU or MO-FR; press again to deactivate the alarm. The icon and the selected alarm mode MO-SU / MO-FR will not be displayed.
Turning off alarm signal, Snooze function
As soon as the alarm signal is activated at the preset time, icon starts flashing. Press the button to move the alarm time by 5 minutes (Snooze). The alarm signal will be terminated and reactivated in 5 minutes. The icon and Z
Z will flash on the display. This function can be terminated at any time by pressing any button except . If you do not want the Snooze function, press the any button except to disable the alarm signal. Icon stops flashing and the next alarm will be activated in 24 hours.
If no button is pressed, the alarm signal will be turned off automatically after 2 minutes.
WEATHER FORECAST
The forecast is based on the change in barometric pressure, generally speaking when the barometric pressure rises, the weather improves and vice versa. The weather forecast is valid for the next 12 to 24 hours within
30 to 50 km with the probability of 70 to 75%.
The weather forecast is displayed using 6 icons
MOON PHASES
If the phase icon is not displayed, it is the new Moon.
DISPLAY BACKLIGHT
Press the button repeatedly if the main unit is powered with the AC Adapter. The backlight has three brightness levels.
On battery power only, pressing turns on the backlight for 10 s.
| problem | possible cause | solution |
| time is not adjusted by the DCF-77 signal, time is adjusted incorrectly | incorrectly set timezone
DCF-77 signal reception not on
DCF-77 signal interference | setting the correct timezone
turning the DCF-77 signal reception on
place the main unit away from other electrical equipment |
| the outdoor temperature and rel. humidity are not displayed | the connection between the main unit and the wireless sensor is not established
dead batteries in the wireless sensor | place the wireless sensor closer to the main unit
replace the batteries |
| the measured outdoor temperature and rel. humidity are not accurate | wireless sensor measurement is affected by ambient conditions | do not expose the wireless sensor to direct sunlight
place the wireless sensor in shade at a dry place |
SAFETY PRECAUTIONS
- Do not expose the device to excessive force, shocks, dust, temperature and humidity
- Do not cover the ventilation holes with any objects like newspapers, curtains, etc.
- Never immerse the device in water. If you spill liquid on it, dry it immediately with a soft, lint-free cloth
- Do not clean the device with abrasive or corrosive substances
- Do not handle the internal components of the device, as this will void your warranty
- Use only fresh batteries. Never mix fresh and old batteries
- Do not recharge the batteries. Place the station and its parts outside the reach of children
- Do not throw old batteries to unsorted municipal waste, but use the designated areas
- Dispose of this product in accordance with applicable regulations
- Use only accessories specified by the manufacturer
- Do not interfere with the internal circuits of the device, as this may void the warranty
- The technical specifications are subject to change without notice.
SPECIFICATION
Main unit
Power supply: power adaptor 230 V, 50 Hz, 90 mA / 4,5 V, 200 mA,
3 pcs batteries type AAA 1.5 V (micro)
Temperature measurement range: -10°C to +50°C
Accuracy of measurement: +/- 1°C
Resolution: 0.1°C
Humidity measurement range: 20% to 99%
Accuracy of measurement: +/- 5%
Resolution: 1%
Bar. pressure measurement range: 800 to 1100 hPa
Dimensions: 143 x 140 x 24 mm (without stand)
Wireless sensor GARNI 045H
Power supply: 2 pcs AAA 1.5 V batteries type (micro)
Temperature measurement range: -40°C to +70°C
Accuracy of measurement: +/- 1°C
Resolution: 0.1°C
Humidity measurement range: 20% to 99%
Accuracy of measurement: +/- 5%
Resolution: 1%
Transmission frequency: 433 MHz
Maximum RF output: 10 dBm (10 mW)
Data transmission interval: 50 s
Range: up to 80 m in open space
Dimensions: 59 x 95 x 25 mm (without stand)]\
GARNI technology a.s. hereby declares that the type of the radio equipment – weather station type GARNI 525 conforms to the Directive 2014/53/EU. The full EU Declaration of Conformity is available on the following website: www.garni-meteo.cz

Display of the main unit




















